
Rīgā 2006.gada 1.augustā (prot. Nr.40 29.§)
un likuma "Par piesārņojumu" 11.panta otrās daļas 4.punktu
Izdarīt Ministru kabineta 2002.gada 23.aprīļa noteikumos Nr.163 "Noteikumi par trokšņa emisiju no iekārtām, kuras izmanto ārpus telpām" (Latvijas Vēstnesis, 2002, 64., 190.nr.; 2004, 68.nr.; 2006, 26.nr.) šādus grozījumus:
1. Papildināt noteikumus ar 2.1punktu šādā redakcijā:
"2.1 Iekārtu radīto skaņas jaudas līmeni nosaka, pamatojoties uz Eiropas Parlamenta un Padomes 2000.gada 8.maija Direktīvas 2000/14/EK par dalībvalstu tiesību aktu tuvināšanu attiecībā uz trokšņa emisiju vidē no iekārtām, kas paredzētas izmantošanai ārpus telpām (Eiropas Savienības Oficiālais Vēstnesis L 162, 03.07.2000, 287.-364.lpp.), III pielikumu (1.1pielikums)."
2. Izteikt 3.2.apakšpunktu šādā redakcijā:
"3.2. marķēta ar CE marķējumu un norādi par garantēto skaņas jaudas līmeni, kas noteikts saskaņā ar šo noteikumu 1.1pielikumu."
3. Izteikt 4.punktu šādā redakcijā:
"4. Šajos noteikumos minētās pārbaudes veic
saskaņā ar šo noteikumu
1.1 pielikumu."
4. Aizstāt 12.8.apakšpunktā skaitli un vārdus "4.punktā minētajiem standartiem" ar skaitļiem un vārdiem "1.1pielikumā minētajām prasībām".
5. Aizstāt 17.punkta pirmajā teikumā skaitli un vārdus "4.punktā minētajos standartos attiecīgajam iekārtas tipam noteiktos trokšņa mērījumus vai līdzvērtīgus testus" ar skaitļiem un vārdiem "1.1 pielikumā noteiktos trokšņa mērījumus attiecīgajam iekārtas tipam".
6. Papildināt noteikumus ar 1.1pielikumu šādā redakcijā (pielikums).
7. Aizstāt 2.pielikuma 7.punkta trešajā ailē skaitli un simbolus "10 > Pel" ar skaitli un simboliem "Pel > 10".
Vides ministrs R.Vējonis
Pielikums
Ministru kabineta
2006.gada 1.augusta noteikumiem Nr.629
"1.1pielikums
Ministru kabineta
2002.gada 23.aprīļa noteikumiem Nr.163
Gaisa vadīta trokšņa mērīšanas metode, ko emitē iekārta, kura paredzēta izmantošanai ārpus telpām
Darbības joma
Šajā pielikumā izklāstītas gaisa vadīta trokšņa mērīšanas metodes, ko izmanto, lai noteiktu skaņas intensitātes līmeņus iekārtām, uz kurām attiecas šī direktīva, šīs direktīvas atbilstības novērtēšanas procedūru sakarā.
Šā pielikuma A daļā katram direktīvas Eiropas Parlamenta un Padomes 2000.gada 8.maija Direktīvas 2000/14/EK par dalībvalstu tiesību aktu tuvināšanu attiecībā uz trokšņa emisiju vidē no iekārtām, kas paredzētas izmantošanai ārpus telpām, III pielikumu 2. panta 1. punktā (šo noteikumu 1. pielikumā) minēto iekārtu veidam nosaka
- trokšņa emisijas pamatstandartus,
- šo trokšņa emisijas pamatstandartu vispārīgus papildinājumus
skaņas spiediena līmeņa mērīšanai uz avotu aptverošās mērvirsmas un avota radītās skaņas intensitātes līmeņa aprēķināšanai.
Šā pielikuma B daļā katram direktīvas Eiropas Parlamenta un Padomes 2000.gada 8.maija Direktīvas 2000/14/EK par dalībvalstu tiesību aktu tuvināšanu attiecībā uz trokšņa emisiju vidē no iekārtām, kas paredzētas izmantošanai ārpus telpām, III pielikumu 2. panta 1. punktā (šo noteikumu 1. pielikumā) minēto iekārtu veidam nosaka
- ieteicamo trokšņa emisijas pamatstandartu, ieskaitot
- atsauci uz trokšņa emisijas pamatstandartu, ko izvēlas A daļā,
- testa laukumu,
- konstantes K2A vērtību,
- mērvirsmas formu,
- izmantojamo mikrofonu skaitu un novietojumu,
- darba apstākļus, ieskaitot
- atsauci uz standartu, ja tāds ir,
- prasības attiecībā uz iekārtas uzstādīšanu,
- metodi, lai aprēķinātu radītos skaņas intensitātes līmeņus, ja atsevišķus testus veic citādos darbības apstākļos,
- papildu informāciju.
Ražotājs vai viņa pilnvarots pārstāvis Kopienā, testējot īpašus iekārtu veidus, var izvēlēties vienu A daļas trokšņa emisijas pamatstandartu un piemērot šim īpašajam iekārtas veidam B daļas darbības apstākļus. Tomēr strīda gadījumā ieteicamais trokšņa emisijas pamatstandarts, kas noteikts B daļā, jāizmanto kopā ar B daļas darbības apstākļiem.
A daļa. Trokšņa emisijas pamatstandarts
Lai noteiktu skaņas intensitātes līmeni direktīvas Eiropas Parlamenta un Padomes 2000.gada 8.maija Direktīvas 2000/14/EK par dalībvalstu tiesību aktu tuvināšanu attiecībā uz trokšņa emisiju vidē no iekārtām, kas paredzētas izmantošanai ārpus telpām, III pielikumu 2. panta 1. punktā (šo noteikumu 1. pielikumā) definētajām iekārtām, kas paredzētas izmantošanai ārpus telpām, parasti var izmantot trokšņa emisijas pamatstandartus
EN ISO 3744:1995 un
EN ISO 3746:1995,
ievērojot šādus vispārīgus papildinājumus.
1. Mērījuma nenoteiktība
Mērījumu nenoteiktības nav ņemtas vērā atbilstības novērtēšanas procedūrās projektēšanas fāzē.
2. Trokšņa avota darbība testa laikā
2.1. Ventilatora apgriezienu skaits
Ja iekārtas dzinējs vai tās hidrauliskā sistēma ir aprīkoti ar ventilatoru(-iem), tad tam (tiem) jādarbojas testa laikā. Saskaņā ar vienu no turpmākiem nosacījumiem ventilatora apgriezienu skaitu ir noteicis un norādījis iekārtas ražotājs, un tas jāparāda pārbaudes protokolā; šo apgriezienu skaitu izmanto turpmākajos mērījumos.
a) Ventilatora piedziņa tieši pievienota dzinējam
Ja ventilatoru piedziņa ir tieši pievienota dzinējam un/vai hidrauliskajai iekārtai (piemēram, ar siksnas piedziņu), tad tam jādarbojas testa laikā.
b) Ventilatoru piedziņa ar dažādu noteiktu apgriezienu skaitu
Ja ventilators var darboties ar dažādu noteiktu apgriezienu skaitu, tad testu veic vai nu
- ar maksimālo darbības apgriezienu skaitu, vai
- pirmajā testā ar ventilatoru miera stāvoklī un otrajā testā ar maksimālo apgriezienu skaitu. Radīto skaņas spiediena līmeni LpA aprēķina, apvienojot abu testu rezultātus ar šādu vienādojumu:
kur:
LpA,0 % ir skaņas spiediena līmenis, kas noteikts ventilatoram miera stāvoklī;
LpA,100 % ir skaņas spiediena līmenis, kas noteikts ventilatoram ar maksimālo apgriezienu skaitu.
c) Ventilatora piedziņa ar pastāvīgi mainīgu apgriezienu skaitu
Ja ventilators var darboties ar pastāvīgi mainīgu apgriezienu skaitu, tad testu veic saskaņā ar 2.1.b) punktu vai ar ventilatora apgriezienu skaitu vismaz 70 % no ražotāja noteiktā maksimālā apgriezienu skaita.
2.2. Nenoslogotas pašgājējas iekārtas tests
Lai veiktu šos mērījumus, iekārtas dzinējs un hidrauliskā sistēma jāiesilda saskaņā ar instrukcijām un jāievēro drošības prasības.
Testu veic ar iekārtu stacionārā stāvoklī, kad nedarbojas darba iekārta vai pārvietošanas mehānisms. Šajā testā dzinējs darbojas tukšgaitā ar nominālo apgriezienu skaitu, kas atbilst vismaz dzinēja lietderīgajai jaudai [1] .
Ja mašīnas dzinēju darbina ar ģenerators vai no elektrotīkla, ražotāja norādītās motoram piegādātās strāvas frekvences stabilitāte ir ± 1 Hz, ja mašīna ir aprīkota ar indukcijas motoru, un barošanas sprieguma novirze no nominālā sprieguma ir ± 1 %, ja mašīna ir aprīkota ar komutācijas motoru. Barošanas spriegumu mēra pie neatdalāma kabeļa vai auklas kontaktdakšas vai mašīnas pievades, ja izmanto atdalāmu kabeli. Ģeneratora strāvas frekvence ir līdzīga tai, ko iegūst no elektrotīkla.
Ja mašīnu darbina akumulators, tam ir jābūt pilnīgi uzlādētam.
Ātrumu testa laikā un tam atbilstošo dzinēja lietderīgo jaudu ir norādījis iekārtas ražotājs, un tas ir jāparāda testa pārbaudes protokolā.
Ja iekārta ir aprīkota ar vairākiem dzinējiem, tad tiem testu laikā jādarbojas vienlaicīgi. Ja tas nav iespējams, tad jātestē katra iespējamā dzinēju kombinācija.
2.3. Noslogotas pašgājējas iekārtas tests
Lai veiktu šos mērījumus, dzinējs (piedziņas iekārta) un hidrauliskā sistēma jāiesilda saskaņā ar instrukcijām un jāievēro drošības prasības. Testa laikā nedrīkst darboties neviena signalizācijas ierīce, piemēram, brīdinājuma signāltaure vai atpakaļgaitas brīdinājuma signāls.
Iekārtas apgriezienu skaits vai ātrums ir jāreģistrē testa laikā un jāparāda pārbaudes protokolā.
Ja iekārta ir aprīkota ar vairākiem dzinējiem un/vai agregātiem, tad tiem testu laikā jādarbojas vienlaicīgi. Ja tas nav iespējams, tad jātestē katra iespējamā dzinēju un/vai agregātu kombinācija.
Katram iekārtas veidam, kas jātestē noslogots, jānosaka īpaši darbības apstākļi, kuri principā rada sekas un stresus, kas līdzinās faktiskiem darba apstākļiem.
2.4. Ar roku darbināmu iekārtu tests
Vispārpieņemtos darbības nosacījumus ar roku darbināmu iekārtu katram veidam nosaka tā, lai tie radītu sekas un stresus, kas ir līdzinātos faktiskiem darba apstākļiem.
3. Virsmas skaņas spiediena līmeņa aprēķināšana
Virsmas skaņas spiediena līmeni nosaka vismaz trīs reizes. Ja vismaz divas noteiktās vērtības neatšķiras vairāk kā par 1 dB, tad turpmāki mērījumi nav vajadzīgi; Pretējā gadījumā turpina mērīt, kamēr iegūst divas vērtības, kuras neatšķiras vairāk kā par 1 dB. A-novērtētais virsmas skaņas spiediena līmenis, ko izmanto skaņas intensitātes līmeņa aprēķināšanai, ir to divu vērtību aritmētiskā vidējā vērtība, kuras neatšķiras vairāk kā par 1 dB.
4. Sniedzamā informācija
Testētā trokšņa avota A-novērtēto skaņas intensitātes līmeni noapaļo līdz tuvākajam veselam skaitlim (ja mazāks par 0,5, tad izmanto mazāko skaitli; ja vienāds ar vai lielāks par 0,5, tad izmanto lielāko skaitli).
Ziņojumā iekļauj vajadzīgos tehniskos datus, lai identificētu testēto trokšņu avotu, kā arī trokšņa testa kodu un akustiskos datus.
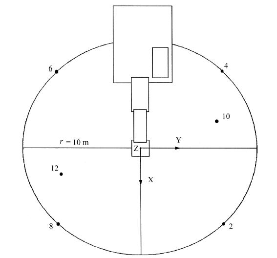
5. Papildu mikrofona pozīcijas uz puslodes veida mērvirsmas (EN ISO 3744:1995)
Papildus EN ISO 3744:1995 7.2.1. un 7.2.2. klauzulai uz puslodes veida mērvirsmas var izmanto 12 mikrofonu tīklu. Dekarta koordinātes 12 mikrofona pozīciju izvietojumam uz puslodes virsmas ar rādiusu r ir uzskaitītas tabulā. Puslodes rādiuss r ir vienāds vismaz ar divām standartparalēlskaldņa lielākajām dimensijām. Standartparalēlskaldnis ir definēts kā vismazākais taisnstūra paralēlskaldnis, kas aptver iekārtu (bez fiksētājierīcēm) un beidzas uz atstarojošās virsmas. Puslodes rādiusu noapaļo uz augšu līdz tuvākajam veselam skaitlim: 4, 10, 16 m.
Mikrofonu skaitu (12) var samazināt līdz sešiem, bet, ievērojot EN ISO 3744:1995 7.4.2. klauzulas prasības, vienmēr jāizmanto mikrofona pozīcijas 2, 4, 6, 8, 10 un 12.
Parasti mikrofoni jānovieto sešās vietās uz puslodes veida mērvirsmas. Ja šajā direktīvā īpašai iekārtai trokšņa testa kodā ir noteiktas citas specifikācijas, tad izmanto šīs specifikācijas.
Tabula
12 mikrofona pozīciju koordinātes
|
Mikrofona numurs |
x/r |
y/r |
z |
|
1 |
1 |
0 |
1,5 m |
|
2 |
0,7 |
0,7 |
1,5 m |
|
3 |
0 |
1 |
1,5 m |
|
4 |
- 0,7 |
0,7 |
1,5 m |
|
5 |
- 1 |
0 |
1,5 m |
|
6 |
- 0,7 |
- 0,7 |
1,5 m |
|
7 |
0 |
- 1 |
1,5 m |
|
8 |
0,7 |
- 0,7 |
1,5 m |
|
9 |
0,65 |
0,27 |
0,71 r |
|
10 |
- 0,27 |
0,65 |
0,71 r |
|
11 |
- 0,65 |
- 0,27 |
0,71 r |
|
12 |
0,27 |
- 0,65 |
0,71 r |
6. Virsmas korekcija K2A
Iekārtu mēra uz betona vai neporaina asfalta atstarojošās virsmas, tad ir noteikta vides korekcija K2A = 0. Ja šajā direktīvā īpašai iekārtai trokšņa testa kodā ir noteiktas citas specifikācijas, tad izmanto šīs specifikācijas.
Zīmējums
Papildu mikrofonu izvietojums uz puslodes (12 mikrofona pozīcijas)
B daļa. Īpašu iekārtu trokšņa testa kodi
0. Iekārta, ko testē bez slodzes
Trokšņa emisijas pamatstandarts
EN ISO 3744:1995
Testa laukums
Betona vai neporaina asfalta atstarojošā virsma
Virsmas korekcija K2A
K2A = 0
Mērvirsma/mikrofona pozīcijas numurs/mērīšanas attālums
i) Ja lielākais standartparalēlskaldņa izmērs nepārsniedz 8 m:
puslode/sešas mikrofona pozīcijas saskaņā ar A daļas 5. punktu/saskaņā ar A daļas 5. punktu.
ii) Ja lielākais standartparalēlskaldņa izmērs pārsniedz 8 m:
paralēlskaldnis saskaņā ar ISO 3744:1995 ar mērīšanas attālumu d = 1 m.
Darbības apstākļi testa laikā
Tests bez slodzes
Trokšņa testus veic saskaņā ar A daļas 2.2. punktu.
Novērošanas periods(-i)/radītā skaņas intensitātes līmeņa noteikšana, ja ir vairāki darbības apstākļi
Novērošanas periods ir vismaz 15 sekundes.
1. Gaisvadu piekļūšanas platformas ar iekšdedzes dzinēju
Skatīt Nr. 0.
2. Krūmgrieži
Trokšņa emisijas pamatstandarts
EN ISO 3744:1995
Testa laukums
ISO 10884:1995
Mērvirsma/mikrofona pozīcijas numurs/mērīšanas attālums
ISO 10884:1995
Darbības apstākļi testa laikā
Tests pie slodzes
ISO 10884:1995 5.3. punkts.
Novērošanas periods(-i)
ISO 10884:1995
3. Celtniecības pacēlāji kravu transportēšanai
Skatīt Nr. 0.
Dzinēja ģeometriskais centrs atrodas virs puslodes centra; lifts pārvietojas bez kravas un atstāj puslodi - ja vajadzīgs - 1. punkta virzienā.
4. Būvlaukuma lentzāģi
Trokšņa emisijas pamatstandarts
EN ISO 3744:1995
Mērvirsma/mikrofona pozīcijas numurs/mērīšanas attālums
ISO 7960:1995 J pielikums, d = 1 m.
Darbības apstākļi testa laikā
Tests pie slodzes
Atbilst ISO 7960:1995 J pielikumam (tikai J2.b punkts).
Novērošanas periods
Atbilst ISO 7960:1995 J pielikumam.
5. Būvlaukuma ripzāģi
Trokšņa emisijas pamatstandarts
EN ISO 3744:1995
Mērvirsma/mikrofona pozīcijas numurs/mērīšanas attālums
ISO 7960:1995 A pielikums, mērīšanas attālums d = 1 m.
Darbības apstākļi testa laikā
Tests pie slodzes
ISO 7960:1995 A pielikums (tikai A2.b punkts).
Novērošanas periods
ISO 7960:1995 A pielikums.
6. Pārnēsājami ķēdes zāģi
Trokšņa emisijas pamatstandarts
EN ISO 3744:1995
Testa laukums
ISO 9207:1995
Mērvirsma/mikrofona pozīcijas numurs/mērīšanas attālums
ISO 9207:1995
Darbības apstākļi testa laikā
Tests pie slodzes/Tests bez slodzes
Koka zāģēšana pie pilnas slodzes/dzinējs ar maksimālo apgriezienu skaitu bez slodzes
a) iekšdedzes dzinēja piedziņa: ISO 9207:1995 6.3. un 6.4. punkts,
b) ar elektromotoru: tests, kas atbilst ISO 9207:1995 6.3. punktam un tests ar motora maksimālo apgriezienu skaitu bez slodzes.
Novērošanas periods(-i)/radītā skaņas intensitātes līmeņa noteikšana, ja ir vairāki darbības apstākļi
ISO 9207:1995 6.3. un 6.4. punkts.
Radīto skaņas intensitātes līmeni LWA aprēķina:
,
kur LW1 un LW2 ir divu iepriekš definēto dažādu darbības veidu vidējais skaņas intensitātes līmenis.
7. Apvienotie augstspiediena skalošanas un iesūkšanas transportlīdzekļi
Ja ir iespējas darbināt abas iekārtas vienlaicīgi, tad to dara saskaņā ar Nr. 26. un Nr. 52. Ja nav, tad tās mēra atsevišķi un jānosaka augstākās vērtības.
8. Blīvēšanas mašīnas
i) Nevibrējoši veltņi
Skatīt Nr. 0.
ii) Sēdoša operatora vadīti vibrējoši veltņi
Trokšņa emisijas pamatstandarts
EN ISO 3744:1995
Darbības apstākļi testa laikā
Iekārtas uzstādīšana
Vibrējošu veltni uzstāda uz piemērota elastīga materiāla(-iem), tādas kā gaisa blīves(-ēm). Šīs gaisa blīves ir izgatavotas no mīksta materiāla (elastomēra vai tamlīdzīga) un piepūstas līdz spiedienam, kas nodrošina to, ka mašīna ir pacelta vismaz par 5 cm; novērš rezonansi. Blīves(-ju) izmēri nodrošina mašīnas stabilitāti testa laikā
Tests pie slodzes
Mašīnu testē stacionārā stāvoklī, kad dzinējs darbojas ar nominālo apgriezienu skaitu (norādījis ražotājs) un izslēgtu kustības mehānismu(-iem). Sablīvēšanas mehānisms darbojas ar maksimālo sablīvēšanas jaudu, kas atbilst ražotāja norādītai augstākās frekvences un šai frekvencei atbilstošās amplitūdas kombinācijai.
Novērošanas periods
Novērošanas periods ir vismaz 15 sekundes.
iii) Vibroplāksnes, vibroblietes, eksplozīvas blietes un ejoša operatora vadīti vibrējoši veltņi
Trokšņa emisijas pamatstandarts
EN ISO 3744:1995
Testa laukums
EN 500-4 rev. 1:1998 C pielikums
Darbības apstākļi testa laikā
Tests pie slodzes
EN 500-4 rev. 1:1998 C pielikums
Novērošanas periods
EN 500-4 rev. 1:1998 C pielikums
9. Kompresori
Trokšņa emisijas pamatstandarts
EN ISO 3744:1995
Mērvirsma/mikrofona pozīcijas numurs/mērīšanas attālums
puslode/sešas mikrofona pozīcijas saskaņā ar A daļas 5. punktu/saskaņā ar A daļas 5. punktu
vai
paralēlskaldnis saskaņā ar ISO 3744:1995 ar mērīšanas attālumu d = 1 m.
Darbības apstākļi testa laikā
Iekārtas uzstādīšana
Kompresorus uzstāda uz atstarojošas virsmas; pārvietojamus kompresorus novieto uz 0,40 m augsta paliktņa, ja vien ražotāja uzstādīšanas nosacījumos nav paredzēts citādi.
Tests pie slodzes
Kompresors testa laikā ir iesildīts un darbojas stabilos apstākļos kā pastāvīgā ekspluatācijā. Tam veic pienācīgu apkopi un to eļļo pēc ražotāja norādījumiem.
Skaņas intensitātes līmeni nosaka pie pilnas slodzes vai tādos darbības apstākļos, kas ir atkārtojami un tipiskas trokšņainākās testējamās mašīnas trokšņainākās darbības paraugs.
Ja ir tāds uzņēmuma plānojums, ka atsevišķas iekārtas, piemēram, starpdzesinātāji ir uzstādīti atstatus no kompresora, tad, veicot trokšņa testu, cenšas atdalīt šo iekārtu radītos trokšņus. Lai atdalītu dažādu trokšņu avotus, var būt nepieciešamas speciālas iekārtas šo avotu trokšņu vājināšanai mērīšanas laikā. Šādu sastāvdaļu trokšņu raksturlielumus un darbības apstākļu aprakstu testa pārskatā norāda atsevišķi.
Testa laikā no kompresora izplūdušās gāzes pilnīgi nosūc no testa laukuma. Jārūpējas par to, lai nodrošinātu, ka izplūdušās gāzes radītais troksnis ir vismaz 10 dB mazāks nekā troksnis, ko mēra visās mērīšanas vietās (piemēram, uzstādot trokšņa slāpētāju).
Jārūpējas par to, lai kompresora izplūde vārsta turbulences dēļ gaisa izplūšana neradītu nekādu papildu troksni.
Novērošanas periods
Novērošanas periods ir vismaz 15 sekundes.
10. Rokā turami betona drupinātāji un cērtes
Trokšņa emisijas pamatstandarts
EN ISO 3744:1995
Mērvirsma/mikrofona pozīcijas numurs/mērīšanas attālums
Puslode/sešas mikrofona pozīcijas saskaņā ar A daļas 5. punktu un tabulu/ atkarībā no iekārtas masas norādītas tabula.
|
Iekārtas masa m (kg) |
Puslodes rādiuss |
Mikrofona pozīciju 2, 4, 6 un 8 z koordinātes |
|
m < 10 |
2 m |
0,75 m |
|
m > 10 |
4 m |
1,50 m |
Darbības apstākļi testa laikā
Iekārtas uzstādīšana
Visas ierīces testē vertikālā stāvoklī.
Ja no testa ierīces izplūst gaiss, tad tās asīm jāatrodas vienādā attālumā no divu mikrofonu pozīcijām. Energoapgādes trokšņi nedrīkst ietekmēt testējamās ierīces trokšņa emisijas mērīšanu.
Ierīces stiprinājums
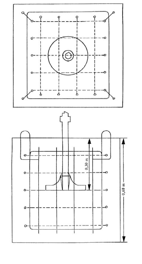
Ierīci testa laikā savieno ar rīku, kas iebetonēts zemē ieraktā kubveida betona bluķī, kurš ievietots betona šahtā. Starp ierīci un atbalsta rīku testu laikā var iestiprināt tērauda starpposmu. Starpposms veido stabilu struktūru starp ierīci un atbalsta rīku. Šīs prasības ir ietvertas 10.1. zīmējumā.
Bluķa parametri
Bluķim ir pēc iespējas regulāra kuba forma ar malas garumu 0,60 m ± 2 mm; tas ir izgatavots no dzelzsbetona 0,20 m biezos slāņos ar pamatīgu vibrāciju, lai novērstu pārmērīgu noslāņošanos,.
Betona kvalitāte
Betona kvalitāte atbilst ENV 206 C 50/60.
Kubu pastiprina ar nesaistītiem tērauda stieņiem 8 mm diametrā; konstrukcija ir attēlota 10.2. zīmējumā.
Atbalsta rīks
Rīks ir cieši iestiprināts bluķī un sastāv no blietes, kas nav mazāka par 178 mm vai lielāka par 220 mm diametrā, un rīka spīļpatronas, kura atbilst parasti izmantotajai patronai testēt paredzētajā ierīcē, un atbilst ISO 1180:1983, bet ir pietiekami gara, lai praktiski varētu veikt testu.
Rīkojas atbilstoši, lai integrētu abas sastāvdaļas. Rīku bluķī iestiprina tā, lai blietes apakša atrastos 0,30 m no bluķa augšējās virsmas (skatīt 10.2. zīmējumu).
Bluķis paliek mehāniski nebojāts, jo īpaši atbalsta rīka un betona saskares vietā. Pirms un pēc katra testa pārliecinās par to, ka betona bluķī cieši iestiprinātais rīks ir integrēts ar to.
Kuba novietošana
Kubu novieto pilnīgi cementētā šahtā, pārsedz ar ekrānplāksni vismaz 100 kg/m2, kā norādīts 10.3. zīmējumā, lai ekrānplāksnes augšējā virsma ir apbērta ar zemi. Lai novēstu fona trokšņus, bluķi no šahtas apakšas un malām izolē ar elastīgiem klucīšiem, kuru robežfrekvence nepārsniedz pusi no testējamās ierīces sitienu ātruma, izteikta ar sitienu skaitu sekundē.
Ekrānplāksnes caurums, caur kuru iziet rīka spīļpatrona, ir pēc iespējas mazāks un cieši noslēgts ar elastīgu, skaņu izolējošu savienojumu.
Tests pie slodzes
Testējamo ierīci pievieno pie atbalsta rīka.
Testa ierīci darbina stabilos apstākļos un ar tādu pašu akustisko stabilitāti kā normālā ekspluatācijā.
Testa ierīce darbojas ar maksimālo jaudu, kāda norādīta pircējam sniegtajās instrukcijās.
Novērošanas periods
Novērošanas periods ir vismaz 15 sekundes.
10.1. zīmējums
Starpposma shematiskā diagramma
10.2. zīmējums
Testa bluķis
10.3. zīmējums
Testēšanas ierīce
A vērtībai vajadzētu būt tādai kā ekrānplāksnei, kas novietota uz elastīga savienojuma J un apbērta ar zemi.
11. Betona vai javas maisītāji
Trokšņa emisijas pamatstandarts
EN ISO 3744:1995
Darbības apstākļi testa laikā
Tests pie slodzes
Maisīšanas ierīci (tvertni) līdz nominālajai ietilpībai piepilda ar smiltīm, kuru granulu izmērs 0 līdz 3 mm un mitrums 4 līdz 10 %.
Maisīšanas ierīce darbojas vismaz ar nominālo apgriezienu skaitu.
Novērošanas periods
Novērošanas periods ir vismaz 15 sekundes.
12. Celtniecības vinčas
Skatīt Nr. 0.
Dzinēja ģeometriskais centrs atrodas virs puslodes centra; vinča ir pieslēgta, bet bez slodzes.
13. Betona un javas pievades un padeves mašīnas
Trokšņa emisijas pamatstandarts
EN ISO 3744:1995
Darbības apstākļi testa laikā
Ja mašīna ir aprīkota ar manipulatoru, tas ir novietots stāvus, un caurule to savieno ar uzpildes piltuvi. Ja tas tā nav, tad mašīnu aprīko ar horizontālu vismaz 30 m garu cauruli, kas ir savienota ar uzpildes piltuvi.
Tests pie slodzes
i) Mašīnas, kas pievada un padod betonu.
Pievades sistēmu un cauruli piepilda ar betonam līdzīgu vielu, cementu aizstājot ar piejaukumu, piemēram, smalkiem pelniem. Mašīna darbojas ar maksimālo jaudu, vienam darba ciklam ilgstot ne vairāk kā 5 sekundes (ja šo laiku pārsniedz, tad "betonam" pielej ūdeni, lai sasniegtu šo lielumu).
i) Mašīnas, kas pievada un padod javu.
Pievades sistēmu un cauruli piepilda ar beigu javai līdzīgu vielu, cementu aizstājot ar piejaukumu, piemēram, metilcelulozi. Mašīna darbojas ar maksimālo jaudu, vienam darba ciklam ilgstot ne vairāk kā 5 sekundes (ja šo laiku pārsniedz, tad "javai" pielej ūdeni, lai sasniegtu šo lielumu).
Novērošanas periods
Novērošanas periods ir vismaz 15 sekundes.
14. Transportiera lentes
Skatīt Nr. 0.
Dzinēja ģeometriskais centrs atrodas virs puslodes centra; lenta pārvietojas bez kravas un atstāj puslodi, ja vajadzīgs, 1. punkta virzienā.
15. Transportlīdzekļu dzesēšanas iekārtas
Trokšņa emisijas pamatstandarts
EN ISO 3744:1995
Darbības apstākļi testa laikā
Tests pie slodzes
Dzesēšanas iekārtu uzstāda īstā vai modelētā kravas telpā un testē stacionārā stāvoklī, un dzesēšanas iekārtas augstums atbilst paredzētajām uzstādīšanas prasībām saskaņā ar pircējam sniegtajām instrukcijām. Dzesēšanas iekārtas piedziņa darbojas tā, lai radītu instrukcijās norādīto dzesēšanas kompresora un ventilatora maksimālo ātrumu. Ja paredzēts dzesēšanas iekārtu darbināt ar transportlīdzekļa dzinēju, tad testa laikā dzinēju neizmanto un dzesēšanas iekārtai nodrošina piemērotu elektrisko piedziņu. Pārvietojamu velkošo transportlīdzekli testa laikā aizvāc prom.
Dzesēšanas iekārtu, kas uzstādīta kravas telpas saldēšanas iekārtā un kam ir dažādu piedziņu izvēle, testē katrai piedziņai atsevišķi. Ziņojumā par testa rezultātiem obligāti apraksta to darbības režīmu, kas rada maksimālo troksni.
Novērošanas periods
Novērošanas periods ir vismaz 15 sekundes.
16. Buldozeri
Trokšņa emisijas pamatstandarts
EN ISO 3744:1995
Testa laukums
ISO 6395:1988
Mērvirsma/mikrofona pozīcijas numurs/mērīšanas attālums
ISO 6395:1988
Darbības apstākļi testa laikā
Iekārtas uzstādīšana
Kāpurķēžu buldozerus testē vietā, kas atbilst ISO 6395:1988 6.3.3. punktam.
Tests pie slodzes
ISO 6395:1988 B pielikums.
Novērošanas periods(-i) un apsvērumi par dažādiem darbības apstākļiem, ja tādi ir
ISO 6395:1988 B pielikums.
17. Urbšanas ietaises
Trokšņa emisijas pamatstandarts
EN ISO 3744:1995
Darbības apstākļi testa laikā
Tests pie slodzes
EN 791:1995 A pielikums.
Novērošanas periods
Novērošanas periods ir vismaz 15 sekundes.
18. Pašizgāzēji
Trokšņa emisijas pamatstandarts
EN ISO 3744:1995
Testa laukums
ISO 6395:1988
Mērvirsma/mikrofonu skaits/mērīšanas attālums
ISO 6395:1988
Darbības apstākļi testa laikā
Tests pie slodzes
Līdzvērtīgs ISO 6395:1998 C pielikumam ar šādu grozījumu.
C 4.3. otro daļu aizstāj ar:
"Dzinējs darbojas ar maksimālo apgriezienu skaitu tukšgaitā. Transmisija paliek neitrālā pozīcijā. Trīs reizes paceļ kausu izgāšanas stāvoklī aptuveni līdz 75 % no maksimālā gājiena un nolaiž pārvietošanas stāvoklī. Šo pasākumu secību uzskata par stacionārā hidrauliskā paņēmiena vienu ciklu.
Ja kausa pacelšanai dzinēja jaudu neizmanto, tad dzinējs darbojas tukšgaitā, transmisijai paliekot neitrālā stāvoklī. Mērīšanu veic bez kausa pacelšanas, un novērošanas periods ir 15 sekundes."
Novērošanas periods(-i)/radītā skaņas intensitātes līmeņa noteikšana, ja ir vairāki darbības apstākļi
ISO 6395:1988 C pielikums.
19. Iekārtas tvertņu vai cisternu iekraušanai kravas automobiļos un izkraušanai no tiem
Trokšņa emisijas pamatstandarts
EN ISO 3744:1995
Darbības apstākļi testa laikā
Tests pie slodzes
Iekārtu testējot, automobilis atrodas stacionārā stāvoklī. Dzinējs, kas darbina iekārtu, darbojas ar pircējam sniegtajās instrukcijās norādīto maksimālo jaudu.
Novērošanas periods
Novērošanas periods ir vismaz 15 sekundes.
20. Ekskavatori
Trokšņa emisijas pamatstandarts
EN ISO 3744:1995
Testa laukums
ISO 6395:1988
Mērvirsma/mikrofonu skaits/mērīšanas attālums
ISO 6395:1988
Darbības apstākļi testa laikā
Tests pie slodzes
ISO 6395:1988 A pielikums.
Novērošanas periods(-i)/radītā skaņas intensitātes līmeņa noteikšana, ja ir vairāki darbības apstākļi
ISO 6395:1988 A pielikums.
21. Krāvējekskavatori
Trokšņa emisijas pamatstandarts
EN ISO 3744:1995
Testa laukums
ISO 6395:1988
Mērvirsma/mikrofonu skaits/mērīšanas attālums
ISO 6395:1988
Darbības apstākļi testa laikā
Tests pie slodzes
ISO 6395:1988 D pielikums.
Novērošanas periods(-i)/radītā skaņas intensitātes līmeņa noteikšana, ja ir vairāki darbības apstākļi
ISO 6395:1988 D pielikums.
22. Stikla pārstrādes konteineri
Trokšņa emisijas pamatstandarts
EN ISO 3744:1995
Šim trokšņa testa kodam skaņas spiediens līmeņa mērīšanā mikrofona atrašanās vietās izmanto atsevišķa gadījuma skaņas spiediena līmeņa Lpls, kas definēts EN ISO 3744:1995 3.2.2. punktā.
Virsmas korekcija K2A
Mērīšana ārā.
K2A = 0
Mērīšana telpās
Konstantes K2A vērtība, ko nosaka saskaņā ar EN ISO 3744:1995 A pielikumu, ir < 2,0 dB un tādā gadījumā K2A neņem vērā.
Darbības apstākļi testa laikā
Troksni mēra pilnā ciklā, kas sākas ar tukšu konteineru un beidzas tad, kad konteinerā ir iemestas 120 pudeles.
Stikla pudeles definē šādi:
- tilpums - 75 cl,
- masa - 370 ± 30 g.
Testa veicējs tur katru pudeli aiz kakla ar apakšu pret iepildīšanas atveri un tad uzmanīgi iegrūž to caur iepildīšanas atveri konteinera centra virzienā, ja iespējams, novēršot pudeles atsišanos pret sienām. Pudeles iemet tikai caur vienu iepildīšanas atveri, kas ir tuvākā 12. mikrofonam.
Novērošanas periods(-i)/radītā skaņas intensitātes līmeņa noteikšana, ja ir vairāki darbības apstākļi
Katrai konteinerā iemestajai pudelei atsevišķa gadījuma A-novērtēto skaņas spiediena līmeni mēra vienlaicīgi sešās mikrofona pozīcijās.
Atsevišķa gadījuma A-novērtēto skaņas intensitātes līmeni virs mērvirsmas vidēji aprēķina saskaņā ar EN ISO 3744: 1995, 8.1. punktu.
Atsevišķa gadījuma vidējo A-novērtēto skaņas spiediena līmeni visām 120 iemestajām pudelēm aprēķina kā logaritmisko vidējo vērtību no atsevišķa gadījuma vidējā A-novērtētā skaņas spiediena līmeņa virs mērvirsmas.
23. Greideri
Trokšņa emisijas pamatstandarts
EN ISO 3744:1995
Testa laukums
ISO 6395:1988
Mērvirsma/mikrofonu skaits/mērīšanas attālums
ISO 6395:1988
Darbības apstākļi testa laikā
Tests pie slodzes
Atbilst ISO 6395:1988 B pielikumam.
Novērošanas periods(-i)/radītā skaņas intensitātes līmeņa noteikšana, ja ir vairāki darbības apstākļi
ISO 6395:1988 B pielikums.
24. Zāliena apgriešanas mašīnas/zāliena malu apgriešanas mašīnas
Skatīt Nr. 2.
Ar piemērotu ierīci apgriešanas mašīnu novieto tā, lai griešanas ierīce atrastos virs puslodes centra. Zāliena apgriešanas mašīnu griešanas ierīces centrs atrodas aptuveni 50 mm virs zemes. Lai noregulētu griešanas asmeņus, zāliena malu apgriešanas mašīnas jānovieto pēc iespējas tuvāk testējamai virsmai.
25. Dzīvžogu apgriešanas mašīnas
Trokšņa emisijas pamatstandarts
EN ISO 3744:1995
Testa laukums
ISO 11094:1991
Domstarpību gadījumā mērīšanu veic ārā uz mākslīgas virsmas (ISO 11094:1991 4.1.2. punkts).
Virsmas korekcija K2A
Mērīšana ārā.
K2A = 0
Mērīšana telpās.
Konstantes K2A vērtība, ko nosaka saskaņā ar EN ISO 3744:1995 A pielikumu, ir < 2,0 dB un tādā gadījumā K2A neņem vērā.
Mērvirsma/mikrofonu skaits/mērīšanas attālums
ISO 11094:1991
Darbības apstākļi testa laikā
Iekārtas uzstādīšana
Cilvēks vai piemērota ierīce notur dzīvžogu apgriešanas mašīnu parastajā izmantošanas veidā tā, lai griešanas ierīce atrastos virs puslodes centra.
Tests pie slodzes
Dzīvžogu apgriezējs darbojas ar griešanas ierīces nominālo darba ātrumu.
Novērošanas periods
Novērošanas periods ir vismaz 15 sekundes.
26. Augstspiediena asenizatori
Trokšņa emisijas pamatstandarts
EN ISO 3744:1995
Darbības apstākļi testa laikā
Tests pie slodzes
Augstspiediena asenizatoru testē stacionārā stāvoklī. Dzinējs un palīgiekārtas darbojas ar ražotāja paredzēto darba iekārtas ātrumu; augstspiediena sūknis(-ņi) darbojas ar ražotāja paredzēto maksimālo ātrumu un darbības spiedienu. Izmantojot pielāgotu sprauslu, spiediena samazināšanas ventilis ir tikai reakcijas punktā. Sprauslas plūsmas troksnis nekādi neietekmē mērījumu rezultātus.
Novērošanas periods
Novērošanas periods ir vismaz 30 sekundes.
27. Augstspiediena ūdensstrūklas mašīnas
Trokšņa emisijas pamatstandarts
EN ISO 3744:1995
Mērvirsma/mikrofonu skaits/mērīšanas attālums
Paralēlskaldnis saskaņā ar EN ISO 3744:1995 ar mērīšanas attālumu d = 1 m.
Darbības apstākļi testa laikā
Iekārtas uzstādīšana
Augsta spiediena ūdensstrūklas mašīnu uzstāda uz atstarojošās virsmas; pārvietojamas mašīnas novieto uz 0,40 m augsta paliktņa, ja vien ražotāja uzstādīšanas nosacījumos nav paredzēts citādi.
Tests pie slodzes
Augstspiediena tīrīšanas mašīnu nostāda stabilā stāvoklī, kā norādījis ražotājs. Testēšanas laikā sprauslu pievieno augsta spiediena tīrīšanas mašīnai, kas rada augstāko spiedienu, ja to izmanto saskaņā ar ražotāja instrukcijām.
Novērošanas periods
Novērošanas periods ir vismaz 15 sekundes.
28. Hidrauliskie āmuri
Trokšņa emisijas pamatstandarts
EN ISO 3744:1995
Mērvirsma/mikrofonu skaits/mērīšanas attālums
Puslode/sešas mikrofona pozīcijas saskaņā ar A daļas 5. punktu/r = 10 m.
Darbības apstākļi testa laikā
Iekārtas uzstādīšana
Veicot testu, āmuru pievieno balstiekārtai un izmanto īpašu testa bloka struktūru. Šī struktūra parādīta 28.1. zīmējumā un 28.2. zīmējumā parādīts balstiekārtas stāvoklis.
Balstiekārta
Testējamā āmura balstiekārta atbilst testējamā āmura tehnisko specifikāciju prasībām, jo īpaši attiecībā uz svara diapazonu, hidraulisko izejas jaudu, piegādātās eļļas plūsmu un atgriezes vada pretspiedienu.
Uzstādīšana
Mehāniskajai uzstādīšanai un savienojumiem (šļūtenēm, cauruļvadiem ...) jāatbilst āmura tehniskajām specifikācijām. Jānovērš visi ievērojami trokšņi, ko rada cauruļvadi un dažādas mehāniskas sastāvdaļas, kuras vajadzīgas uzstādīšanai. Visiem sastāvdaļu savienojumiem jābūt cieši savelkamiem.
Āmura stabilitāte un statiskais noturēšanas spēks
Balstiekārta āmuru notur stingri, lai stabilitāte būtu tāda pati kā parastos darbības apstākļos. Āmuram jādarbojas stateniski.
Darbarīks
Mērīšanai izmanto trulu darbarīku. Darbarīka garumam jāatbilst prasībām, kas norādītas 28.1. zīmējumā (testa bloks).
Tests pie slodzes
Hidrauliskā ieejas jauda un eļļas plūsma
Hidrauliskā āmura darbības apstākļus attiecīgi pielāgo, izmēra un paziņo kopā ar atbilstīgām tehnisko specifikāciju vērtībām. Testējamais āmurs jāizmanto tā, lai āmura maksimālā hidrauliskā ieejas jauda un eļļas plūsma varētu sasniegt 90 % vai vairāk.
Jāraugās, lai ps un Q mērījumu sērijas kopējā neprecizitāte būtu ± 5 %. Tas nodrošina hidrauliskās ieejas jaudas noteikšanu ar precizitāti ± 10 %. Pieņemot lineāru korelāciju starp hidraulisko ieejas jaudu un emitēto skaņas spiediena līmeni, skaņas intensitātes līmeņa noteikšanas vidējā novirze ir mazāka par ± 0,4 dB.
Regulējamas sastāvdaļas, kas ietekmē āmura jaudu
Sākumā visiem akumulatoriem, galvenajiem spiediena ventiļiem un citām iespējamām regulējamām sastāvdaļām jāatbilst tehnisko datu vērtībām. Ja vairāki paredzētie trieciena parametri nav obligāti, tad mēra, izmantojot visas ierīces. Norāda minimālo un maksimālo vērtību.
Mērāmie lielumi
ps - hidrauliskās piegādes spiediena vidējais lielums āmura darbības laikā, ieskaitot vismaz 10 sitienus;
Q - drupinātāja ieplūdes eļļas plūsmas vidējais lielums, ko mēra vienlaicīgi ar ps;
T - eļļas temperatūrai mērīšanas laikā jābūt starp + 40 °C un + 60 °C. Pirms sāk mērīšanu, hidrauliskā drupinātāja korpusa temperatūra jāstabilizē līdz parastai darbības temperatūrai;
Pa - pirms pildīšanas visu akumulatoru gāzes spiedieni jāmēra statiskā stāvoklī (drupinātājs nedarbojas) un stabilā apkārtējā temperatūrā + 15 °C līdz + 25 °C. Izmērītā apkārtējā temperatūra raksturo mērāmo akumulatora gāzes spiedienu pirms pildīšanas.
Parametri, kurus novērtē pēc izmērītajiem darbības parametriem
|
PIN Drupinātāja hidrauliskās ieejas jauda |
PIN = PS * Q |
Hidrauliskās piegādes vada spiediena mērījums, ps
- ps jāmēra iespējami tuvu drupinātāja IN pieslēguma vietai,
- ps mēra ar spiediena mērinstrumentu (minimālais diametrs 100 mm; precizitātes klase ± 1,0 % FSO).
Drupinātāja ieplūdes eļļas plūsma, Q
- Q jāmēra piegādes spiediena vadā iespējami tuvu drupinātāja IN pieslēguma vietai,
- Q jāmēra ar elektrisko caurplūduma mērītāju (precizitātes klase ± 2,5 % no plūsmas rādījuma).
Eļļas temperatūras (T) mērīšanas punkts
- T jāmēra pārvadātāja eļļas tvertnē vai āmuram pievienotajā hidrauliskajā vadā. Mērīšanas punktu norāda pārskatā,
- temperatūras nolasījuma precizitātei jābūt ± 2 °C no faktiskās vērtības.
Novērošanas periods/radītās skaņas intensitātes līmeņa noteikšana
Novērošanas periods ir vismaz 15 sekundes.
Vajadzības gadījumā mērīšanu atkārto trīs reizes vai vairāk. Gala rezultātu aprēķina kā to divu lielāko vērtību vidējo aritmētisko, kuras neatšķiras vairāk kā par 1dB.
28.1. attēls
28.2. attēls
Definīcijas
d - darbarīka diametrs (mm),
d1 - laktas diametrs, 1 200 ± 100 mm,
d2 - laktas atbalsta struktūra, iekšējais diametrs 1800 mm,
d3 - testa bloka grīdas diametrs, 2200 mm,
d4 - darbarīka atveres diametrs grīdā, 350 mm,
d5 - darbarīka blīvslēga diametrs, 1000 mm,
h1 - redzamais darbarīka attālums starp apvalka zemāko vietu un darbarīka blīvslēga augšējo virsmu (mm), h1 = d ± d/2,
h2 - darbarīka blīvslēga biezums virs grīdas, 20 mm (ja darbarīka blīvslēgs atrodas zem grīdas, tā biezums nav ierobežots; tas var būt izgatavots no putu kaučuka),
h3 - attālums starp grīdas augšējo virsmu un laktas augšējo virsmu, 250 ± 50 mm,
h4 - izolējošā putu kaučuka grīdas blīvslēga biezums, 30 mm,
h5 - laktas biezums, 350 ± 50 mm,
h6 - darbarīka iespiešanās, 50 mm.
Ja izmanto kvadrātveida testa bloka struktūru, maksimālais garuma izmērs ir 0,89 “ attiecīgais diametrs.
Tukšo telpu starp grīdu un laktu var aizpildīt ar elastīgu putu kaučuku vai citu absorbējošu materiālu, blīvums < 220 kg/m3.
29. Hidrauliskie spēka agregāti
Trokšņa emisijas pamatstandarts
EN ISO 3744:1995
Darbības apstākļi testa laikā
Iekārtas uzstādīšana
Hidraulisko spēka agregātu uzstāda uz atstarojošas virsmas; pārvietojamus hidrauliskos spēka agregātus novieto uz 0,40 m augsta paliktņa, ja vien ražotāja uzstādīšanas nosacījumos nav paredzēts citādi.
Tests pie slodzes
Testēšanas laikā hidrauliskajam spēka agregātam nepievieno nekādus darbarīkus.
Hidraulisko spēka agregātu nostāda stabilā stāvoklī, kā norādījis ražotājs. Tas darbojas ar nominālo ātrumu un nominālo spiedienu. Nominālais ātrums un spiediens ir norādīts pircējam sniegtajās instrukcijās.
Novērošanas periods
Novērošanas periods ir vismaz 15 sekundes.
30. Ceļu frēzmašīnas
Trokšņa emisijas pamatstandarts
EN ISO 3744:1995
Darbības apstākļi testa laikā
Tests pie slodzes
Ceļu frēzmašīnu aprīko ar iespējami lielāko asmeni, kā paredzējis ražotājs pircējam sniegtajās instrukcijās. Dzinējs darbojas ar maksimālo ātrumu un asmeni tukšgaitā.
Novērošanas periods
Novērošanas periods ir vismaz 15 sekundes.
31. Atkritumu presētāji
Skatīt Nr. 37.
32. Zāliena pļaujamās mašīnas
Trokšņa emisijas pamatstandarts
EN ISO 3744:1995
Testa laukums
ISO 11094:1991
Domstarpību gadījumā mērīšanu veic ārā uz mākslīgas virsmas (ISO 11094:1991 4.1.2. punkts).
Virsmas korekcija K2A
Mērīšana ārā.
K2A = 0
Mērīšana telpās.
Konstantes K2A vērtība, ko nosaka saskaņā ar EN ISO 3744:1995 A pielikumu, ir < 2,0 dB un tādā gadījumā K2A neņem vērā.
Mērvirsma/mikrofonu skaits/mērīšanas attālums
ISO 11094:1991
Darbības apstākļi testa laikā
Iekārtas uzstādīšana
Ja zāliena pļaujamās mašīnas riteņi spiež uz mākslīgās virsmas, kas ir lielāka par 1 cm, tad riteņus novieto uz atbalstiem tā, lai tie ir vienā līmenī ar mākslīgo virsmu pirms saspiešanas. Ja griešanas ierīci nevar atvienot no zāliena pļaujamās mašīnas piedziņas riteņiem, tad pļaujmašīnu testē uz atbalstiem, un griešanas ierīce darbojas ar ražotāja noteikto maksimālo ātrumu. Atbalstus sagatavo tā, lai tie neietekmē mērīšanas rezultātus.
Tests bez slodzes
ISO 11094:1991
Novērošanas periods
ISO 11094:1991
33. Zāliena apgriešanas mašīnas/zāliena malu apgriešanas mašīnas
Skatīt Nr. 32.
Ar piemērotu ierīci apgriešanas mašīnu novieto tā, lai griešanas ierīce atrastos virs puslodes centra. Zāliena apgriešanas mašīnu griešanas ierīces centrs atrodas aptuveni 50 mm virs zemes. Lai noregulētu griešanas asmeņus, zāliena malu apgriešanas mašīnas jānovieto pēc iespējas tuvāk testējamai virsmai.
34. Lapu pūtēji
Trokšņa emisijas pamatstandarts
EN ISO 3744:1995
Testa laukums
ISO 11094:1991
Domstarpību gadījumā mērīšanu veic ārā uz mākslīgas virsmas (ISO 11094:1991 4.1.2. punkts).
Virsmas korekcija K2A
Mērīšana ārā.
K2A = 0
Mērīšana telpās.
Konstantes K2A vērtība, ko nosaka saskaņā ar EN ISO 3744:1995 A pielikumu, ir £ 2,0 dB un tādā gadījumā K2A neņem vērā.
Mērvirsma/mikrofonu skaits/mērīšanas attālums
ISO 11094:1991
Darbības apstākļi testa laikā
Iekārtas uzstādīšana
Lapu pūtēju novieto parastā lietošanas veidā, lai tā pūšanas ierīce atrastos 50 ± 25 mm virs puslodes centra; ja lapu pūtējs ir turams rokā, to notur cilvēks vai piemērota ierīce.
Tests pie slodzes
Lapu pūtējs darbojas ar ražotāja noteikto nominālo ātrumu un nominālo gaisa plūsmu.
Novērošanas periods
Novērošanas periods ir vismaz 15 sekundes.
Piezīme. Ja lapu pūtēju var lietot arī kā lapu savācēju, tad to testē abās konfigurācijās un tādā gadījumā izmanto lielāko vērtību.
35. Lapu savācēji
Trokšņa emisijas pamatstandarts
EN ISO 3744:1995
Testa laukums
ISO 11094:1991
Domstarpību gadījumā mērīšanu veic ārā uz mākslīgas virsmas (ISO 11094:1991 4.1.2. punkts).
Virsmas korekcija K2A
Mērīšana ārā.
K2A = 0
Mērīšana telpās.
Konstantes K2A vērtība, ko nosaka saskaņā ar EN ISO 3744:1995 A pielikumu, ir < 2,0 dB un tādā gadījumā K2A neņem vērā.
Mērvirsma/mikrofonu skaits/mērīšanas attālums
ISO 11094:1991
Darbības apstākļi testa laikā
Iekārtas uzstādīšana
Lapu savācēju novieto parastā lietošanas veidā, lai tā savākšanas ierīces ieplūde atrodas 50 ± 25 mm virs puslodes centra; ja lapu savācējs ir turams rokā, to notur cilvēks vai piemērota ierīce.
Tests pie slodzes
Lapu savācējs darbojas ar ražotāja noteikto savākšanas ierīces nominālo ātrumu un nominālo gaisa plūsmu.
Novērošanas periods
Novērošanas periods ir vismaz 15 sekundes.
Piezīme. Ja lapu savācēju var lietot arī kā lapu pūtēju, tad to testē abās konfigurācijās un tādā gadījumā izmanto lielāko vērtību.
36. Autoiekrāvēji
Trokšņa emisijas pamatstandarts
EN ISO 3744:1995
Darbības apstākļi testa laikā
Ievēro drošības prasības un ražotāja informāciju.
Celšanas apstākļi
Automobīlis stacionārā stāvoklī paceļ kravu (skaņu neabsorbējošu materiālu, piemēram, tēraudu vai betonu; vismaz 70 % no ražotāja instrukcijā noteiktās faktiskās ietilpības) ar maksimālo ātrumu no zemākā stāvokļa līdz standarta pacelšanas augstumam, kādu piemēro šāda tipa autoiekrāvējam saskaņā ar attiecīgiem Eiropas standartiem sērijā "Pašizgāzēju automobīļu drošība". Ja faktiskais maksimālais pacelšanas augstums ir mazāks, to var izmantot atsevišķos mērījumos. Pacelšanas augstumu uzskaita testa pārskatā.
Braukšanas apstākļi
Brauc automobīli bez kravas ar pilnu paātrinājumu no apstāšanās līdz sasniedz līniju A-A (līnija, kas savieno 4. un 6. mikrofona pozīciju) trīs savu garumu attālumā un turpina braukt automobīli ar maksimālo paātrinājumu līdz līnijai B-B (līnija, kas savieno 2. un 8. mikrofona pozīciju). Kad automobīļa aizmugure ir šķērsojusi līniju B-B, akseleratoru var atlaist.
Ja automobīlim ir daudzpakāpju zobpārvads, tad izvēlas pārnesumu, kas mērīšanas distancē nodrošina lielāko iespējamo ātrumu.
Novērošanas periods(-i)/radītās skaņas intensitātes līmeņa noteikšana, ja ir vairāki darbības apstākļi
Novērošanas periodi:
- celšanas apstākļos: viss pacelšanas cikls;
- braukšanas apstākļos: laika posms, kas sākas tad, kad automobiļa centrs šķērso līniju A-A, un beidzas tad, kad tā centrs sasniedz līniju B-B.
Radīto skaņas intensitātes līmeni visu veidu autoiekrāvējiem aprēķina:
,
kur indekss "a" norāda "celšanas veidu" un indekss "c" norāda "braukšanas veidu".
37. Iekrāvēji
Trokšņa emisijas pamatstandarts
EN ISO 3744:1995
Testa laukums
ISO 6395:1988
Mērvirsma/mikrofonu skaits/mērīšanas attālums
ISO 6395:1988
Darbības apstākļi testa laikā
Iekārtas uzstādīšana
kāpurķēžu krāvējus testē vietā, kas atbilst ISO 6395:1988 6.3.3. punktam.
Tests pie slodzes
ISO 6395:1988 C pielikums.
Novērošanas periods(-i)/radītās skaņas intensitātes līmeņa noteikšana, ja ir vairāki darbības apstākļi
ISO 6395:1988 C pielikums.
38. Autoceltņi
Trokšņa emisijas pamatstandarts
EN ISO 3744:1995
Darbības apstākļi testa laikā
Iekārtas uzstādīšana
Ja celtnis ir aprīkots ar balsta ierīcēm, tās ir pilnībā izplestas, un celtnis ir nolīmeņots, noregulējot atbalstu vidējā iespējamajā augstumā.
Tests pie slodzes
Testēšanai nodod ražotāja aprakstīto autoceltņa standarta modeli. Dzinēja jauda, nosakot trokšņa ierobežojumus, ir dzinēja nominālā jauda, kas nepieciešama celtņa kustībai. Celtnis ir aprīkots ar maksimāli atļauto pretsvaru, kas uzstādīts uz pagriežamas ietaises.
Pirms jebkuras mērīšanas autoceltņa dzinēju un hidraulisko sistēmu uzsilda līdz ražotāja norādītai parastajai darba temperatūrai un veic visas lietošanas instrukcijā norādītās drošības procedūras.
Ja autoceltnis ir aprīkots ar vairākiem dzinējiem, tad darbina to dzinēju, kurš nodrošina celtņa darbību. Pārvietošanas dzinējs nedarbojas.
Ja autoceltņa dzinējs ir aprīkots ar ventilatoru, tad tas darbojas testa laikā. Ja ventilatoram ir vairāki darbības ātrumi, tad testa laikā ir vislielākais ātrums.
Autoceltnim veic mērījumus trijiem (a) līdz c)) vai četriem (a) līdz d)) darbības veidiem.
Visiem darbības veidiem piemēro:
- dzinēja darbību ar 3/4 no maksimālā apgiezienu skaita, kāds norādīts celtņa darbības režīmam, ar pielaidi ± 2 %;
- maksimālo paātrinājumu un palēninājumu bez bīstamām kravas vai āķu bloka kustībām;
- kustības ar maksimāli iespējamo ātrumu, kāds attiecīgajam veidam norādīts instrukciju apkopojumā.
a) Pacelšana
Autoceltni noslogo ar kravu, kas rada 50 % no maksimālā troses spēka. Testā kravu paceļ un tūlīt nolaiž sākuma stāvoklī. Manipulatora garumu izvēlas tā, lai pilns tests ilgtu 15 līdz 20 sekundes.
b) Pagriešana
Ar manipulatoru, kas noregulēts horizontālā 40° līdz 50° leņķī bez kravas, pagriež augšu 90° pa kreisi un tūlīt atgriež atpakaļ sākuma stāvoklī. Izmanto mazāko strēles garumu. Novērošanas periods vienāds ar darba cikla veikšanas laiku.
c) Celšana
Tests sākas ar īsās strēles pacelšanu no zemākā darba stāvokļa, kam tūlīt seko strēles nolaišana sākotnējā stāvoklī. Kustību izpilda bez kravas. Tests ilgst vismaz 20 sekundes.
d) Izbīdīšana un sabīdīšana (vajadzības gadījumā)
Ar strēli, kas noregulēta horizontālā 40° līdz 50° leņķī bez kravas un ir pilnīgi ievilkta, pirmās sekcijas izbīdīšanas un sabīdīšanas cilindru kopā ar pirmo sekciju izbīda līdz pilnam garumam un tūlīt kopā ar pirmo sekciju sabīda.
Novērošanas periods(-i)/radītās skaņas intensitātes līmeņa noteikšana, ja ir vairāki darbības apstākļi
Radīto skaņas intensitātes līmeni aprēķina
i) ja piemēro izbīdīšanu un sabīdīšanu:
,
ii) ja nepiemēro izbīdīšanu un sabīdīšanu:
,
kur
LWAa ir pacelšanas cikla skaņas intensitātes līmenis,
LWAb ir pagriešanas cikla skaņas intensitātes līmenis,
LWAc ir celšanas cikla skaņas intensitātes līmenis,
LWAd ir izbīdīšanas un sabīdīšanas cikla (vajadzības gadījumā) skaņas intensitātes līmenis.
39. Pārvietojamas atkritumu tvertnes
Trokšņa emisijas pamatstandarts
EN ISO 3744:1995
Testa laukums
Betona vai neporaina asfalta atstarojošā virsma.
Laboratorijas telpa, kurā virs atstarojošās virsmas nodrošināta brīva telpa.
Virsmas korekcija K2A
Mērīšana ārā.
K2A = 0
Mērīšana telpās.
Konstantes K2A vērtība, ko nosaka saskaņā ar EN ISO 3744:1995 A pielikumu, ir < 2,0 dB un tādā gadījumā K2A neņem vērā.
Mērvirsma/mikrofonu skaits/mērīšanas attālums
Puslode/sešas mikrofona pozīcijas saskaņā ar A daļas 5. punktu/r = 3 m.
Darbības apstākļi testa laikā
Visus mērījumus veic ar tukšu konteineru.
Tests Nr. 1. Konteinera vāka brīva aiztaisīšana
Lai samazinātu iedarbību uz mērīšanu, testa veicējs stāv konteinera aizmugurē (eņģu pusē). Palaižot, vāku tur vidū, lai novērstu sagriešanos krišanas laikā.
Mērīšanu veic šādā ciklā, atkārtojot 20 reizes:
- sākumā vāku paceļ vertikāli,
- vāku palaiž uz priekšu, ja iespējams, nedodot impulsu, bet testa veicējs stāv konteinera aizmugurē, nekustoties, kamēr vāks ir aiztaisīts,
- pēc pilnīgas aiztaisīšanas vāku paceļ sākuma stāvoklī.
Piezīme. Vajadzības gadījumā testa veicējs var īslaicīgi kustēties, lai paceltu vāku.
Tests Nr. 2. Vāka pilnīga atvēršana
Lai samazinātu iedarbību uz mērīšanu, testa veicējs stāv četrriteņu konteinera aizmugurē (eņģu pusē), vai divriteņu konteinera labajā pusē (starp 10. un 12. mikrofonu). Palaižot, vāku tur vidū vai iespējami tuvāk vidum.
Lai novērstu jebkādu konteinera pārvietošanos, testa laikā riteņi ir bloķēti. Divriteņu konteinerus (arī lai novērstu konteinera lēkāšanu) testa veicējs var uzlikt apkalpot, uzliekot roku uz augšmalas.
Mērīšanu veic šādā ciklā:
- sākumā vāku atver horizontāli,
- vāku palaiž, nedodot impulsu,
- pēc pilnīgas atvēršanas un pirms iespējamā atsitiena vāku paceļ tā sākuma stāvoklī.
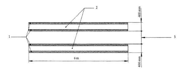
Tests Nr. 3. Konteinera pārvietošana pa mākslīgu nelīdzenu trasi uz riteņiem
Šajā testā izmanto mākslīgu testa trasi, kas atveido nelīdzenu zemes virsmu. Šī testa trase sastāv no divām paralēlām tērauda pinuma sloksnēm (6 m garām un 400 mm platām), kas aptuveni ik pēc 20 cm ir piestiprinātas pie atstarojošās virsmas. Attālumu starp sloksnēm noregulē atbilstīgi konteinera veidam, lai ļautu riteņiem griezties visā trases garumā. Uzstādīšanu nodrošina līdzena virsma. Vajadzības gadījumā trasi pie zemes piestiprina ar elastīgu materiālu, lai novērstu fona trokšņu emisiju.
Piezīme. Sloksnes var sastāvēt no atsevišķām savienotām 400 mm platām daļām.
Attiecīgs trases paraugs ir parādīts 39.1. un 39.2. zīmējumā.
Testa veicējs atrodas vāka eņģu pusē.
Mērīšanu veic, testa veicējam velkot konteineru pa mākslīgo trasi starp A un B punktu (attālums 4,24 m - skatīt 39.3. zīmējumu) ar nemainīgu ātrumu aptuveni 1 m/s, kamēr divriteņu konteinera riteņu ass vai četrriteņu konteinera pirmā riteņu ass sasniedz A punktu vai B punktu. Šo procedūru atkārto trīs reizes katrā virzienā.
Divriteņu konteinera testa laikā leņķis starp konteineru un trasi ir 45°. Testa veicējs nodrošina četrriteņu konteinera visu riteņu saskari ar trasi.
Novērošanas periods(-i)/radītā skaņas intensitātes līmeņa noteikšana, ja ir vairāki darbības apstākļi
Tests Nr. 1 un Nr. 2. Konteinera vāka brīva aiztaisīšana un pilnīga atvēršana
Ja iespējams, tad mēra vienlaicīgi sešās mikrofona pozīcijās. Pretējā gadījumā katrā mikrofona pozīcijā izmērītos skaņas līmeņus sašķiro pieaugošā secībā un skaņas intensitātes līmeņus aprēķina, apvienojot vērtības rindas katrā mikrofona pozīcijā.
Atsevišķa gadījuma A-novērtēto skaņas spiediena līmeni mēra katrai no 20 vāka aiztaisīšanas atvēršanas reizēm katrā mērīšanas punktā. Skaņas intensitātes līmeņi LWAaiztaisīšana un LWAatvēršana aprēķina kā iegūto piecu lielāko vērtību vidējo kvadrātisko vērtību.
Tests Nr. 3. Konteinera pārvietošana pa mākslīgu nelīdzenu trasi uz riteņiem
Novērošanas periods T ir vienāds ar laiku, kas vajadzīgs, lai veiktu attālumu starp trases punktiem A un B.
Skaņas intensitātes līmenis LWAriteņiem ir sešu tādu vērtību vidējā vērtība, kas atšķiras mazāk nekā par 2 dB. Ja šo kritēriju ar sešiem mērījumiem neizpilda, tad ciklu atkārto tikreiz, cik vajadzīgs.
Radīto skaņas intensitātes līmeni aprēķina šādi:
39.1. zīmējums
Pārvietošanas trases rasējums
1. Koka un stieples pinums.
2. Ritošās daļas.
3. Pielāgots konteineram.
39.2. zīmējums
Pārvietošanas trases uzbūve un uzstādīšana
1. - Stingrs tērauda pavediens (4 mm)
- Tīkla acs: (50 mm x 50 mm)
2. Stiepļu režģa koka spaile (20 mm x 25 mm)
3. Atstarojošā virsma
39.3. zīmējums
Mērīšanas attālums
40. Motorizēti kapļi
Skatīt Nr. 32.
Veicot mērīšanu, darbarīks ir atkabināts.
41. Ielu seguma klājēji
Trokšņa emisijas pamatstandarts
EN ISO 3744:1995
Darbības apstākļi testa laikā
Tests pie slodzes
Mašīnas dzinējs darbojas ar ražotāja norādīto nominālo ātrumu. Visi darba objekti ir aktivēti un darbojas ar šādiem ātrumiem:
pievades sistēma vismaz 10 % no maksimālās vērtības
noklāšanas sistēma vismaz 40 % no maksimālās vērtības
bliete (ātrums, gājiens) vismaz 50 % no maksimālās vērtības
vibrators (ātrums, nelīdzsvarots moments) vismaz 50 % no maksimālās vērtības
spiediena barjeras (frekvence, spiediens) vismaz 50 % no maksimālās vērtības
Novērošanas periods
Novērošanas periods ir vismaz 15 sekundes.
42. Pāļu dzīšanas iekārta
Trokšņa emisijas pamatstandarts
EN ISO 3744:1995
Testa laukums
ISO 6395:1988
Darbības apstākļi testa laikā
Tests pie slodzes
Pāļu dzīšanas iekārtu uzstāda virs pāļa, kam zemē ir pietiekama pretestība, lai iekārta varētu darboties ar vienmērīgu ātrumu. Iedzīšanas āmuru uzmavai nodrošina jaunu koka pildījumu. Pāļa augšdaļa ir 0,50 m virs testa laukuma.
Novērošanas periods
Novērošanas periods ir vismaz 15 sekundes.
43. Cauruļlicēji
Skatīt Nr. 0.
44. Sniega traktori
Skatīt Nr. 0.
45. Elektroenerģijas ģeneratori
Trokšņa emisijas pamatstandarts
EN ISO 3744:1995
Virsmas korekcija K2A
Mērīšana ārā.
K2A = 0
Mērīšana telpās.
Konstantes K2A vērtība, ko nosaka bez mākslīgas virsmas un saskaņā ar EN ISO 3744:1995 A pielikumu, ir < 2,0 dB un tādā gadījumā K2A neņem vērā.
Mērvirsma/mikrofonu skaits/mērīšanas attālums
Puslode/sešas mikrofona pozīcijas saskaņā ar A daļas 5. punktu/saskaņā ar A daļas 5. punktu. Ja l > 2 m, tad ar mērīšanas attālumu d = 1 m saskaņā ar EN ISO 3744:1995 var izmantot paralēlskaldni.
Darbības apstākļi testa laikā
Iekārtas uzstādīšana
Elektroenerģijas ģeneratorus uzstāda uz atstarojošas virsmas; pārvietojamus elektroenerģijas ģeneratorus novieto uz 0,40 m augsta paliktņa, ja vien ražotāja uzstādīšanas nosacījumos nav paredzēts citādi.
Tests pie slodzes
ISO 8528-10:1998 9. punkts.
Novērošanas periods
Novērošanas periods ir vismaz 15 sekundes.
46. Ielu tīrīšanas iekārtas
Trokšņa emisijas pamatstandarts
EN ISO 3744:1995
Darbības apstākļi testa laikā
Tests pie slodzes
Ielu tīrīšanas iekārtas testē stacionārā stāvoklī. Dzinējs un palīgiekārtas darbojas ar ražotāja paredzēto darba iekārtas ātrumu; slota darbojas ar lielāko ātrumu bez saskares ar zemi; attālumā starp zemi un iesūkšanas sistēmas atveri, kas nepārsniedz 25 mm, iesūkšanas sistēma darbojas ar maksimālo sūkšanas jaudu.
Novērošanas periods
Novērošanas periods ir vismaz 15 sekundes.
47. Atkritumu savākšanas transportlīdzekļi
Trokšņa emisijas pamatstandarts
EN ISO 3744:1995
Darbības apstākļi testa laikā
Tests pie slodzes
Atkritumu savākšanas transportlīdzekli testē stacionārā stāvoklī šādos darbības apstākļos.
1. Dzinējs darbojas ar ražotāja paredzēto maksimālo ātrumu. Iekārta nedarbojas. Šādi netestē transportlīdzekļus, kam ir tikai elektriskā piedziņa.
2. Blīvēšanas sistēma darbojas.
Atkritumu savākšanas transportlīdzeklis un piltuve ir tukši.
Ja dzinēja apgriezienu skaits automātiski palielinās, kamēr blīvēšanas sistēma darbojas, tad mēra šo lielumu. Ja izmērītais lielums ir vairāk nekā 5 % zemāks par ražotāja paredzēto apgriezienu skaitu, tad testu veic, paātrinot dzinēju ar kabīnes akseleratoru, lai nodrošinātu ražotāja paredzēto dzinēja apgriezienu skaitu.
Ja blīvēšanas sistēmai ražotājs nav paredzējis dzinēja apgriezienu skaitu vai ja transportlīdzeklim nav paredzēts automātisks akselerators, tad kabīnes akseleratora dzinēja apgriezienu skaitam jābūt 1200 apgriezieni minūtē.
3. Ceļamierīci paceļ un nolaiž bez kravas un bez konteinera. Dzinēja apgriezienu skaitu iegūst un kontrolē tāpat kā darbojoties blīvēšanas sistēmai (2. punkts).
4. Materiāls iekrīt atkritumu savākšanas transportlīdzeklī.
Materiālus ar ceļamierīci ieber piltuvē (sākumā tukša). Šim mērķim izmanto EN 840-1:1997 atbilstošu divriteņu konteineru ar 240 l tilpumu. Ja ar ceļamierīci nevar pacelt šādu konteineru, tad izmanto konteineru, kura tilpums ir apmēram 240 l. Materiāls sastāv no 30 polivinilhlorīda caurulēm; katras caurules svars aptuveni 0,4 kg un šādi izmēri:
- garums: 150 mm ± 0,5 mm,
- nominālais ārējais diametrs: 90 mm + 0,3/- 0 mm,
- nominālais biezums: 6,7 mm + 0,9/- 0 mm.
Novērošanas periods(-i)/radītā skaņas intensitātes līmeņa noteikšana, ja ir vairāki darbības apstākļi
Novērošanas periods ir:
1) vismaz 15 sekundes. radītais skaņas intensitātes līmenis ir LWA1;
2) vismaz trīs pilni cikli, ja blīvēšanas sistēma darbojas automātiski. Ja blīvēšanas sistēma nedarbojas automātiski, bet gan cikliski, mēra vismaz trīs ciklus. Radītais skaņas intensitātes līmenis (LWA2) ir triju (vai vairāku) mērījumu vidējā ģeometriskā vērtība;
3) vismaz trīs nepārtraukti pilni darba cikli, ieskaitot ceļamierīces pacelšanu un nolaišanu. Radītais skaņas intensitātes līmenis (LWA3) ir triju (vai vairāku) mērījumu vidējā ģeometriskā vērtība;
4) vismaz trīs pilni darba cikli, katrā iekļaujot 30 cauruļu iekrišanu piltuvē. Katrs cikls nav ilgāks par 5 sekundēm. Šiem mērījumiem LpAeq,T aizstāj ar LpA,1s. Radītais skaņas intensitātes līmenis (LWA4) ir triju (vai vairāku) mērījumu vidējā ģeometriskā vērtība.
Radīto skaņas intensitātes līmeni aprēķina šādi:
Piezīme. Ja atkritumu savākšanas transportlīdzeklim ir tikai elektriskā piedziņa, tad ar LWA1 saistīto koeficientu pieņem par 0.
48. Ceļu frēzmašīnas
Trokšņa emisijas pamatstandarts
EN ISO 3744:1995
Darbības apstākļi testa laikā
Iekārtas uzstādīšana
Ceļu frēzmašīnas garenvirziena ass ir paralēla y asij.
Tests pie slodzes
Ceļu frēzmašīnu nostāda stabilā stāvoklī, kā norādīts pircējam sniegtajās instrukcijās. Dzinējs un visas palīgierīces darbojas tukšgaitā ar atbilstošo nominālo apgriezienu skaitu.
Novērošanas periods
Novērošanas periods ir vismaz 15 sekundes.
49. Irdinātāji
Trokšņa emisijas pamatstandarts
EN ISO 3744:1995
Testa laukums
ISO 11094:1991
Domstarpību gadījumā mērīšanu veic ārā uz mākslīgas virsmas (ISO 11094:1991 4.1.2. punkts).
Virsmas korekcija K2A
Mērīšana ārā.
K2A = 0
Mērīšana telpās.
Konstantes K2A vērtība, ko nosaka bez mākslīgas virsmas un saskaņā ar EN ISO 3744:1995 A pielikumu, ir < 2,0 dB un tādā gadījumā K2A neņem vērā.
Mērvirsma/mikrofonu skaits /mērīšanas attālums
ISO 11094:1991
Darbības apstākļi testa laikā
Tests pie slodzes
Irdinātāja dzinējs darbojas ar nominālo apgriezienu skaitu, un darba ierīce darbojas tukšgaitā (darbojas, bet neirdina).
Novērošanas periods
Novērošanas periods ir vismaz 15 sekundes.
50. Sasmalcinātāji/šķeldotāji
Trokšņa emisijas pamatstandarts
EN ISO 3744:1995
Testa laukums
ISO 11094:1991
Virsmas korekcija K2A
Mērīšana ārā.
K2A = 0
Mērīšana telpās.
Konstantes K2A vērtība, ko nosaka bez mākslīgas virsmas un saskaņā ar EN ISO 3744:1995 A pielikumu, ir < 2,0 dB un tādā gadījumā K2A neņem vērā.
Mērvirsma/mikrofonu skaits /mērīšanas attālums
ISO 11094:1991
Darbības apstākļi testa laikā
Tests pie slodzes
Sasmalcinātāju/šķeldotāju testē, šķeldojot vienu vai vairākus koka gabalus.
Darba ciklu veido apaļa, vismaz 1,5 m gara, vienā galā noasināta koka gabala (sausa priede vai finieris) šķeldošana; tā diametrs līdzinās maksimālajam sasmalcinātājam/šķeldotājam paredzētajam diametram, kas norādīts pircējam sniegtajās instrukcijās.
Novērošanas periods/radītā skaņas intensitātes līmeņa noteikšana
Novērošanas periods beidzas, kad šķeldotājā vairs nav materiāla, bet tas nedrīkst pārsniegt 20 sekundes. Ja iespējami abi darbības apstākļi, uzrāda augstāko skaņas intensitātes līmeni.
51. Sniega novākšanas mašīnas ar rotējošiem rīkiem
Trokšņa emisijas pamatstandarts
EN ISO 3744:1995
Darbības apstākļi testa laikā
Tests pie slodzes
Sniega pūtēju testē stacionārā stāvoklī. Saskaņā ar ražotāja ieteikumiem sniega pūtēja darba iekārta darbojas ar maksimālo ātrumu, un tās dzinējs darbojas ar atbilstīgo apgriezienu skaitu.
Novērošanas periods
Novērošanas periods ir vismaz 15 sekundes.
52. Iesūkšanas transportlīdzekļi
Trokšņa emisijas pamatstandarts
EN ISO 3744:1995
Darbības apstākļi testa laikā
Tests pie slodzes
Iesūkšanas transportlīdzekli testē stacionārā stāvoklī. Dzinējs un palīgiekārtas darbojas ar ražotāja paredzēto darba iekārtas ātrumu; augstspiediena sūknis(-ņi) darbojas ar ražotāja paredzēto maksimālo ātrumu. Sūkšanas iekārta darbojas tā, ka iekšējais spiediens ir vienāds ar atmosfēras spiedienu (0 % vakuums). Sūkšanas sprauslas plūsmas troksnis nekādi neietekmē mērījumu rezultātus.
Novērošanas periods
Novērošanas periods ir vismaz 15 sekundes.
53. Torņa celtņi
Trokšņa emisijas pamatstandarts
EN ISO 3744:1995
Mērvirsma/mikrofonu skaits/mērīšanas attālums
Mērīšana zemes līmenī.
Puslode/sešas mikrofona pozīcijas saskaņā ar A daļas 5. punktu/saskaņā ar A daļas 5. punktu.
Mērīšana strēles augstumā.
Ja pacēlējmehānisms atrodas strēles augstumā, tad mērvirsma ir lode ar rādiusu 4 m, kuras centrs sakrīt ar vinčas ģeometrisko centru.
Ja mēra ar pacēlējmehānismu uz celtņa strēles atbalsta, tad mērvirsmas laukums ir lode; S ir vienāds 200 m2.
Mikrofonus izvieto šādi skatīt 53.1. zīmējumu).
Četrus mikrofonus uz horizontālas plaknes, kas šķērso mehānisma ģeometrisko centru (H = h/2),
ar L = 2,80 m
un d = 2,80 - l/2,
L = puse no attāluma starp divām secīgām mikrofona pozīcijām,
l = mehānisma garums (pa strēles asi),
b = mehānisma platums,
h = mehānisma augstums,
d = attālums starp mikrofona balstu un mehānismu strēles virzienā.
Pārējie divi mikrofoni atrodas lodes un vertikālas līnijas, kas šķērso mehānisma ģeometrisko centru, krustpunktos.
Darbības apstākļi testa laikā
Iekārtas uzstādīšana
Pacēlējmehānisma mērīšana.
Pacēlējmehānismu testa laikā uzstāda vienā no šādiem veidiem. Stāvokli apraksta pārbaudes protokolā.
a) Pacēlējmehānisms zemes līmenī
Samontētu celtni novieto uz plakanas betona vai neporaina asfalta atstarojošās virsmas.
b) Pacēlējmehānisms uz strēles atbalsta
Pacēlējmehānisms atrodas vismaz 12 m virs zemes.
c) Uz zemes nostiprināts pacēlējmehānisms
Pacēlējmehānismu nostiprina uz plakanas betona vai neporaina asfalta atstarojošās virsmas.
Enerģijas ģeneratora mērīšana.
Ja ir celtnim ir pievienots enerģijas ģenerators, tad neatkarīgi no tā, vai tas ir savienots ar pacēlējmehānismu, celtni nostiprina uz plakanas betona vai neporaina asfalta atstarojošās virsmas.
Ja pacēlējmehānisms ir novietots uz strēles atbalsta, tad troksni mēra ar mehānismu, kas ir uzstādīts vai nu uz strēles atbalsta, vai nostiprināts uz zemes.
Ja celtņa piedziņas enerģijas avots nav tam piestiprināts (elektroenerģijas ģenerators vai maģistrāle, vai hidrauliskā vai pneimatiskā piedziņa), tad mēra tikai mehānisma vinčas trokšņa līmeni.
Ja celtnim ir pievienots enerģijas ģenerators, bet tie nav apvienoti, tad enerģijas ģeneratoru un pacēlējmehānismu mēra atsevišķi. Ja šīs divas ierīces ir apvienotas, tad mēra visu komplektu.
Testa laikā pacēlējmehānismu un enerģijas ģeneratoru uzstāda un izmanto saskaņā ar ražotāja instrukcijām.
Tests bez slodzes
Celtnim pievienotais enerģijas ģenerators darbojas ar ražotāja norādīto pilno jaudu.
Pacēlējmehānisms darbojas bez kravas, tā cilindram rotējot ar ātrumu, kas atbilst pacelšanas un nolaišanas maksimālajam āķa pārvietošanas ātrumam. Šo ātrumu ir norādījis ražotājs. Testa rezultātam izmanto lielāko (pacelšanas vai nolaišanas) skaņas intensitātes līmeni.
Tests pie slodzes
Celtnim pievienotais enerģijas ģenerators darbojas ar ražotāja norādīto pilno jaudu. Pacēlējmehānisms darbojas ar trošu spriegojumu, kas atbilst maksimālajai slodzei (minimālajam rādiusam), āķim pārvietojoties ar maksimālo ātrumu. Slodzi un ātrumu ir norādījis ražotājs. Ātrumu kontrolē testa laikā.
Novērošanas periods(-i)/radītā skaņas intensitātes līmeņa noteikšana, ja ir vairāki darbības apstākļi
Pacēlējmehānisma skaņas spiediens līmeņa mērīšanas periods ir (tr + tf) sekundes:
- tr ir periods līdz bremžu iedarbināšanai, kas izteikts sekundēs, kad pacēlējmehānisms darbojas iepriekš minētajā veidā. Šajā testā tr = 3 sekundes,
tf ir sekundēs izteikts periods no bremžu iedarbināšanas līdz tam, kad āķis pilnīgi apstājas.
Ja izmanto integratoru, tad integrācijas periods ir (tr + tf) sekundes.
Vidējā ģeometriskā vērtība mikrofona pozīcijai i ir:
Lri ir skaņas spiediena līmenis mikrofona pozīcijai i periodā tr.
Lri ir skaņas spiediena līmenis mikrofona pozīcijai i periodā tf.
53.1. zīmējums
Mikrofonu izvietojums, ja pacēlējmehānisms atrodas uz strēles atbalsta
54. Tranšeju racēji
Skatīt Nr. 0.
55. Autobetonmaisītāji
Trokšņa emisijas pamatstandarts
EN ISO 3744:1995
Darbības apstākļi testa laikā
Tests pie slodzes
Autobetonmaisītāju testē stacionārā stāvoklī. Tvertne ir piepildīta ar vidējas konsistences betonu (izplatīšanās pakāpe 42 līdz 47 cm) atbilstīgi nominālajai ietilpībai. Dzinējs, kas darbina tvertni, darbojas ar pircējam sniegtajās instrukcijās norādīto tvertnes maksimālo apgriezienu skaitu.
Novērošanas periods
Novērošanas periods ir vismaz 15 sekundes.
56. Ūdenssūkņu iekārtas
Trokšņa emisijas pamatstandarts
EN ISO 3744:1995
Mērvirsma/mikrofonu skaits/mērīšanas attālums
Paralēlskaldnis/saskaņā ar EN ISO 3744:1995 ar mērīšanas attālumu d = 1 m.
Darbības apstākļi testa laikā
Iekārtas uzstādīšana
Ūdens sūkni uzstāda uz atstarojošas virsmas; pārvietojamas ūdens sūkņu iekārtas novieto uz 0,40 m augsta paliktņa, ja vien ražotāja uzstādīšanas nosacījumos nav paredzēts citādi.
Tests pie slodzes
Dzinējam jādarbojas ar ražotāja instrukcijā noteikto lielāko efektivitāti.
Novērošanas periods
Novērošanas periods ir vismaz 15 sekundes.
57. Metināšanas ģeneratori
Trokšņa emisijas pamatstandarts
EN ISO 3744:1995
Virsmas korekcija K2A
Mērīšana ārā.
K2A = 0
Mērīšana telpās.
Konstantes K2A vērtība, ko nosaka saskaņā ar EN ISO 3744:1995 A pielikumu, ir < 2,0 dB un tādā gadījumā K2A neņem vērā.
Mērvirsma/mikrofonu skaits /mērīšanas attālums
Puslode/sešas mikrofona pozīcijas saskaņā ar A daļas 5. punktu/saskaņā ar A daļas 5. punktu.
Ja l > 2 m, tad ar mērīšanas attālumu d = 1 m saskaņā ar EN ISO 3744:1995 var izmantot paralēlskaldni.
Darbības apstākļi testa laikā
Iekārtas uzstādīšana
Metināšanas ģeneratorus uzstāda uz atstarojošas virsmas; pārvietojamus metināšanas ģeneratorus novieto uz 0,40 m augsta paliktņa, ja vien ražotāja uzstādīšanas nosacījumos nav paredzēts citādi.
Tests pie slodzes
ISO 8528-10:1998 9. punkts.
Novērošanas periods
Novērošanas periods ir vismaz 15 sekundes."
[1] Dzinēja lietderīgā jauda ir jauda, kas izteikta "EK kW" un ko pārbaudes stendā iegūst kloķvārpstas galā, vai tās ekvivalents, kurš izmērīts saskaņā ar EK metodi transportlīdzekļu iekšdedzes dzinēju jaudas mērīšanai, izņemot to, ka netiek ņemta vērā dzinēja dzesinošā ventilatora jauda.