
Ministru kabineta noteikumi Nr.543
Rīgā 2003.gada 30.septembrī (prot. Nr.52, 13.§)
Noteikumi par Ieslodzījuma vietu pārvaldes specializētā valsts civildienesta ierēdņu formas tērpu, atšķirības zīmēm un dienesta pienākumu izpildei nepieciešamajiem piederumiem un mantiskās apgādes normām
Izdoti saskaņā ar Ieslodzījuma vietu pārvaldes likuma 28.panta otro un trešo daļu
1. Noteikumi nosaka Ieslodzījuma vietu pārvaldes specializētā valsts civildienesta ierēdņu (turpmāk — ierēdnis) formas tērpu, dienesta pakāpēm atbilstošu atšķirības zīmju aprakstu (1.pielikums), dienesta pienākumu izpildei nepieciešamos piederumus (turpmāk — mantiskās apgādes priekšmeti), mantiskās apgādes normas un mantiskās apgādes priekšmetu lietošanas ilgumu (2.pielikums), kā arī kārtību, kādā ierēdnis tiek nodrošināts ar mantiskās apgādes priekšmetiem.
2. Tiesības uz nodrošināšanu ar mantiskās apgādes priekšmetiem ierēdnis iegūst no dienas, kad viņam piešķir speciālo dienesta pakāpi.
3. Ierēdņa apgādi ar mantiskās apgādes priekšmetiem veic Ieslodzījuma vietu pārvalde vai tai pakļautās iestādes struktūrvienība.
4. Mantiskās apgādes priekšmetus izsniedz atbilstoši izmēriem, pamatojoties uz antropometriskajiem mērījumiem. Antropometriskos mērījumus izdara, personai iestājoties dienestā, un turpmāk precizē ik pēc diviem gadiem.
5. Ja ierēdni par disciplīnas neievērošanu, neatbilstību dienestam, sakarā ar spēkā stājušos tiesas spriedumu vai pēc paša vēlēšanās atbrīvo no dienesta Ieslodzījuma vietu pārvaldē, viņš atmaksā saņemto mantiskās apgādes priekšmetu vērtību (proporcionāli to nolietojumam).
6. Noteikumu izpildi finansē no likumā par valsts budžetu kārtējam gadam Tieslietu ministrijai programmā “Ieslodzījuma vietas” piešķirtajiem līdzekļiem.
Ministru prezidents E.Repše
Tieslietu ministrs A.Aksenoks
Redakcijas piebilde: noteikumi stājas spēkā ar 2003.gada 4.oktobri.
1.pielikums
Ministru kabineta
2003.gada 30.septembra noteikumiem Nr.543
Ieslodzījuma vietu pārvaldes specializētā
valsts civildienesta ierēdņu formas tērps
un dienesta pakāpju atšķirības zīmes
I. Formas tērpa krāsas
1. Ieslodzījuma vietu pārvaldes specializētā valsts civildienesta ierēdņu formas tērpam noteikta olīvzaļa krāsa.
2. Formas tērpam paredzētajam apmalojumam, bikšu uzšuvumiem un kaklasaitei noteikta karmīnsarkana krāsa.
3. Ikdienā formas tērps valkājams ar olīvzaļas krāsas kreklu.
4. Svētkos formas tērps valkājams ar baltu kreklu.
II. Vecāko un jaunāko virsnieku, ierindnieku
un instruktoru formas tērpa apraksts
5. Vīriešu vasaras mētelis (1.attēls). Pusvilnas auduma mētelis ar divām iegrieztām sānu kabatām ar līstīti, ar nobīdīto divu pogu (diametrs — 22 mm) aizdari un četrām apdares pogām (diametrs — 22 mm). Iešūta atlokāma apkakle. Iešūtas divvīļu piedurknes. Uz plecu vīlēm — uzpleči (ar dienesta pakāpes atšķirības zīmēm), kuru viens gals iešūts piedurknes vīlē, bet otrs piepogājams ar vienu pogu (diametrs — 14 mm). Uz vidukļa līnijas cauri divām jostas cilpām izvērta josta ar sprādzi. Apkakles stūros — zīmotne “LV”. Uz piedurknes līstītes — viena poga (diametrs — 22 mm).
6. Sieviešu vasaras mētelis (2.attēls). Taisna silueta pusvilnas auduma mētelis ar nobīdīto divu pogu (diametrs — 22 mm) aizdari un divām apdares pogām (diametrs — 22 mm). Priekšpuse ar krūšu iešuvēm un iegrieztām sānu kabatām ar līstīti. Mugurpuse ar vīli un šķēlumu. Uz plecu vīlēm — uzpleči (ar dienesta pakāpes atšķirības zīmēm), kuru viens gals iešūts piedurknes vīlē, bet otrs piepogājams ar vienu pogu (diametrs — 14 mm). Uz vidukļa līnijas — josta ar sprādzi. Apkakles stūros — zīmotne “LV”. Uz piedurknes līstītes — viena poga (diametrs — 22 mm).
7. Ziemas virsjaka (3.attēls). Pagarināta taisna silueta ūdensnecaurlaidīga auduma virsjaka ar siltinātu atpogājamu oderi un melnu mākslīgās kažokādas apkakli (pulkvežu virsjakām — piepogājama karakulādas apkakle melnā krāsā), četrām uzšūtām (divām krūšu un divām sānu) kabatām ar spiedpogu pārloku, divām iegrieztām kabatām (iekškabatas). Priekšpuse ar rāvējslēdzēju un piecu spiedpogu aizdari. Iešūtas divvīļu piedurknes ar piešūtām trikotāžas aprocēm. Uz plecu vīlēm — uzpleči (ar dienesta pakāpes atšķirības zīmēm), kuru viens gals iešūts piedurknes vīlē, bet otrs piepogājams ar vienu pogu (diametrs — 14 mm). Iešūta atlokāma apkakle, apkakles stūros — zīmotne “LV”. Ar rāvējslēdzēju piestiprināma kapuce ar oderi. Virsjakas jostas daļā — no iekšpuses savelkama josta.
8. Vīriešu žakete (4.attēls). Taisna silueta pusvilnas auduma žakete ar divām uzšūtām krūšu kabatām ar vienu pogu (diametrs — 22 mm) katrā pārlokā, divām iegrieztām sānu kabatām ar pārloku un divām iekškabatām. Priekšpuse ar vienrindas četru pogu (diametrs — 22 mm) aizdari. Iešūta apkakle ar atlokiem. Iešūtas vienvīles piedurknes ar trim apdares pogām (diametrs — 14 mm). Uz plecu vīlēm — uzpleči (ar dienesta pakāpes atšķirības zīmēm), kuru viens gals iešūts piedurknes vīlē, bet otrs piepogājams ar vienu pogu (diametrs — 14 mm). Apkakles stūros — zīmotne “LV”.
9. Virsjaka (5.attēls). Pusvilnas auduma virsjaka ar vienrindas triju pogu (diametrs — 22 mm) aizdari un vienas pogas (diametrs — 22 mm) aizdari uz jostas. Priekšpuse ar divām uzšūtām krūšu kabatām ar pārloku un divām iekškabatām. Pārloks piepogājams ar vienu pogu (diametrs — 22). Mugurpuse ar piešūtu atdaļu un divām vertikālām ielocēm. Piedurknes ar piešūtu aproci un divu pogu (diametrs — 14 mm) aizdari. Uz plecu vīlēm — uzpleči (ar dienesta pakāpes atšķirības zīmēm), kuru viens gals iešūts piedurknes vīlē, bet otrs piepogājams ar vienu pogu (diametrs — 14 mm). Iešūta apkakle ar atsevišķi piegrieztu stāvdaļu. Apkakles stūros — zīmotne “LV”. Virsjakas apakšmala ar jostu, kuras sānu daļās iestrādāta gumija.
10. Bikses (6.attēls). Pusvilnas auduma bikses ar rāvējslēdzēja aizdari priekšpusē vidus vīlē. Uz jostas — astoņas cilpas un divi savilktņi. Priekšpuse ar divām ielocēm (pa vienai katrā pusē) un divām ieslīpām kabatām. Mugurpuse ar divām iešuvēm un vienu iegriezto kabatu ar cilpu un pogu (sieviešu biksēm — bez kabatas). Pulkvežu biksēm uz bikšu ārējās vīles uzšūtas divas 20 mm platas lentes karmīnsarkanā krāsā (6.a attēls).
11. Kombinētās bikses (7.attēls). Pusvilnas auduma bikses ar vidukļa līnijā piešūtu jostu, rāvējslēdzēja aizdari priekšpusē (vidus vīlē), divām pogām bikšu sašaurinātajā apakšdaļā un pēdsloksni (valkāšanai zābakos) ar divām pogām. Uz jostas — astoņas cilpas un divi savilktņi. Priekšpuse ar divām ielocēm (pa vienai katrā pusē) un divām ieslīpām kabatām. Mugurpuse ar divām iešuvēm un vienu iegriezto kabatu ar cilpu un pogu.
12. Puskombinezons (8.attēls). Ūdensnecaurlaidīga auduma puskombinezons ar siltinātu oderi. Priekšpuse ar rāvējslēdzēju un vienu spiedpogu. Divas iegrieztas sānu kabatas ar rāvējslēdzēju.
13. Vīriešu virskrekls (9. un 9.a attēls). Krekla auduma virskrekls ar vienrindas piecu pogu aizdari pa aizdarsloksni un vienu pogu uz apkakles stāvdaļas, divām uzšūtām krūšu kabatām ar vienu pogu katrā pārlokā, ar uzplečiem, kuru viens gals iešūts piedurknes vīlē, bet otrs piepogājams ar vienu pogu, un īsām vai garām piedurknēm. Iešūtas vienvīles piedurknes (krekls ar garām piedurknēm — ar piešūtu aproci un vienas pogas aizdari). Mugurpuse ar piešūtu atdaļu. Iešūta apkakle ar atsevišķi piegrieztu stāvdaļu.
14. Virs biksēm valkājams krekla auduma virskrekls (9.b attēls) ar vienrindas četru pogu aizdari pa aizdarsloksni un vienu pogu uz apkakles stāvdaļas, divām uzšūtām krūšu kabatām ar vienu pogu katrā pārlokā, ar uzplečiem, kuru viens gals iešūts piedurknes vīlē, bet otrs piepogājams ar vienu pogu, un īsām vai garām piedurknēm. Iešūtas vienvīles piedurknes (krekls ar garām piedurknēm — ar piešūtu aproci un vienas pogas aizdari). Mugurpuse ar piešūtu atdaļu. Iešūta apkakle ar atsevišķi piegrieztu stāvdaļu. Virskrekla apakšmala ar jostu un divu pogu aizdari.
15. Sieviešu žakete (10.attēls). Pieguļoša silueta pusvilnas auduma žakete ar nobīdīto divu pogu (diametrs — 22 mm) aizdari un četrām apdares pogām (diametrs — 22 mm). Priekšpuse ar četrām iešuvēm un divām iegrieztām sānu kabatām ar pārlokiem. Kreisajā pusē augšā — iegrieztā kabata ar līstīti. Mugurpuse ar vīli. Iešūtas divvīļu piedurknes. Elkoņa vīle beidzas ar šķēlumu un trim apdares pogām (diametrs — 14 mm). Uz plecu vīlēm — uzpleči (ar dienesta pakāpes atšķirības zīmēm), kuru viens gals iešūts piedurknes vīlē, bet otrs piepogājams ar vienu pogu (diametrs — 14 mm). Iešūta atlokāma apkakle ar atsevišķi piegrieztu stāvdaļu. Apkakles stūros — zīmotne “LV”.
16. Svārki (11.attēls). Pusvilnas auduma svārki ar oderi, vidukļa līnijā piešūtu jostu un rāvējslēdzēja aizdari, mugurpuses vīlē uz jostas — vienas pogas aizdare. Priekšpuse ar divām iešuvēm. Mugurpuse ar divām iešuvēm, vīli un šķēlumu.
17. Sieviešu blūze (12. un 12.a attēls). Krekla auduma blūze ar vienrindas piecu pogu aizdari pa aizdarsloksni un vienu pogu uz apkakles stāvdaļas, divām uzšūtām krūšu kabatām ar vienu pogu katrā pārlokā, ar uzplečiem, kuru viens gals iešūts piedurknes vīlē, bet otrs piepogājams ar vienu pogu, un īsām vai garām piedurknēm. Mugurpuse ar piešūtu atdaļu. Iešūtas vienvīles piedurknes (blūze ar garām piedurknēm — ar piešūtu aproci un vienas pogas aizdari). Iešūta apkakle ar atsevišķi piegrieztu stāvdaļu.
18. Virs svārkiem valkājama krekla auduma blūze (12.b attēls) ar vienrindas četru pogu aizdari pa aizdarsloksni un vienu pogu uz apkakles stāvdaļas, divām uzšūtām krūšu kabatām ar vienu pogu katrā pārlokā, ar uzplečiem, kuru viens gals iešūts piedurknes vīlē, bet otrs piepogājams ar vienu pogu, un īsām vai garām piedurknēm. Mugurpuse ar piešūtu atdaļu. Iešūtas vienvīles piedurknes (blūze ar garām piedurknēm — ar piešūtu aproci un vienas pogas aizdari). Iešūta apkakle ar atsevišķi piegrieztu stāvdaļu. Blūzes apakšmala ar jostu un divu pogu aizdari.
19. Pulovers (13.attēls). Adīts pusvilnas pulovers. Uz pleciem un piedurknēm — putekļauduma uzšuves. Uz plecu vīlēm — uzpleči (ar dienesta pakāpes atšķirības zīmēm), kuru viens gals iešūts piedurknes vīlē, bet otrs piepogājams ar vienu pogu (diametrs — 14 mm). Uz piedurknēm virs elkoņiem uzšūta kabata.
20. Ziemas cepure (14.attēls). Cepure ar ūdensnecaurlaidīga auduma virsdaļu un piepogājamu melnu mākslīgās kažokādas uzmalu (pulkvežu cepurēm — karakulādas uzmala melnā krāsā) un nagu. Virs naga piestiprināta melna siksniņa. Jaunāko un vecāko virsnieku cepurēm — pīta dekoratīva aukliņa zelta krāsā. Priekšpuses vidū — kokarde.
21. Vasaras cepure (naģene) (15.attēls). Pusvilnas auduma cepure ar ovālas formas augšējo daļu, pamatni un apmali. Priekšpusē — nags. Augšējās daļas šķautnes apmale un augšējās daļas stiprinājuma vieta pie pamatnes apstrādāta ar apmalojumu karmīnsarkanā krāsā. Pamatnes priekšpusē ar divām pogām (diametrs — 14 mm) sānos piestiprināta pīta dekoratīva aukliņa zelta krāsā. Pamatnes priekšpuses vidū — kokarde.
22. Sieviešu vasaras cepure (16.attēls). Ovālas formas vilnas auduma cepure ar nagu. Priekšējā daļā — melna siksniņa, kas galos piestiprināta ar divām pogām. Jaunāko un vecāko virsnieču cepurēm — pīta dekoratīva aukliņa zelta krāsā. Priekšpuses vidū — kokarde.
23. Laiviņcepure (17.attēls). Pusvilnas auduma cepure, ko veido divas sānsienas, pamatne un uzmala. Sānsienu pamatnes vīlē un gar uzmalu — apmalojums karmīnsarkanā krāsā. Priekšpuses vidū — kokarde.
24. Berete (18.attēls). Vilnas auduma berete. Priekšpuses vidū — kokarde.
25. Kokarde (19.attēls). Mazliet ieliekta dzeltena metāla kokarde ar papildinātā mazā Latvijas valsts ģerboņa attēlu. Kokardes platums — 50 mm, augstums — 30 mm.
26. Kaklasaite (20.attēls). Vilnas, zīda vai cita auduma kaklasaite karmīnsarkanā krāsā.
27. Sieviešu kaklasaite (21.attēls). Dubultšuvuma kaklasaite no zīda auduma karmīnsarkanā krāsā ar baltu lenti pa vidu. Piepogājama ar divām pogām.
28. Kaklasaites saspraude (22.attēls). Dzeltena metāla saspraude
(garums — 60 mm, platums — 5 mm), vidū 11 mm plats un 11 mm augsts vairogs, pa diagonāli — valsts karoga krāsu salikums, virs vairoga — trīs 3 mm augstas piecstaru zvaigznes zelta krāsā.
29. Zeķes. Vilnas, pusvilnas vai kokvilnas zeķes melnā vai olīvzaļā krāsā.
30. Zeķbikses gaiši brūnā krāsā.
31. Cimdi. Ādas vai pusvilnas cimdi melnā krāsā.
32. Šalle. Adīta pusvilnas šalle, platums — 20 cm, garums — 100 cm.
33. Siksna. Ādas vai sintētiska materiāla siksna melnā krāsā. Platums — 50 mm.
34. Lietusmētelis (23.attēls). Brīva silueta ūdensnecaurlaidīga auduma mētelis ar piešūtu kapuci. Priekšpuse ar septiņu spiedpogu aizdari, iegrieztām sānu kabatām un diviem roku izgriezumiem ar spiedpogu. Iešūtas vienvīles piedurknes.
35. Apavi:
35.1. vīriešu kurpes — melnas klasiskā stila ādas kurpes ar ielīmētu ādas saistzoli. Purngals var būt nošūts ar dubultvīli. Augšējā daļā sānu aizdares saitējamas ar aukliņu caur caurumiem katrā pusē. Ādas vai cita materiāla zole, zems papēdis;
35.2. vīriešu zābaki — melni klasiskā stila zābaki ar augstiem stulmiem, saitējami vai ar rāvējslēdzēju. Ciets purngals. Ādas vai cita izturīga materiāla zole, zems papēdis. Ziemas zābakiem dabīgās vai mākslīgās kažokādas odere;
35.3. sieviešu kurpes — melnas klasiskā stila ādas kurpes ar ādas vai cita materiāla zoli;
35.4. sieviešu zābaki — melni zābaki ar gariem stulmiem vai puszābaki, ar rāvējslēdzēju vai bez tā. Ādas vai cita materiāla zole. Ziemas zābakiem dabīgās vai mākslīgās kažokādas odere.
36. Pogas (24.attēls):
36.1. dzeltena metāla poga (diametrs — 14 mm). Uz pogas — reljefs mazā Latvijas valsts ģerboņa attēls un 1 mm plata apmale;
36.2. dzeltena metāla poga (diametrs — 22 mm). Uz pogas — reljefs mazā Latvijas valsts ģerboņa attēls un 2 mm plata apmale.
37. Uzpleči. Uzpleči (platums — 40 mm, garums — līdz apkakles malai) izgatavoti no auduma formas tērpa krāsā un piestiprināti pie apģērba: viens gals iešūts piedurknes vīlē, bet otrs piepogājams ar pogu (diametrs — 14 mm). Uzpleču pārvalki (platums — 50 mm, garums — 80–100 mm) — no auduma formas tērpa krāsā.
38. Zīmotne (25.attēls). Burti “LV” izgatavoti no dzeltena metāla: augstums — 12 mm, platums — 10 mm, biezums — 3 mm. Apakšējā daļā burti savienoti. Burtu apmales — reljefas, vidusdaļa — padziļināta. Zīmotne izvietota formas tērpa apkakles stūros (izņemot krekla apkakli un kažokādas apkakli).
III. Augstāko virsnieku formas tērpa apraksts
39. Ziemas mētelis (26.attēls). Pieguļoša silueta vilnas auduma mētelis ar divām iegrieztām sānu kabatām ar pārloku un divām iekškabatām, ar nobīdīto triju pogu (diametrs — 22 mm) aizdari un piecām apdares pogām (diametrs — 22 mm). Iešūta apkakle ar atlokiem. Apkakles stūros — ar diegiem zelta krāsā izšūta zīmotne divu ozollapu veidā (turpmāk — izšūta zīmotne). Piepogājama karakulādas apkakle melnā krāsā, apkakles stūros — izšūta zīmotne. Mugurpuse ar vīli un šķēlumu. Uz mugurpuses vidukļa līnijas ar divām pogām (diametrs — 22 mm) piepogāts savilktnis. Iešūtas vienvīles piedurknes. Uz plecu vīlēm — no dekoratīvas aukliņas zelta krāsā pīti vai ar diegiem zelta krāsā izšūti uzpleči ar apmalojumu karmīnsarkanā krāsā un vienu pogu (diametrs — 14 mm). Sānu kabatām, apkaklei, priekšējai aizdares malai, savilktņiem un uzplečiem — apmalojums karmīnsarkanā krāsā.
40. Ziemas virsjaka (27.attēls). Pagarināta taisna silueta vilnas auduma vai cita auduma virsjaka ar piepogājamu karakulādas apkakli melnā krāsā, apkakles stūros — izšūta zīmotne, ar četrām uzšūtām (divām krūšu un divām sānu) kabatām ar spiedpogu pārloku un trim iekškabatām. Priekšpuse ar rāvējslēdzēju un spiedpogu aizdari. Iešūtas divvīļu piedurknes. Uz plecu vīlēm — no dekoratīvas aukliņas zelta krāsā pīti vai ar diegiem zelta krāsā izšūti uzpleči ar apmalojumu karmīnsarkanā krāsā un vienu pogu (diametrs — 14 mm). Iešūta atlokāma apkakle, apkakles stūros — izšūta zīmotne. Apkakle un krūšu un sānu kabatu pārloki apstrādāti ar apmalojumu karmīnsarkanā krāsā. Virsjakas jostas daļā — no iekšpuses savelkama josta.
41. Vasaras mētelis (28.attēls). Pusvilnas auduma mētelis ar divām iegrieztām sānu kabatām ar līstīti, nobīdīto divu pogu (diametrs — 22 mm) aizdari un četrām apdares pogām (diametrs — 22 mm). Iešūtas divvīļu piedurknes. Uz piedurknes līstītes — viena poga (diametrs — 22 mm). Uz plecu vīlēm — no dekoratīvas aukliņas zelta krāsā pīti vai ar diegiem zelta krāsā izšūti uzpleči ar apmalojumu karmīnsarkanā krāsā un vienu pogu (diametrs — 14 mm). Uz vidukļa līnijas cauri divām jostas cilpām izvērta josta ar sprādzi. Iešūta atlokāma apkakle, apkakles stūros — izšūta zīmotne. Apkaklei un priekšējai aizdares malai — apmalojums karmīnsarkanā krāsā.
42. Žakete (29.attēls). Taisna silueta vilnas auduma žakete ar nobīdīto divu pogu (diametrs — 22 mm) aizdari un divām apdares pogām (diametrs — 22 mm), divām uzšūtām krūšu kabatām ar pārloku, divām iegrieztām sānu kabatām ar aizpogājamu pārloku un divām iekškabatām. Mugurpuse ar vīli un šķēlumu. Iešūta apkakle ar atlokiem. Iešūtas vienvīles piedurknes ar trim apdares pogām (diametrs — 14 mm). Uz plecu vīlēm — no dekoratīvas aukliņas zelta krāsā pīti vai ar diegiem zelta krāsā izšūti uzpleči ar apmalojumu karmīnsarkanā krāsā un vienu pogu (diametrs — 14 mm). Apkakles apmales līdz atlokiem, kā arī krūšu un sānu kabatu pārloki apstrādāti ar apmalojumu karmīnsarkanā krāsā. Apkakles stūros — izšūta zīmotne.
43. Bikses (30.attēls). Vilnas auduma bikses ar piešūtu jostu vidukļa līnijā, rāvējslēdzēja aizdari priekšpusē (vidus vīlē). Uz jostas — astoņas cilpas un divi savilktņi. Priekšpuse ar divām ielocēm (pa vienai katrā pusē) un divām ieslīpām kabatām. Mugurpuse ar divām iešuvēm un vienu iegriezto kabatu ar cilpu un pogu. Bikšu ārējās vīlēs 2 mm platas iekantes un divi 20 mm plati uzšuvumi.
44. Ziemas cepure (31.attēls). Vilnas auduma cepure, ko veido priekšējā un aizmugurējā daļa, virsdaļa un karakulādas uzmala melnā krāsā. Karakulādas uzmala piepogājama ar spiedpogām. Cepures augšējās daļas apmale apstrādāta ar apmalojumu karmīnsarkanā krāsā. Pamatnes priekšpusē ar divām pogām piestiprināta pīta dekoratīva aukliņa zelta krāsā. Priekšpusē — nags, kas apšūts ar ozollapu dekoru zelta krāsā. Cepures priekšpuses vidū — kokarde (33.attēls) ar krāsainu lielā Latvijas valsts ģerboņa attēlu.
45. Vasaras cepure (32.attēls). Vilnas vai pusvilnas auduma cepure ar ovālas formas augšējo daļu, pamatni un apmali. Priekšpusē — nags, kas apšūts ar ozollapu dekoru zelta krāsā. Augšējās daļas šķautnes apmale un augšējās daļas stiprinājuma vieta pie pamatnes apstrādāta ar apmalojumu karmīnsarkanā krāsā. Pamatnes priekšpusē ar divām pogām (diametrs — 14 mm) piestiprināta pīta dekoratīva aukliņa zelta krāsā. Pamatnes priekšpuses vidū — kokarde (33.attēls) ar krāsainu lielā Latvijas valsts ģerboņa attēlu.
46. Kokarde (33.attēls). Mazliet ieliekta dzeltena metāla kokarde ar krāsainu lielā Latvijas valsts ģerboņa attēlu. Kokardes platums — 57 mm, augstums — 43 mm.
47. Apavu un citu formas tērpa piederumu apraksts noteikts šī pielikuma II nodaļā.
IV. Dienesta pakāpju atšķirības zīmju apraksts
48. Ierindniekiem un instruktoriem:
48.1. justīcijas ierindniekam — nav atšķirības zīmju (34.attēls);
48.2. justīcijas kaprālim — 25 mm attālumā no uzpleča apakšējās daļas pa vertikāli viena 10 mm plata dzeltena josla (35.attēls);
48.3. justīcijas seržantam — 25 mm attālumā no uzpleča apakšējās daļas pa vertikāli divas 10 mm platas dzeltenas joslas (36.attēls);
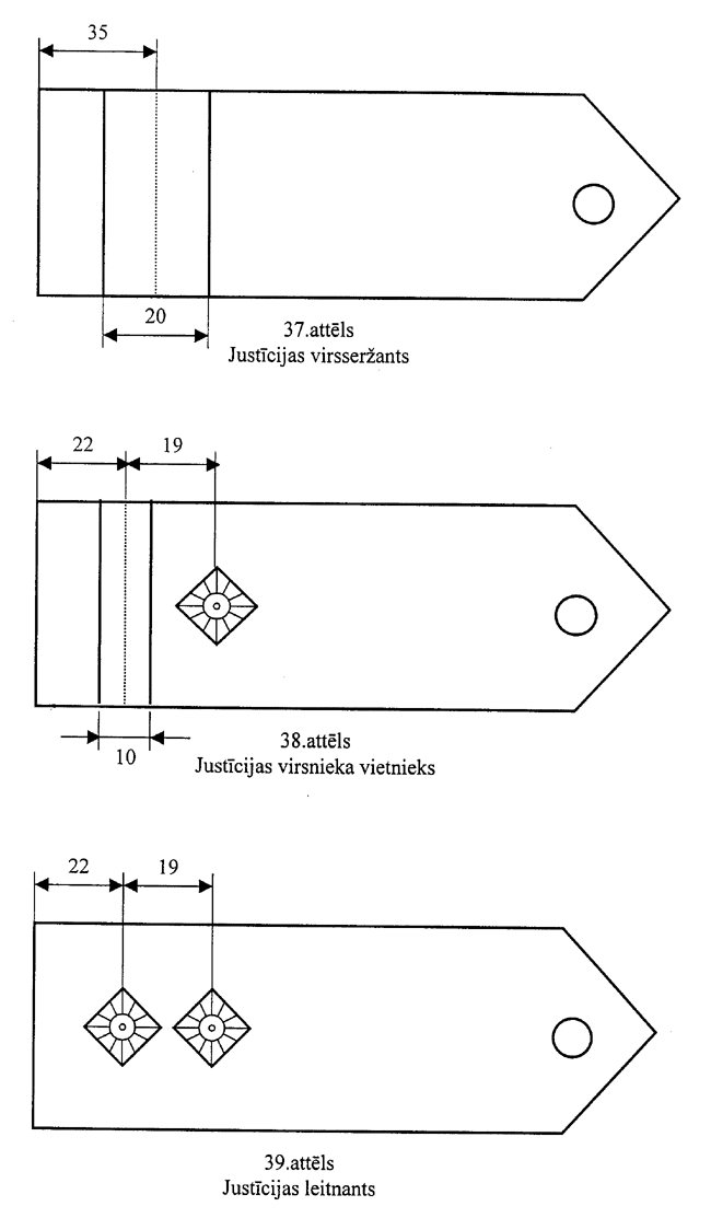
48.4. justīcijas virsseržantam — 25 mm attālumā no uzpleča apakšējās daļas pa vertikāli viena 20 mm plata dzeltena josla (37.attēls);
48.5. justīcijas virsnieka vietniekam — 17 mm attālumā no uzpleča apakšējās daļas pa vertikāli viena 10 mm plata dzeltena josla un viena 3 mm augsta dzeltena metāla zīmotne nošķeltas četrstūra piramīdas veidā. Katras sānu plaknes vidējā trešdaļa — ar trim šķēlumiem, pārējās virsmas — ar rievotu faktūru. Malu garums — 12 mm. Uz augšējās šķēluma plaknes — apaļš vainadziņš ar gludu izcilni vidū (38.attēls).
49. Jaunākajiem virsniekiem — 3 mm augstas dzeltena metāla zīmotnes nošķeltas četrstūra piramīdas veidā. Katras sānu plaknes vidējā trešdaļa — ar trim šķēlumiem, pārējās virsmas — ar rievotu faktūru. Malu garums — 12 mm. Uz augšējās šķēluma plaknes — apaļš vainadziņš ar gludu izcilni vidū. Zīmotnes uz uzplečiem izvietotas atbilstoši darbinieka speciālajai dienesta pakāpei (39., 40. un 41.attēls):
49.1. justīcijas leitnantam — divas (39.attēls);
49.2. justīcijas virsleitnantam — trīs (40.attēls);
49.3. justīcijas kapteinim — četras (41.attēls).
50. Vecākajiem virsniekiem — 5 mm augstas dzeltena metāla zīmotnes astoņstaru zvaigznes veidā. Šķautnes ar rievotu faktūru. Uz augšējās šķēluma plaknes — vainadziņš (diametrs — 4 mm) ar gludu izcilni vidū. Zīmotnes uz uzplečiem izvietotas atbilstoši darbinieka speciālajai dienesta pakāpei (42., 43. un 44.attēls):
50.1. justīcijas majoram — viena (42.attēls);
50.2. justīcijas pulkvežleitnantam — divas (43.attēls);
50.3. justīcijas pulkvedim — trīs (44.attēls).
V. Ieslodzījuma vietu pārvaldes specializētā valsts civildienesta ierēdņu formas tērpa paraugi
2.pielikums
Ministru kabineta
2003.gada 30.septembra noteikumiem Nr.543
Ieslodzījuma vietu pārvaldes specializētā valsts civildienesta ierēdņu dienesta pienākumu izpildei nepieciešamie piederumi, mantiskās apgādes normas un mantiskās apgādes priekšmetu lietošanas ilgums
I. Jaunāko, vecāko un augstāko virsnieku mantiskās apgādes normas
|
Nr. p.k. |
Priekšmeta nosaukums |
Daudzums (uz cilvēku) |
Lietošanas ilgums (gadi) |
Piezīmes |
|
|
vīriešiem |
sievietēm |
||||
|
1. |
Vasaras cepure (naģene) vai laiviņcepure |
1 gab. |
1 gab. |
3 |
|
|
2. |
Ziemas cepure ar nagu |
1 gab. |
1 gab. |
3 |
|
|
3. |
Ziemas virsjaka |
1 gab. |
1 gab. |
3 |
|
|
4. |
Ziemas mētelis |
1 gab. |
1 gab. |
5 |
1. |
|
5. |
Vasaras mētelis |
1 gab. |
1 gab. |
5 |
1., 2. |
|
6. |
Pulovers |
1 gab. |
1 gab. |
4 |
|
|
7. |
Žakete |
1 gab. |
1 gab. |
3 |
|
|
8. |
Bikses vai kombinētās bikses |
2 gab. |
— |
3 |
|
|
9. |
Svārki |
— |
2 gab. |
3 |
4. |
|
10. |
Ikdienas krekls (blūze) |
3 gab. |
3 gab. |
2 |
5. |
|
11. |
Balts krekls (blūze) |
1 gab. |
1 gab. |
2 |
5. |
|
12. |
Kaklasaite |
3 gab. |
— |
2 |
|
|
13. |
Sieviešu kaklasaite |
— |
3 gab. |
2 |
|
|
14. |
Kaklasaites saspraude |
1 gab. |
1 gab. |
10 |
|
|
15. |
Vasaras zābaki |
1 pāris |
1pāris |
3 |
6. |
|
16. |
Ziemas zābaki |
1 pāris |
1 pāris |
3 |
6. |
|
17. |
Kurpes |
1 pāris |
1 pāris |
1,5 |
|
|
18. |
Zeķes |
3 pāri |
— |
1 |
|
|
19. |
Pusvilnas zeķes |
1 pāris |
— |
1 |
|
|
20. |
Cimdi (pirkstaini) |
1 pāris |
1 pāris |
2 |
|
|
21. |
Šalle |
1 gab. |
1 gab. |
5 |
|
|
22. |
Siksna |
1 gab. |
1 gab. |
6 |
|
|
23. |
Kokarde |
2 gab. |
2 gab. |
8. |
|
|
24. |
Atšķirības zīmes |
3 kompl. |
3 kompl. |
3. |
|
|
25. |
Uzpleču pārvalki |
3 pāri |
3 pāri |
3. |
|
|
26. |
Zeķbikses |
— |
4 gab. |
1 |
|
II. Ierindnieku un instruktoru mantiskās apgādes normas
|
Nr. p.k. |
Priekšmeta nosaukums |
Daudzums (uz cilvēku) |
Lietošanas ilgums (gadi) |
Piezīmes |
|
|
vīriešiem |
sievietēm |
||||
|
1. |
Laiviņcepure vai berete |
1 gab. |
1 gab. |
3 |
|
|
2. |
Ziemas cepure ar nagu |
1 gab. |
1 gab. |
3 |
|
|
3. |
Ziemas virsjaka |
1 gab. |
1 gab. |
3 |
|
|
4. |
Bikses vai kombinētās bikses |
2 gab. |
— |
1,5 |
|
|
5. |
Svārki |
— |
2 gab. |
1,5 |
4. |
|
6. |
Virsjaka |
1 gab. |
1 gab. |
1,5 |
9. |
|
7. |
Pulovers |
1 gab. |
1 gab. |
3 |
|
|
8. |
Ikdienas krekls (blūze) |
3 gab. |
3 gab. |
2 |
5. |
|
9. |
Balts krekls (blūze) |
1 gab. |
1 gab. |
2 |
5. |
|
10. |
Kaklasaite |
3 gab. |
— |
2 |
|
|
11. |
Sieviešu kaklasaite |
— |
3 gab. |
2 |
|
|
12. |
Vasaras zābaki |
1 pāris |
1 pāris |
2 |
6. |
|
13. |
Ziemas zābaki |
1 pāris |
1 pāris |
2 |
6. |
|
14. |
Kurpes |
1 pāris |
1 pāris |
1,5 |
|
|
15. |
Kokvilnas zeķes |
3 pāri |
— |
1 |
|
|
16. |
Pusvilnas zeķes |
2 pāri |
2 pāri |
1 |
|
|
17. |
Cimdi |
1 pāris |
1 pāris |
2 |
|
|
18. |
Šalle |
1 gab. |
1 gab. |
5 |
|
|
19. |
Ieroča siksna |
1 gab. |
1 gab. |
5 |
|
|
20. |
Bikšu siksna |
1 gab. |
1 gab. |
2 |
|
|
21. |
Kokarde |
2 gab. |
2 gab. |
8. |
|
|
22. |
Atšķirības zīmes |
3 kompl. |
3 kompl. |
3. |
|
|
23. |
Uzpleču pārvalki |
3 pāri |
3 pāri |
3. |
|
|
24. |
Zeķbikses |
— |
4 gab. |
1 |
|
III. Speciālā apģērba, speciālo apavu un citu dienesta pienākumu izpildei nepieciešamo priekšmetu normas
|
Nr. p.k. |
Priekšmeta nosaukums |
Daudzums (uz cilvēku) |
Lietošanas ilgums (gadi) |
Piezīmes |
|
1 |
2 |
3 |
4 |
5 |
|
1. Autovadītājiem |
||||
|
1.1. |
kokvilnas virsvalks vai kombinezons |
1 gab. |
2 |
|
|
1.2. |
darba cimdi (pirkstaini) |
10 pāru |
1 |
|
|
1.3. |
ziemas cimdi |
2 pāri |
1 |
|
|
1.4. |
brezenta cimdi |
1 pāris |
3 |
|
|
2. Darbiniekiem, kuri strādā ar dienesta suņiem |
||||
|
2.1. |
dresētāja virsjaka (vatēta) |
1 gab. |
2 |
|
|
2.2. |
dresētāja bikses (vatētas) |
1 gab. |
2 |
|
|
2.3. |
dresētāja uzroči (vatēti) |
1 gab. |
2 |
|
|
2.4. |
gumijas zābaki |
1 pāris |
3 |
|
|
2.5. |
brezenta cimdi |
1 pāris |
1 |
|
|
2.6. |
ziemas cimdi |
1 pāris |
1 |
|
|
2.7. |
ziemas virsjaka un bikses (darba) |
1 kompl. |
3 |
|
|
2.8. |
vasaras darba kostīms (virsjaka, garās bikses) |
1 kompl. |
3 |
|
|
2.9. |
suņa metāla asā kaklasiksna |
1 gab. |
2 |
|
|
2.10. |
suņa brezenta kaklasiksna |
1 gab. |
1 |
|
|
2.11. |
suņa brezenta pavada (1,5 m) |
1 gab. |
1 |
|
|
2.12. |
uzpurnis (metāla) |
1 gab. |
1 |
|
|
2.13. |
uzpurnis (ādas) |
1 gab. |
2 |
|
|
2.14. |
metāla trauks (3 l) suņa barošanai |
2 gab. |
1 |
|
|
3. Apsardzes darbiniekiem |
||||
|
3.1. |
lietusmētelis |
2 kompl. |
3 |
7. |
|
3.2. |
puskombinezons (olīvzaļš) |
1 gab. |
3 |
7. |
|
3.3. |
vilnas zeķes |
2 pāri |
1 |
7. |
|
4. Uzraudzības darbiniekiem |
||||
|
4.1. |
lietusmētelis |
1 kompl. |
3 |
10. |
|
5. Darbiniekiem, kas iekļauti speciālajā mobilajā operatīvajā grupā* |
||||
|
5.1. |
kombinezons (melns) |
1 gab. |
2 |
|
|
5.2. |
ziemas virsjaka (melna) |
1 gab. |
3 |
|
|
5.3. |
puskombinezons (melns) |
1 gab. |
3 |
|
|
5.4. |
adīta cepure (melna) |
1 gab. |
3 |
|
|
5.5. |
adīta sejas maska (melna) |
1 gab. |
3 |
|
|
5.6. |
taktikas veste |
1 gab. |
3 |
|
|
5.7. |
platā bikšu josta |
1 gab. |
5 |
|
|
5.8. |
speciālie šņorzābaki |
1 pāris |
2 |
|
|
5.9. |
apakškrekls ar īsām piedurknēm |
2 gab. |
1 |
|
|
5.10. |
ekipējuma soma |
1 gab. |
4 |
|
|
5.11. |
speciālie cimdi (pirkstaini) |
1 pāris |
3 |
|
|
5.12. |
berete (melna) |
1 gab. |
3 |
|
Piezīmes.
1. Tikai augstākajiem virsniekiem.
2. Tikai vecākajiem virsniekiem.
3. Pēc kārtējās dienesta pakāpes piešķiršanas izsniedz pilnu komplektu.
4. Sieviešu svārku vietā atļauts izsniegt bikses. Lietošanas ilgums nemainās.
5. Pēc saņēmēja vēlēšanās izsniedz kreklu ar īsām vai garām piedurknēm vai virs biksēm (svārkiem) valkājamu virskreklu ar īsām vai garām piedurknēm un baltā krekla vietā — ikdienas kreklu.
6. Zābaku vietā atļauts izsniegt kurpes.
7. Izsniedz dienesta pienākumu pildīšanas laikā, ja ir nelabvēlīgi laikapstākļi. Komplektā lietusmēteļu skaits atbilst dežūrmaiņā strādājošo apsardzes darbinieku skaitam.
8. Izsniedz kopā ar cepuri.
9. Ierindniecēm un instruktorēm virsjakas vietā atļauts izsniegt žaketi.
10. Izsniedz dienesta pienākumu pildīšanas laikā, ja ir nelabvēlīgi laikapstākļi. Komplektā lietusmēteļu skaits atbilst dežūrmaiņā strādājošo uzraudzības darbinieku skaitam.
* Tiek izsniegti lietošanai speciālo uzdevumu izpildes laikā.
Tieslietu ministrs A.Aksenoks