
Pamats ir
2.2. Budžeta izstrādes etapi
Budžeta projekta izstrādes pamatā bija divi savstarpēji saistīti etapi.
Pirmajā etapā:
1.
Ministru kabinets izskatīja un pieņēma zināšanai Finansu ministrijas izstrādāto vispārējo apskatu par Latvijas tautsaimniecības un finansu attīstību līdz 2002. gadam, nosakot makroekonomiskās attīstības tendences un galvenos fiskālos rādītājus.2.
Ministrijas un citas centrālās valsts iestādes (turpmāk resori) izstrādāja budžeta politikas un izdevumu projektu 1998., 1999. gadam atbilstoši plānotajam valsts budžeta ieņēmumu līmenim un, ņemot vērā Finansu ministrijas izstrādātās rekomendācijas vienotam Latvijas budžeta un finansu vadības plānošanas procesam nākošajiem diviem finansu gadiem. Resori noteica valsts budžeta programmu prioritātes. Resora izvēlētā prioritārā programma tika padziļināti analizēta, izvirzot alternatīvas, pierādot ekonomiski tās nozīmīgumu un sasniedzamos rezultātus. Tādējādi budžeta projekta izstrādes 1. etapā Ministru kabinets izlēma par nozīmīgāko, valstiski svarīgāko programmu attīstību.3.
Šī etapa beigās Ministru kabinets, izvērtējot visu resoru izstrādātās budžeta prioritātes, apstiprināja valsts pamatbudžeta izdevumu "mērķa griestu" apjomu katram resoram, t.i., valdības noteikto funkciju izpildei piešķirto maksimāli pieļaujamo līdzekļu apmēru 1998., 1999. gadam.Otrajā etapā:
1.
Resori izstrādāja valsts budžeta projektus 1998., 1999. gadam atbilstoši Ministru kabineta apstiprinātajiem "mērķa griestiem", izvirzītajām prioritātēm, ievērojot Finansu ministrijas instrukcijā "Par valsts budžeta projekta izstrādāšanu 1998., 1999.finansu gadam" izvirzītās nostādnes.2.
Ministru kabinetā tika izskatīta un akceptēta Ekonomikas ministrijas izstrādātā Valsts investīciju programma.
2.3. Valsts budžeta likuma struktūra
Valsts budžeta likumprojekts "Par valsts budžetu 1998. gadam" nosaka valsts pamatbudžeta ieņēmumu un izdevumu apmērus, valsts speciālo budžetu ieņēmumus un izdevumus; valsts budžeta mērķdotāciju apjomus pašvaldībām saskaņā ar izvirzītajiem mērķiem, kā arī nosacījumus saistībā ar valsts budžeta ieņēmumu un izdevumu daļas izpildes finansu vadību.
Likuma "Par valsts budžetu 1998. gadam" projekta pielikumos ir noteikti plānotie ieņēmumi pa to veidiem, kā arī detalizēti noteikti izdevumi resoriem, to programmām un apakšprogrammām.
1. pielikums, "Valsts konsolidētā budžeta projekts".
Pirmo reizi tiek plānots valsts konsolidētais budžets ® valsts pamatbudžeta un valsts speciālā budžeta kopējā summa, izslēdzot no tā ieņēmumu un izdevumu daļas savstarpējos pārskaitījumus jeb tā saucamos transfertus.
2. pielikums, "Valsts budžeta ieņēmumi".
Šajā pielikumā ir uzskaitīti plānotie valsts budžeta ieņēmumi nākamajiem diviem gadiem pa ieņēmumu avotiem.
3. pielikums, "Valsts budžeta kopsavilkums"
Šis likuma projekta pielikums ietver valsts budžeta projekta kopsavilkumu valsts pamatbudžeta un valsts speciālā budžeta ieņēmumu un izdevumu griezumā kopā pa valsti un sadalījumā pa resoriem.
4. pielikums, "Valsts pamatbudžeta ieņēmumu un izdevumu atšifrējums pa programmām un apakšprogrammām".
Valsts budžeta projektā 1998. gadam tiek turpināts 1997. finansu gadā uzsāktais budžeta izdevumu plānojums programmu un apakšprogrammu griezumā. Programmu budžets dod iespēju noteikt, kādi valsts sektora pakalpojumi un kādā apjomā būs pieejami, izmantojot noteiktu valsts budžeta līdzekļu apjomu. Svarīgi ir noteikt maksimālo rezultātu, kādu iespējams sasniegt ar ierobežotu līdzekļu apjomu. Lai saglabātu budžeta projekta salīdzināšanas un analīzes iespējas, resori 1998. gadam pamatā neplāno izmaiņas programmu (apakšprogrammu) sadalījumā, ja to neprasa objektīva apstākļu maiņa.
5. pielikums, "Valsts speciālā budžeta ieņēmumu un izdevumu atšifrējums pa programmām un apakšprogrammām".
Šajā pielikumā atspoguļoti valsts speciālā budžeta ieņēmumi un izdevumi sadalījumā starp resoriem, programmām un apakšprogrammām.
6. pielikums, "Mērķdotācijas rajonu padomēm un republikas pilsētu pašvaldībām izglītības pasākumiem ® specializētajām pirmsskolas iestādēm, internātskolām un sanatorijas tipa internātskolām, speciālajām internātskolām bērniem ar fiziskās un garīgās attīstības traucējumiem".
Valsts budžeta mērķdotācijas specializēto izglītības iestāžu uzturēšanas izdevumiem, paredzot tajos arī pedagogu darba samaksu un sociālā nodokļa maksājumus, kā arī izdevumus šo iestāžu skolnieku transporta kompensācijām, sadalījumā pa rajonu padomēm un republikas pilsētu pašvaldībām.
7. pielikums, "Mērķdotācijas pašvaldību tautas mākslas pašdarbības kolektīvu vadītāju darba samaksai un sociālā nodokļa maksājumiem".
Pašvaldību tautas mākslas pašdarbības kolektīvu vadītāju darba samaksa un sociālā nodokļa maksājumi sadalē pa pilsētu un pagastu pašvaldībām.
8. pielikums, "Mērķdotācijas investīcijām republikas pilsētām, rajoniem un pagastiem".
No valsts budžeta plānotās mērķdotācijas investīcijām pilsētu un pagastu pašvaldībām, norādot objekta nosaukumu un veicamo darbu apjomus.
9. pielikums, "Valdības izsniedzamās garantijas vai galvojumi 1998. gadam".
Norādīti valdības izsniedzamo garantiju un galvojumu apjomi 1998. gadā sadalījumā pa saņēmējiem.
10. pielikums, "Mērķdotācijas rajonu padomēm un republikas pilsētu pašvaldībām pašvaldību pamata un vispārējās vidējās izglītības iestāžu pedagoģisko darbinieku algām un sociālā nodokļa maksājumiem".
11. pielikums, "Mērķdotācijas rajonu padomēm un republikas pilsētu pašvaldībām pašvaldību sporta skolu un citu ārpusskolas iestāžu pedagoģisko darbinieku algām un sociālā nodokļa maksājumiem".
12.pielikums, "Mērķdotācijas rajonu padomēm un republikas pilsētu pašvaldībām pašvaldību mūzikas un mākslas skolu pedagoģisko darbinieku algām un sociālā nodokļa maksājumiem".
13.pielikums, "Mērķdotācijas republikas pilsētu pašvaldībām pašvaldību speciālo izglītības iestāžu pedagoģisko darbinieku algām un sociālā nodokļa maksājumiem".
14.pielikums, "Mērķdotācijas rajonu padomēm un republikas pilsētu pašvaldībām pašvaldību arodizglītības iestāžu pedagoģisko darbinieku algām un sociālā nodokļa maksājumiem".
3. Tautsaimniecības attīstība
Pagājušais 1997. gads ir vērtējams kā veiksmīgs gads Latvijas ekonomikai. Fiskālās disciplīnas ievērošana un Latvijas Bankas stingrā monetārā politika ļāva panākt būtisku inflācijas samazināšanos un sagaidāms, ka šī tendence saglabāsies arī turpmāk. Pašlaik Latvijā ir zemākā inflācija salīdzinājumā ar pārējām Baltijas valstīm.
Iekšzemes kopprodukta pieauguma tempi par iepriekšējā gada trim ceturkšņiem liecina, ka IKP pieaugums 1997. gadā būs apmēram 6% līmenī.
Par Latvijas panākumiem tautsaimniecības pārkārtošanā liecina arī kredītaģentūras Moody’s piešķirtais ilgtermiņa kredītreitings Baa2, kas ierindo Latviju starp tām valstīm, kurās var droši investēt līdzekļus. Šis kredītreitings atbilst šī gada sākumā piešķirtajam autoritatīvās aģentūras Standard&Poor’s reitingam BBB. Latvijai ir ļoti svarīgi šo reitingu uzturēt, lai pieaugtu investīciju plūsma uz Latviju. Dati par investīciju apjomiem 1997. gadā iepriecina. 1997. gada rezultāti liecina, ka investīciju apjomi uz vienu iedzīvotāju Latvijā ir augstāki nekā Igaunijā, Ungārijā, Čehijā un Polijā.
Ir stabilizējusies Latvijas banku sistēma, nozīmīgi pieaudzis ir banku sektora kopējais kapitāls un rezerves, kā arī kopējie aktīvi un noguldījumu apjomi. Šīs tendences un sasniegtie rezultāti rada uzticību mūsu banku sistēmas stabilitātei un drošībai.
Paātrinātas privatizācijas rezultātā pieaug privātā sektora īpatsvars. 1997. gadā privātais sektors veidoja apmēram 62% no IKP, un līdz ar privatizācijas procesa pabeigšanu privātā sektora daļa kopējās pievienotās vērtības struktūrā būs dominējošā.
Vidēja termiņa prognozes paredz, ka nākošajos piecos gados IKP pieaugums būs vidēji 5 — 6% gadā. Turpināsies arī inflācijas tempu pakāpeniska samazināšanās. Sagaidāms, ka nākamajos gados investīciju pieauguma tempi būs augstāki par IKP pieaugumu, tādējādi investīciju īpatsvars IKP pieaugs.
3.1. Iekšzemes kopprodukts
1996. gadā sekmīgi tika pārvarētas 1995. gada banku krīzes izraisītās sekas un 1996. gadā iekšzemes kopprodukts (IKP) salīdzinājumā ar iepriekšējo periodu pieauga par 2,8% (šeit un turpmāk pieaugums tiek analizēts salīdzināmajās cenās). Šīs pozitīvās tendences turpinājās arī 1997. gadā.
1997. gada I ceturksnī iekšzemes kopprodukta apjoms faktiskajās cenās bija 695,7 milj. latu, II ceturksnī attiecīgi 814,7 milj. latu, bet III ceturksnī jau 870,7 milj. latu. IKP salīdzināmās cenās 1997. gada 9 mēnešos attiecībā pret 1996. gada attiecīgo periodu ir pieaudzis par 5,6 procentiem.
1997. gadā salīdzinājumā ar 1996. gadu ir vērojams visu svarīgāko makroekonomisko rādītāju pieaugums, kā rezultātā kāpusi ekonomiskā aktivitāte. Tomēr jāņem vērā, ka 1996. gadā ekonomiskā aktivitāte bija visumā zema, ko iespaidoja 1995. gada banku krīze.
Mazumtirdzniecības apgrozījuma palielināšanās 1997. gadā liecina par privātā patēriņa pieaugumu, ko sekmēja darba samaksas un iedzīvotāju noguldījumu palielināšanās. Tomēr iedzīvotāju pirktspējas līmenis vēl aizvien ir relatīvi zems.
Rūpniecības ražošanas apjomu pieaugums liecina, ka privatizācijas rezultātā ir izdevies piesaistīt investīcijas un veikt rūpniecības pārstrukturizāciju. Ja 1996. gada 9 mēnešos jaukta īpašuma uzņēmumos bez valsts kapitāla līdzdalības tika saražots 23,9% no kopējā rūpniecības produkcijas apjoma, tad 1997. gada attiecīgājā periodā — jau 30,8%. Rūpniecības attīstību sekmē arī noieta tirgus pieaugums Eiropas savienības virzienā.
3.1. att. Ekonomiskās aktivitātes indekss, % pret iepriekšējā
gada attiecīgo periodu.
Paredzams, ka arī turpmāk ekonomiskā aktivitātes pieaugumu noteiks iekšzemes un ārvalstu investīcijas, eksporta attīstība un privatizācijas rezultātā veiktā tautsaimniecības pārstrukturizācija.
Ir sagaidāms, ka IKP ikgadējais pieaugums laika periodā no 1998. gada līdz 2003. gadam būs 5-6% līmenī.
3.2. att. Piedāvājums un pieprasījums, 1993 =100
3.2. IKP nozaru griezumā
Rūpniecība
1996. gadā, pirmoreiz kopš neatkarības atgūšanas, rūpnieciskās produkcijas reālie apjomi nevis samazinājās, bet nedaudz pieauga. Rūpniecības fiziskā apjoma indekss 1997. gada 11 mēnešos salīdzinājumā ar 1996. gada atbilstošo periodu ir pieaudzis par 4,5 procentiem.
Izteiktas attīstības iezīmes ir apstrādājošajā rūpniecībā. Tā kā joprojām saglabājas samērā zems iekšzemes pieprasījuma līmenis, tad apstrādājošās rūpniecības atsevišķu nozaru attīstību lielā mērā nosaka produkcijas eksporta iespējas.
Rūpniecības nozaru attīstību nākotnē varētu sekmēt rūpniecības uzņēmumu privatizācija, kuru ir plānots pabeigt 1998. gadā. Privatizācija ļaus piesaistīt investīcijas un veikt rūpniecības pārstrukturizāciju. Pēc 1999. gada rūpniecības pieauguma pamatā būs agrāk ieguldīto investīciju atdeve.
Rūpniecības pieaugumu turpmākajos gados noteiks jau pašlaik visumā sekmīgi darbojošās apstrādājošās rūpniecības nozares:
• Vieglā rūpniecība . Šajā nozarē darbojas virkne uzņēmumu ar ārvalstu kapitāla daļu, kas nodrošina produkcijas eksportu. Īpaši tas sakāms par tekstilizstrādājumu ražošanu.
• Koksne un tās izstrādājumu ražošana. Ar esošajiem Latvijas koksnes resursiem, pilnveidojoties un attīstoties kokapstrādei, var sagaidīt arī turpmāku šīs nozares apjomu pieaugumu.
• Paredzams, ka arī turpmāk sekmīgi attīstīsies tādas pārtikas produktu ražošanas nozares kā gaļas pārstrāde, piena produktu ražošana un augļu un dārzeņu pārstrāde.
Iegūstošās rūpniecības un karjeru izstrādes
daļa kopējā IKP struktūrā ir ļoti maza. Tomēr šīs nozares attīstība ļautu samazināt izmaksas celtniecībā un ceļu būvē.
3.3. att. IKP struktūra faktiskajās cenās nozaru griezumā, %
3.4. att. IKP nozaru pieauguma tempi, salīdzināmās cenās, %
Elektroenerģijas, gāzes un ūdens apgāde
1997. gada 9 mēnešos salīdzinājumā ar iepriekšējā gada attiecīgo periodu par 4,7% ir samazinājies piegādātās elektroenerģijas, gāzes un ūdens apjoms, t.sk. pārdotās siltumenerģijas apjoms — par 11,1%. Tajā pašā laikā patērētājiem piegādātas gāzes apjoms ir pieaudzis par 22,9%, elektroenerģijas — par 0,7%, kas liecina par izmaiņām siltumapgādes struktūrā.
Elektroenerģijas, gāzes un ūdens apgādes nozares pieaugumu faktiskajās cenās pēdējos gados galvenokārt ir ietekmējušas tarifu maiņas. Tiek prognozēts, ka arī turpmākajos gados šīs nozares pieauguma tempi nebūs lieli, jo nav gaidāms, ka Latvijā tiktu attīstītas energoietilpīgas nozares.
Celtniecība
Celtniecības nozarē 90. gadu sākumā bija vērojams straujš apjomu samazinājums. Pieaugot ekonomiskajai aktivitātei, palielinoties valsts un ārvalstu tiešajām investīcijām, kā arī attīstoties dzīvokļu privatizācijas procesam, celtniecības nozares pieauguma tempi pašlaik ir visumā augsti. 1997. gada 9 mēnešos salīdzinājumā ar 1996. gada atbilstošo periodu pieaugums salīdzināmās cenās ir 8,2 procenti.
Šīs nozares attīstību turpmākajos gados noteiks kopējo investīciju apjoms tautsaimniecībā, līdz ar to celtniecības pieauguma tempi varētu būt līdzīgi kopējā pamatkapitāla veidošanas pieauguma tempiem.
Lauksaimniecība, medniecība, mežsaimniecība un zvejniecība
Šajās nozarēs iepriekšējos gados (izņemot 1995. gadu) bija vērojams ražošanas kritums.
Kā rāda IKP 1997. gada 9 mēnešu dati, tad kopējie apjomi lauksaimniecības, medniecības, mežsaimniecības un zvejniecības nozarē salīdzinājumā ar iepriekšējā gada attiecīgo periodu pieauga par 2,3%. 1997. gada II ceturksnī lauksaimniecības, medniecības, mežsaimniecības nozarē bija vērojams augstākais pieaugums šajā nozarē pēdējo gadu laikā. Salīdzinājumā ar 1996. gada II ceturksni šis pieaugums bija 6,1 procentu.
1996. gadā samazinājās ražošanas apjomi gandrīz visās svarīgākajās lauksaimniecības nozarēs. Tomēr, kā pozitīvs minams fakts, ka 1996. gadā, salīdzinot ar 1995. gadu, ir pieaugusi kartupeļu, graudaugu un pākšaugu ražība no viena hektāra.
1997. gadā lauksaimniecības attīstības tempi joprojām ir visumā zemi: salīdzinājumā ar 1996. gada attiecīgo periodu piena ražošana ir pieaugusi par 7,0%, savukārt gaļas ražošana (dzīvmasā) ir samazinājusies par 6,4 procentiem.
Ja Latvijas lauksaimniecības produkcijas cenas (sakarā ar nepietiekamo darba ražīgumu) ir relatīvi augstas, tad ne vienmēr ir sasniegta nepieciešamā kvalitāte un atbilstība starptautiskajiem standartiem, tāpēc to konkurētspēja gan iekšējā, gan ārējā tirgū ir zema.
Lauksaimniecības, medniecības, mežsaimniecības un zvejniecības nozaru lēno attīstību ietekmēs gan privātā patēriņa zemie pieauguma tempi, gan ārvalstu lielā konkurence. Lauksaimniecības nozaru attīstību pozitīvi ietekmēs ražošanas intensifikācija, kas ļaus samazināt ražošanas izmaksas un veicinās konkurētspēju.
Pakalpojumu nozares
1997. gada 9 mēnešos salīdzinājumā ar 1996. gada 9 mēnešiem par 7,7% (salīdzināmās cenās) ir pieaudzis sniegto pakalpojumu apjoms. Ja pakalpojumu sfēras īpatsvars kopējā pievienotās vērtības struktūrā 1996. gada 9 mēnešos bija 57,9%, tad 1997. gada attiecīgajā periodā jau 61,7 procenti.
Paredzams, ka arī turpmākajos gados šīs nozares īpatsvars IKP struktūrā nedaudz pieaugs un sasniegs 66% 2003. gadā. Pakalpojumu nozares attīstību arī turpmākajos gados noteiks transporta un sakaru attīstība, īpaši tas attiecas uz tranzītpārvadājumiem caur Latvijas ostām. Tajā pašā laikā sagaidāms, ka šīs nozares ietekme kopējā pakalpojumu pieaugumā samazināsies.
Sagaidāms, ka paplašinoties finansu starpniecības un komercdarbības jomā sniegto pakalpojumu daudzveidībai, kā arī pieaugot ārvalstu kokurencei, pieaugs šo nozaru īpatsvars kopējā pakalpojumu sektorā.
3.3. Privātais patēriņš un iedzīvotāju ienākumi
Mājsaimniecību budžetu apsekojuma dati rāda, ka 1997. gada 9 mēnešos salīdzinājumā ar iepriekšējā gada attiecīgo periodu par 7,1% ir palielinājušies mājsaimniecību rīcībā esošie ienākumi. Tā kā ienākumu pieaugums atpalika no patēriņa cenu pieauguma, tad pirktspēja šajā laikposmā kritās par 1,6%. Mājsaimniecību ienākumu pieaugums 1997. gada 9 mēnešos salīdzinājumā ar iepriekšējā gada attiecīgo periodu notika galvenokārt uz algotā darba samaksas (par 11,4%) un sociālo transfertu (par 9,8%) pieauguma rēķina.
Sabiedriskajā sektorā strādājošo mēneša vidējā bruto darba samaksa 1997. gada I ceturksnī bija 121,03 lati, II ceturksnī 129,95 lati, bet III ceturksnī — attiecīgi 133,41 lati. Novembrī sabiedriskajā sektorā strādājošo vidējā bruto darba samaksa bija 137,58 lati.
Ja 1996. gadā bija novērojams samērā straujš tautsaimniecībā strādājošo pirktspējas kritums — par 8,8%, tad 1997. gada laikā tā nedaudz pieauga. 1997. gada I ceturksnī sabiedriskajā sektorā strādājošo pirktspēja (aprēķināta, izejot no neto darba samaksas) attiecībā pret 1996. gada I ceturksnī pieauga par 1,5%, II ceturksnī bija vērojams neliels pirktspējas kritums, savukārt III ceturksnī pirktspēja attiecībā pret 1996. gada III ceturksni atkal pieauga par 3,8 procentiem.
1997. gada sākumā reālās darba algas pieaugumu negatīvi ietekmēja sociālā nodokļa likmes sadalījuma izmaiņas starp darba devēju un darba ņēmēju.
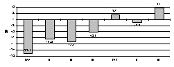
3.5. att. Pirktspējas izmaiņas sabiedriskajā sektorā, % pret
iepriekšējā gada atbilstošo periodu
1997. gadā bruto darba samaksas pieaugums bija lielāks par darba ražīguma pieaugumu sakarā ar sociālā nodokļa likmes pārdali starp darba devēju un darba ņēmēju.
Turpmākajos gados darba ražīguma pieauguma tempiem ir jābūt vismaz 6 –7 procenti. Sagaidāms, ka, sākot ar 1998. gadu vidējās darba samaksas pieauguma tempi būs zemāki par darba ražīguma tempiem.
1997. gadā privātais patēriņš salīdzināmās cenās pēc Finansu ministrijas novērtējuma pieauga par 5,4 procentiem.
Kā viens no iemesliem zemajam privātajam patēriņam pēdējos gados ir valstī realizētā striktā fiskālā politika. Šīs politikas rezultātā, piemēram, budžeta iestādēs pēdējos gados nav ticis plānots reāls darba samaksas fonda pieaugums.
Paredzams, ka 1998. gadā budžeta iestāžu darba algas fonds pieaugs par 5% un, nodarbināto skaitam nozīmīgi nesamazinoties, reālais ienākumu līmenis budžeta iestādēs strādājošiem 1998. gadā būs nemainīgs. Tautsaimniecībā kopumā jau 1998. gadā ir sagaidāms pirktspējas pieaugums, kas sekmēs kopējā pieprasījuma pieaugumu, kā rezultātā pieaugs arī privātais patēriņš. Sagaidāms, ka turpmākajos piecos gados privātais patēriņš salīdzināmās cenās vidēji pieaugs par 3-5% gadā. Rēķinot uz vienu iedzīvotāju, iekšzemes kopprodukts pieaugs straujāk nekā privātais patēriņš un privātā patēriņa īpatsvars tajā nedaudz samazināsies.
3.6. att. Privātais patēriņš, salīdzināmās cenās, % pret
iepriekšējo periodu