
Ministru kabineta noteikumi Nr.343
Rīgā 2010.gada 6.aprīlī (prot. Nr.17 19.§)
Noteikumi par lielgabarīta un smagsvara pārvadājumiem
Izdoti saskaņā ar likuma "Par autoceļiem" 5.panta 6.2 un septīto daļu
I. Vispārīgie jautājumi
1. Noteikumi nosaka kārtību, kādā izsniedz lielgabarīta un smagsvara pārvadājumu atļaujas, kārtību, kādā tiek veikti šie pārvadājumi, un gadījumus, kad pārvadājumu atļauja nav nepieciešama.
2. Noteikumi attiecas uz pārvadājumiem, kuros ar kravu vai pasažieriem vai bez kravas vai pasažieriem pa autoceļu (ielu) braucoša mehāniskā transportlīdzekļa vai tā sastāva izmēri, faktiskā masa vai ass slodze pārsniedz Ministru kabineta 2004.gada 29.jūnija noteikumu Nr.571 "Ceļu satiksmes noteikumi" (turpmāk – Ceļu satiksmes noteikumi) 3.pielikumā minētos lielumus.
3. Lielgabarīta transportlīdzeklis ir mehāniskais transportlīdzeklis vai tā sastāvs (ar kravu vai bez tās), kuram vismaz viens izmērs pārsniedz Ceļu satiksmes noteikumu 3.pielikumā minēto lielumu. Smagsvara transportlīdzeklis ir mehāniskais transportlīdzeklis vai tā sastāvs (ar kravu vai pasažieriem vai bez kravas vai pasažieriem), kura faktiskā masa vai ass slodze pārsniedz Ceļu satiksmes noteikumu 3.pielikumā minēto lielumu.
4. Pārvadājumus var veikt tikai ar kravas specifikai atbilstošiem transportlīdzekļiem.
5. Veicot pārvadājumu, nedrīkst:
5.1. vilkt citus transportlīdzekļus;
5.2. pārvietoties atkalas laikā;
5.3. pārvietoties nepietiekamas redzamības apstākļos;
5.4. pārvietoties pa ceļa nomali.
6. Atļauja nav nepieciešama transportlīdzekļiem, kuri veic ceļu uzturēšanas darbus, un transportlīdzekļiem, kuri veic starptautiskos pārvadājumus un kuru faktiskā masa un ass slodze nepārsniedz Ceļu satiksmes noteikumos minētos lielumus braukšanai pa valsts galvenajiem autoceļiem, bet pārvadājumi tiek veikti arī pa citiem autoceļiem (ielām).
II. Lielgabarīta un smagsvara pārvadājuma atļaujas izsniegšana un maršruta saskaņošana
7. Lielgabarīta un smagsvara pārvadājuma atļauja (1.pielikums) dod tiesības lielgabarīta un smagsvara transportlīdzeklim pārvietoties ar kravu vai bez kravas pa noteiktu maršrutu (turpmāk – atļauja).
8. Atļauju izsniedz lielgabarīta vai smagsvara transportlīdzeklim vienai nedalāmas kravas pārvadāšanas reizei pa noteiktu maršrutu. Nedalāma krava ir krava, kuru nav iespējams sadalīt divās vai vairākās kravās bez neparedzētiem izdevumiem vai bojājuma draudiem un kuru tās izmēru vai masas dēļ nevar pārvadāt saskaņā ar Ceļu satiksmes noteikumu prasībām. Nedalāmas kravas jēdziens nav attiecināms uz gadījumu, ja, sadalot kravu, nemainās parametrs vai parametri, kuru dēļ ir izdota atļauja.
9. Ja transportlīdzeklim saskaņā ar veicamo darbu specifiku nepieciešams pārvadājumu veikt bieži un atkārtoti, atļauju var izsniegt uz noteiktu termiņu, bet ne ilgāku par 12 mēnešiem, ja transportlīdzekļa vai tā sastāva:
9.1. faktiskā masa nepārsniedz 52 t;
9.2. faktiskā masa nepārsniedz 47 t, vedot 40 pēdu (12,2 m) ISO konteinerus;
9.3. maksimālā ass slodze atbilst Ceļu satiksmes noteikumu 3.pielikumā noteiktajiem lielumiem;
9.4. kopējais garums nepārsniedz 24 m;
9.5. platums nepārsniedz 4 m;
9.6. augstums no brauktuves virsmas nepārsniedz 4,5 m.
10. Transportlīdzekļiem (bez kravas), kuri ir reģistrēti Latvijā un kuru augstums no brauktuves virsmas, garums vai platums pārsniedz Ceļu satiksmes noteikumu 3.pielikumā noteiktos lielumus, atļauju var izsniegt uz noteiktu termiņu, bet ne ilgāku par 36 mēnešiem, ja transportlīdzekļa vai tā sastāva:
10.1. kopējais garums nepārsniedz 24 m;
10.2. platums nepārsniedz 4 m;
10.3. augstums no brauktuves virsmas nepārsniedz 4,5 m.
11. Atļauju bez termiņa ierobežojuma izsniedz:
11.1. transportlīdzekļiem, kuri ir reģistrēti Latvijā un kuru pašmasa pārsniedz Ceļu satiksmes noteikumu 3.pielikumā noteiktos lielumus, bet nepārsniedz 48 t, un kuru gabarīti atbilst Ceļu satiksmes noteikumu 3.pielikumā noteiktajiem lielumiem;
11.2. transportlīdzekļiem (bez kravas), kuri ir reģistrēti Latvijā un kuru ass slodze pārsniedz Ceļu satiksmes noteikumu 3.pielikumā noteiktos lielumus, bet nepārsniedz 13 t, un kuru gabarīti atbilst Ceļu satiksmes noteikumu 3.pielikumā noteiktajiem lielumiem.
12. Lai saņemtu atļauju, pārvadātājs pirms pārvadājuma veikšanas iesniedz valsts akciju sabiedrībā "Latvijas Valsts ceļi" atļaujas pieprasījumu (2.pielikums).
13. Valsts akciju sabiedrība "Latvijas Valsts ceļi" izskata atļaujas pieprasījumu un piecu darbdienu laikā pēc atļaujas pieprasījuma saņemšanas pieņem lēmumu par atļaujas izsniegšanu vai atteikumu izsniegt atļauju.
14. Ja pieņemts lēmums par atteikumu izsniegt atļauju, minēto lēmumu var apstrīdēt Satiksmes ministrijā. Satiksmes ministrijas lēmumu var pārsūdzēt tiesā.
15. Ja pieņemts lēmums par atļaujas izsniegšanu, valsts akciju sabiedrība "Latvijas Valsts ceļi" saskaņo pārvadājuma maršrutu:
15.1. ar attiecīgajām pašvaldībām, kā arī ar autoceļu (ielu) un tiltu īpašniekiem vai to pilnvarotām personām;
15.2. ar attiecīgās pilsētas elektrotransporta dienestu, ja lielgabarīta vai smagsvara transportlīdzekļa augstums pārsniedz 4,5 m no brauktuves virsmas;
15.3. ar attiecīgās dzelzceļa infrastruktūras īpašnieku vai tā pilnvarotu personu, ja pārvadājuma maršrutā ir dzelzceļa pārbrauktuve un lielgabarīta vai smagsvara transportlīdzekļa izmēri pārsniedz vismaz vienu no šādiem lielumiem:
15.3.1. augstums no brauktuves virsmas – 4,5 m;
15.3.2. platums – 5 m;
15.3.3. faktiskā masa – 52 t;
15.4. ar attiecīgās dzelzceļa infrastruktūras īpašnieku vai tā pilnvarotu personu, ja pārvadājuma maršrutā ir dzelzceļa tilts vai satiksmes pārvads un lielgabarīta vai smagsvara transportlīdzekļa izmēri pārsniedz vismaz vienu no šādiem lielumiem:
15.4.1. augstums no brauktuves virsmas – 4,5 m;
15.4.2. platums – 5 m;
15.5. ar attiecīgo sakaru un elektroapgādes dienestu, ja lielgabarīta vai smagsvara transportlīdzekļa augstums pārsniedz 5 m no brauktuves virsmas.
16. Izdevumus, kas saistīti ar pārvadājuma maršrutu saskaņošanu atbilstoši šo noteikumu 15.punktam, sedz pārvadātājs.
17. Pēc valsts akciju sabiedrības "Latvijas Valsts ceļi" un pārvadātāja savstarpējas vienošanās pārvadātājs ir tiesīgs saskaņot pārvadājuma maršrutu.
18. Valsts akciju sabiedrība "Latvijas Valsts ceļi" ir tiesīgi līdz attiecīgā autopārvadājuma uzsākšanai mainīt atļaujā norādīto pārvadājuma maršrutu, ja pēc atļaujas izsniegšanas būtiski mainījušies meteoroloģiskie vai citi apstākļi, kas varētu ietekmēt pārvadājuma drošu norisi. Minētajā gadījumā valsts akciju sabiedrība "Latvijas Valsts ceļi" izsniedz jaunu atļauju, kurā norādīts mainītais maršruts. Iepriekšējā atļauja tiek anulēta. Par atļaujā norādītā maršruta mainīšanu un jaunas atļaujas izsniegšanu valsts akciju sabiedrība "Latvijas Valsts ceļi" nekavējoties paziņo pārvadātājam.
19. Īpaši lieliem un smagiem transportlīdzekļiem, kuru pārvietošanās nav iespējama bez maršruta papildu izpētes (piemēram, tiltu, satiksmes pārvadu, autoceļa seguma nestspējas pārbaude un citu ceļa kompleksa mākslīgo būvju pārbaude), valsts akciju sabiedrība "Latvijas Valsts ceļi" veic maršruta papildu izpēti vai pasūta maršruta papildu izpēti citām juridiskām vai fiziskām personām, kurām ir licence autoceļu vai mākslīgo būvju projektēšanai. Maršruta papildu izpēte nepieciešama, ja transportlīdzekļa:
19.1. garums pārsniedz 24 m;
19.2. platums pārsniedz 5 m;
19.3. augstums pārsniedz 5 m;
19.4. kopējā masa pārsniedz 52 t;
19.5. ass slodze pārsniedz 13 t.
20. Par maršruta papildu izpēti valsts akciju sabiedrība "Latvijas Valsts ceļi" slēdz līgumu ar pārvadātāju. Izdevumus, kas saistīti ar maršruta papildu izpēti, kā arī izdevumus par maršruta sagatavošanas papildu darbiem, kas veikti, lai nodrošinātu pārvadājumu, sedz pārvadātājs.
21. Atļauju izsniedz pēc tam, kad saskaņā ar normatīvajiem aktiem par kārtību, kādā veicama samaksa par lielgabarīta un smagsvara pārvadājumiem, samaksāta maksa par autoceļu lietošanu, veicot lielgabarīta vai smagsvara pārvadājumu, kā arī maksa par pārvadājuma maršruta saskaņošanu un atļaujas sagatavošanu.
22. Citu valstu pārvadātāji var izmantot atļaujas faksimilkopiju. Pēc pārvadātāja pieprasījuma valsts akciju sabiedrība "Latvijas Valsts ceļi" atļaujas oriģinālu nosūta pa pastu ierakstītā vēstulē.
23. Veicot pārvadājumu, atļauja atrodas pie attiecīgā lielgabarīta vai smagsvara transportlīdzekļa vadītāja.
24. Atļauju uzskaiti veic valsts akciju sabiedrība "Latvijas Valsts ceļi".
25. Ja pārvadājums notiek bez atļaujas vai netiek ievēroti atļaujas nosacījumi, normatīvajos aktos par autopārvadājumu kontroli noteiktās kontroles institūcijas sastāda aktu (3.pielikums).
26. Līdz atļaujas saņemšanai lielgabarīta vai smagsvara transportlīdzeklis tiek aizturēts un novietots ārpus autoceļa braucamās daļas vai speciālā maksas stāvvietā.
III. Transportlīdzekļu apzīmēšana
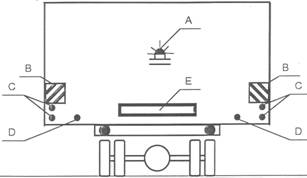
27. Lielgabarīta un smagsvara transportlīdzekli atļauts apzīmēt ar mirgojošu oranžu vai dzeltenu bākuguni (A) (4.pielikuma 1. un 2.zīmējums).
28. Lielgabarīta transportlīdzekli apzīmē:
28.1. priekšpusē (4.pielikuma 1.zīmējums):
28.1.1. ar transportlīdzekļa pazīšanas zīmēm saskaņā ar Ceļu satiksmes noteikumiem (B);
28.1.2. ar iedegtu baltu malējo lukturi vai piestiprinātu baltu atstarotāju. Ja lielgabarīta vai smagsvara transportlīdzekļa platums pārsniedz 3 m, katrā pusē vienu virs otra iededz divus lukturus vai piestiprina divus baltus atstarotājus (C);
28.1.3. ar iedegtu baltu papildlukturi vai piestiprinātu baltu atstarotāju, ja attālums starp malējo lukturu vai atstarotāju un transportlīdzekļa gabarītu uguņu ārējām malām ir lielāks par 1 m (D);
28.2. aizmugurē (4.pielikuma 2.zīmējums):
28.2.1. ar transportlīdzekļa pazīšanas zīmēm saskaņā ar Ceļu satiksmes noteikumiem (B, E);
28.2.2. ar iedegtu sarkanu malējo lukturi vai piestiprinātu sarkanu vai oranžu atstarotāju. Ja lielgabarīta vai smagsvara transportlīdzekļa platums pārsniedz 3 m, katrā pusē vienu virs otra iededz divus lukturus vai piestiprina divus sarkanus vai oranžus atstarotājus (C);
28.2.3. ar iedegtu sarkanu papildlukturi vai piestiprinātu sarkanu vai oranžu atstarotāju, ja attālums starp malējo lukturu vai atstarotāju un transportlīdzekļa gabarītlukturu ārējām malām ir lielāks par 1 m (D).
29. Priekšējos un aizmugurējos malējos lukturus vai atstarotājus novieto 0,25–0,9 m augstumā no brauktuves virsmas pēc iespējas tuvāk transportlīdzekļa vai kravas ārējai malai. Attālums starp lukturi un kravas ārējo malu nedrīkst pārsniegt 0,4 metrus.
30. Bākugunis, papildlukturus un priekšējos un aizmugurējos malējos lukturus iededz transportlīdzekļa braukšanas laikā, kā arī apstājoties vai stāvot diennakts tumšajā laikā vai nepietiekamas redzamības apstākļos. Priekšējo un aizmugurējo malējo lukturu un papildlukturu spuldžu jaudai jābūt 15–21 W.
31. Ja transportlīdzekļa kopējais garums ir lielāks par 6 m, tam uz sānu malas ik pēc 3 m vai, ja virsbūves vai kravas konstrukcija to neļauj, ik pēc 4 m (4.pielikuma 3.zīmējums) novieto oranžus (dzeltenus) atstarotājus (A) un oranžas (dzeltenas) gaismas gabarītlukturus (B), ko iededz vienlaikus ar priekšējiem un aizmugurējiem gabarītlukturiem vai tuvās un tālās gaismas lukturiem. Vismaz vienu atstarotāju un gabarītlukturi novieto uz transportlīdzekļa sānu malas vidējās trešdaļas.
32. Atstarotājus un gabarītlukturus novieto 0,25–1,5 m (ja virsbūves vai kravas konstrukcija to neļauj, – līdz 2,1 m) augstumā no brauktuves virsmas. Gabarītlukturu spuldžu jaudai jābūt 4–10 W.
IV. Dalāmu kokmateriālu un lauksaimniecības produkcijas lielgabarīta un smagsvara kravu pārvadāšana
33. Dalāmas kokmateriālu un lauksaimniecības produkcijas lielgabarīta un smagsvara kravas pārvadā ar kravas specifikai atbilstošiem specializētiem lielgabarīta un smagsvara transportlīdzekļiem vai to sastāviem:
33.1. dalāmas kokmateriālu lielgabarīta un smagsvara kravas šo noteikumu izpratnē ir apaļkoki un šķeldas;
33.2. dalāmas lauksaimniecības produkcijas lielgabarīta un smagsvara kravas šo noteikumu izpratnē ir graudi, rapsis, kartupeļi un svaigpiens.
34. Dalāmas kokmateriālu un lauksaimniecības produkcijas lielgabarīta un smagsvara kravas drīkst pārvadāt, ja ir saņemta attiecīga atļauja un valsts akciju sabiedrības "Ceļu satiksmes drošības direkcija" izsniegts transportlīdzekļa sertifikāts lielgabarīta un smagsvara kravu pārvadāšanai ar specializētajiem lielgabarīta un smagsvara transportlīdzekļiem vai to sastāviem (turpmāk – sertifikāts) (5.pielikums).
35. Sertifikātu izsniedz, ja transportlīdzeklis vai tā sastāvs atbilst šādām prasībām:
35.1. transportlīdzeklis vai tā sastāvs pēc tā konstrukcijas ir paredzēts apaļkoku un šķeldas vai lauksaimniecības produkcijas pārvadāšanai;
35.2. asu skaits nav mazāks par sešām;
35.3. starpasu attālums divasu vai trīsasu tiltam nav mazāks par 1,3 m (piekabes pirmajām sapārotajām asīm pieļaujamais starpasu attālums ir 1,15 m);
35.4. vismaz piecām asīm, izņemot vilcēja stūrējamo asi, ir dubultriteņi;
35.5. motora jauda nav mazāka par 350 ZS vai 257 kW (ja transportlīdzekļu reģistrā nav datu par transportlīdzekļa motora jaudu, pārvadātājs sertifikāta saņemšanai iesniedz transportlīdzekļa izgatavotāja vai tā pārstāvja Latvijā attiecīgu apliecinājumu).
36. Atļaujas dalāmu kokmateriālu un lauksaimniecības produkcijas lielgabarīta un smagsvara kravu pārvadāšanai ar specializētajiem lielgabarīta un smagsvara transportlīdzekļiem uz noteiktu laiku (līdz 12 mēnešiem) izsniedz, pamatojoties uz sertifikātu, ja mehāniskais transportlīdzeklis vai tā sastāvs kopā ar kravu atbilst šādiem nosacījumiem:
36.1. faktiskā masa nepārsniedz 52 t;
36.2. faktiskā maksimālā ass slodze atbilst Ceļu satiksmes noteikumu 3.pielikumā minētajiem lielumiem;
36.3. kopējais garums atbilst Ceļu satiksmes noteikumu 3.pielikumā minētajiem lielumiem;
36.4. platums atbilst Ceļu satiksmes noteikumu 3.pielikumā minētajiem lielumiem;
36.5. augstums no brauktuves virsmas atbilst Ceļu satiksmes noteikumu 3.pielikumā minētajiem lielumiem.
37. Dalāmu kokmateriālu un lauksaimniecības produkcijas lielgabarīta un smagsvara pārvadājuma atļaujas izsniedz un pārvadājuma maršrutus saskaņo atbilstoši šo noteikumu II nodaļā noteiktajām prasībām, izņemot maršrutu saskaņošanu pārvadājumiem pa pašvaldību autoceļiem. Šos pārvadājuma maršrutus pārvadātājs saskaņo ar attiecīgajām pašvaldībām.
38. Dalāmu kokmateriālu un lauksaimniecības produkcijas lielgabarīta un smagsvara pārvadājumu atļaujas neizsniedz pārvadājumu veikšanai pa valsts vietējas nozīmes ceļiem.
V. Dalāmu dolomīta akmens un cementa lielgabarīta un smagsvara kravu pārvadāšana konkrētā maršrutā
39. Dalāmas dolomīta akmens un cementa lielgabarīta un smagsvara kravas pārvadā ar kravas specifikai atbilstošiem lielgabarīta un smagsvara transportlīdzekļiem vai to sastāviem. Atļaujas dolomīta akmens pārvadāšanai izsniedz konkrētam maršrutam no karjera "Aiviekste" Krustpils novadā līdz drupināšanas rūpnīcai Pļaviņu pilsētā. Atļaujas cementa pārvadāšanai izsniedz konkrētam maršrutam no cementa rūpnīcas Brocēnu pilsētā līdz cementa terminālim Liepājas ostā.
40. Atļaujas dolomīta akmens un cementa lielgabarīta un smagsvara kravu pārvadāšanai ar lielgabarīta un smagsvara transportlīdzekļiem uz noteiktu laiku (līdz 12 mēnešiem) izsniedz, ja mehāniskais transportlīdzeklis vai tā sastāvs kopā ar kravu atbilst šādiem nosacījumiem:
40.1. faktiskā masa dolomīta akmens pārvadāšanā nepārsniedz 48 t un cementa pārvadāšanā – 44 t;
40.2. faktiskā maksimālā ass slodze dolomīta akmens pārvadāšanā nepārsniedz 10 t;
40.3. faktiskā maksimālā ass slodze cementa pārvadāšanā atbilst Ceļu satiksmes noteikumu 3.pielikumā minētajiem lielumiem;
40.4. kopējais garums atbilst Ceļu satiksmes noteikumu 3.pielikumā minētajiem lielumiem;
40.5. platums atbilst Ceļu satiksmes noteikumu 3.pielikumā minētajiem lielumiem;
40.6. augstums no brauktuves virsmas atbilst Ceļu satiksmes noteikumu 3.pielikumā minētajiem lielumiem.
41. Dalāmu dolomīta akmens un cementa lielgabarīta un smagsvara pārvadājuma atļaujas izsniedz un pārvadājuma maršrutus saskaņo atbilstoši šo noteikumu II nodaļā noteiktajām prasībām.
VI. Lielgabarīta transportlīdzekļu pavadīšana
42. Ja lielgabarīta vai smagsvara transportlīdzekļa (izņemot šo noteikumu 44.punktā minēto traktortehniku) platums ir 3,5–4 m vai garums ir 24–30 m, izmanto pavadošo automobili – M1 kategorijas mehānisko transportlīdzekli, kas aprīkots ar oranžām (dzeltenām) bākugunīm, vai Valsts policijas transportlīdzekli.
43. Ja lielgabarīta vai smagsvara transportlīdzekļa (izņemot lauksaimniecības tehniku, kas veic īslaicīgus pārbraucienus) platums pārsniedz 4 m vai garums – 30 m, kā arī ja pārvietošanās laikā ir daļēji aizņemta pretējā kustības josla vai jāveic papildu pasākumi satiksmes regulēšanai, par pavadošo automobili izmanto Valsts policijas transportlīdzekli.
44. Traktortehniku aprīko ar oranžu (dzeltenu) bākuguni. Ja lielgabarīta lauksaimniecības tehnikas platums ir 3,5–5 m, diennakts tumšajā laikā un nepietiekamas redzamības apstākļos izmanto pavadošo automobili – M1 kategorijas mehānisko transportlīdzekli, kas aprīkots ar oranžu (dzeltenu) bākuguni. Ja lielgabarīta traktortehnikas platums pārsniedz 5 m, par pavadošo automobili izmanto Valsts policijas transportlīdzekli.
45. Pavadot vairākus lielgabarīta vai smagsvara transportlīdzekļus, izmanto vismaz divus pavadošos automobiļus.
46. Pavadošā automobiļa līdzdalību nodrošina pārvadātājs.
47. Atkarībā no pavadāmā transportlīdzekļa maršruta lēmumu par Valsts policijas līdzdalību pieņem Valsts policijas priekšnieks vai Valsts policijas attiecīgā reģiona pārvaldes priekšnieks.
48. Samaksas apmēru par Valsts policijas transportlīdzekļu izmantošanu nosaka saskaņā ar Valsts policijas sniegto maksas pakalpojumu cenrādi un attiecīgos līdzekļus ieskaita Valsts policijas kontā Valsts kasē. Izdevumus, kas saistīti ar lielgabarīta vai smagsvara transportlīdzekļa pavadīšanu, sedz pārvadātājs.
49. Pavadošais automobilis brauc pavadāmā lielgabarīta transportlīdzekļa priekšpusē tā, lai nosegtu pavadāmā lielgabarīta transportlīdzekļa kreiso pusi. Atsevišķos manevros pavadošais automobilis nodrošina kustības drošību arī lielgabarīta transportlīdzekļa aizmugurē.
50. Lielgabarīta vai smagsvara militāros transportlīdzekļus pavada militārā policija, par plānoto maršrutu informējot Valsts policijas attiecīgā reģiona pārvaldes priekšnieku.
Ministru prezidents V.Dombrovskis
Satiksmes ministrs K.Gerhards
1.pielikums
Ministru kabineta
2010.gada 6.aprīļa
noteikumiem Nr.343
Lielgabarīta un smagsvara pārvadājuma atļaujas paraugs
Atļauja izsniegta, ņemot vērā šādus lielgabarīta (smagsvara) transportlīdzekļa parametrus (vajadzīgo atzīmēt):
Lielgabarīta (smagsvara) transportlīdzeklis:
| vilcēja marka un valsts reģistrācijas numurs | |
| piekabes (puspiekabes) marka un valsts reģistrācijas numurs |
Lielgabarīta (smagsvara) transportlīdzekļa parametri (ar kravu):
| garums | |
| platums | |
| augstums (no brauktuves) | |
| ass slodze | |
| attālums starp asu centriem | |
| kravas masa | |
| transportlīdzekļa faktiskā masa (ar kravu) |
Maršruts (autoceļu (ielu) nosaukumi, autoceļu numuri vai vietu nosaukumi):
Lielgabarīta (smagsvara) transportlīdzekļa kustība atļauta no plkst. __________
līdz plkst. ___________ ar braukšanas ātrumu, ne lielāku par __________ km/h
Īpaši nosacījumi
| Maršrutu saskaņoja | |
|
(vārds un uzvārds vai institūcijas nosaukums) |
|
| Pārvadātājs | |
|
(vārds un uzvārds vai institūcijas nosaukums) |
| Atļauja derīga no |
līdz |
Pārvadātāja:
| adrese | ||
| tālruņa un faksa numurs | ||
| Atļauju izsniedza | |||
|
(atbildīgās amatpersonas vārds un uzvārds) |
(paraksts) |
Atļauja izsniegta 20___.gada ____._________________
Valsts akciju sabiedrības "Latvijas Valsts ceļi" rekvizīti (adrese, tālruņa un faksa numurs).
Satiksmes ministrs K.Gerhards
2.pielikums
Ministru kabineta
2010.gada 6.aprīļa
noteikumiem Nr.343
Lielgabarīta un smagsvara pārvadājuma atļaujas pieprasījums
| Pārvadātāja nosaukums un adrese | |
| Pārvadātāja tālruņa un faksa numurs | |
| Plānotais pārvadājuma laiks | |
| Vēlamais pārvadājuma maršruts |
|
Marka |
Modelis |
Valsts reģistrācijas numurs |
Maksimālais ātrums |
|
| Vilcējs | ||||
| Piekabe | ||||
| Puspiekabe | ||||
| Cita iekārta |
Lielgabarīta vai smagsvara transportlīdzekļa parametri:
| pilna masa (t) | |
| faktiskā masa (t) | |
| augstums no brauktuves virsmas (m) | |
| platums (m) | |
| garums (m) | |
| kravas masa (m) | |
| kravas pārkare aizmugurē (m) | |
| ass slodze (t) | |
| attālumi starp asu centriem (m) |
| Cita informācija |
| Pieprasījuma iesniedzējs | |||
|
|
(paraksts) |
|
(datums) |
Piezīme. Dokumenta rekvizītus "paraksts" un "datums" neaizpilda, ja elektroniskais dokuments ir sagatavots atbilstoši normatīvajiem aktiem par elektronisko dokumentu noformēšanu.
Satiksmes ministrs K.Gerhards
3.pielikums
Ministru kabineta
2010.gada 6.aprīļa
noteikumiem Nr.343
Transportlīdzekļa kontroles akta paraugs
|
APSTIPRINU |
|
|
Kontrolējošās institūcijas vadītājs |
|
|
20___.gada _____._______________ |
Transportlīdzekļa kontroles akts Nr.______
|
(datums) |
(sastādīšanas vieta) |
|
| Kontrolējošās institūcijas | ||
|
(nosaukums) |
||
| darbinieki | ||
|
(vārds, uzvārds) |
||
sastāda šo aktu par Ceļu satiksmes noteikumu 208.punkta pārkāpumu.
| Transportlīdzekļa vadītājs | |||
|
(vārds, uzvārds un personas kods) |
|||
| Pārvadātājs | |||
|
(nosaukums un adrese) |
|||
| Transportlīdzekļa marka | |||
| Transportlīdzekļa valsts reģistrācijas numurs | |||
Valsts akciju sabiedrības "Latvijas Valsts ceļi" izsniegtās lielgabarīta un smagsvara pārvadājuma atļaujas numurs_______________________________
Transportlīdzekļa kontroles rezultāti:
pilna masa _______________ tonnas;
ass slodzes ____, ____, ____, ____, ____, ____, ____, ____, ____, ____ tonnas;
garums__________________ m;
platums_________________ m;
augstums________________ m;
svēršanas čeka numurs ______________________
| Citi pārkāpumi | |
| Kontrolējošās institūcijas darbinieku paraksti | |
| Transportlīdzekļa vadītāja paraksts |
Satiksmes ministrs K.Gerhards
4.pielikums
Ministru kabineta
2010.gada 6.aprīļa
noteikumiem Nr.343
Lielgabarīta un smagsvara transportlīdzekļu apzīmēšana
1.zīmējums
2.zīmējums
3.zīmējums
Satiksmes ministrs K.Gerhards
5.pielikums
Ministru kabineta
2010.gada 6.aprīļa
noteikumiem Nr.343
Transportlīdzekļa sertifikāta paraugs dalāmu kokmateriālu un lauksaimniecības produkcijas lielgabarīta un smagsvara kravu pārvadāšanai ar specializētajiem lielgabarīta un smagsvara transportlīdzekļiem vai to sastāviem
|
Transportlīdzeklis (transportlīdzekļa sastāvs) |
Valsts reģistrācijas numurs |
Marka |
Modelis |
Izlaiduma gads |
Šasijas numurs |
| Kravas automobilis | |||||
| Piekabe (puspiekabe) |
| Es, | , apliecinu, ka | |
|
(vārds, uzvārds) |
transportlīdzeklis (transportlīdzekļa sastāvs) atbilst Ministru kabineta 2010.gada 6.aprīļa noteikumu Nr.343 "Noteikumi par lielgabarīta un smagsvara pārvadājumiem" 35.punktā noteiktajām prasībām un to var izmantot dalāmu kokmateriālu un lauksaimniecības produkcijas lielgabarīta un smagsvara kravu pārvadājumiem.
| Pārvadātājs | |||
|
(vārds, uzvārds) |
(paraksts) |
Atļauja izsniegta, ņemot vērā transportlīdzekļa tipu un šādus transportlīdzekļa (transportlīdzekļa sastāva) parametrus:
|
Kravas automobilis |
Piekabe (puspiekabe) |
|
| Transportlīdzekļa tips | ||
| Kopējais asu skaits | ||
| Asu skaits ar dubultriteņiem | ||
| Starpasu attālums divasu vai trīsasu tiltam | ||
| Motora jauda |
| Sertifikāta izsniegšanas vieta |
Z.v. |
| Izsniedzējs | |||
|
(vārds, uzvārds) |
(paraksts) |
Sertifikāts izsniegts 20____.gada _______.________________________
Satiksmes ministrs K.Gerhards