
Rīga uz savas jubilejas un gadsimtu sliekšņa
No Centrālās statistikas pārvaldes pārskata "Rīga skaitļos. 2000"
"Latvijas Vēstnesī"
Saturā
| 1. Klimats | 09.11.2000. | |||||||
| 2. Tautsaimniecības vispārējs raksturojums | 09.11.2000. | |||||||
| 3. Iedzīvotāji | 09.11.2000. | |||||||
| 4. Nodarbinātība | 16.11.2000. | |||||||
| 5. Sociālā drošība | ||||||||
| 6. Iedzīvotāju ieņēmumi | ||||||||
| 7. Cenas un patēriņš | ||||||||
| 8. Dzīvokļu saimniecība | ||||||||
| 9. Izglītība un kultūra | ||||||||
| 10. Veselības aizsardzība | ||||||||
| 11. Sabiedriskā kārtība | ||||||||
| 12. Dabas resursu un vides aizsardzība | ||||||||
| 13. Rūpniecība | ||||||||
| 14. Investīcijas un būvniecība | ||||||||
| 15. Transports, sakari un tūrisms | ||||||||
| 16. Tirdzniecība un sabiedriska ēdināšana | ||||||||
| 17. Statistiskais uzņēmumu reģistrs | ||||||||
| 18. Sociālekonomiskie rādītāji Rīgas pilsētas rajonos | ||||||||
| 19. Starptautiskie salīdzinājumi | ||||||||
| Turpinājums. Sākums - "LV" nr. 399/400, 9.11.2000. | ||||||||
| 3. Iedzīvotāji | ||||||||
| 3.-13. ŠĶIRTĀS LAULĪBAS PĒC LAULĪBAS ILGUMA | ||||||||
| 1997 | 1998 | 1999 | ||||||
| Šķirtās laulības - pavisam | 2420 | 2649 | 2488 | |||||
| Tai skaitā pēc laulību ilguma: | ||||||||
| mazāk par gadu | 3 | 6 | 7 | |||||
| 1 | 39 | 53 | 37 | |||||
| 2 | 92 | 98 | 71 | |||||
| 3 | 126 | 107 | 94 | |||||
| 4 | 160 | 143 | 121 | |||||
| 5 | 184 | 159 | 141 | |||||
| 6 | 192 | 198 | 139 | |||||
| 7 | 195 | 196 | 141 | |||||
| 8 | 154 | 187 | 184 | |||||
| 9 | 126 | 168 | 171 | |||||
| 10 - 14 | 492 | 621 | 613 | |||||
| 15 - 19 | 304 | 344 | 373 | |||||
| 20 un vairāk | 353 | 369 | 396 | |||||
| 3.-14. ŠĶIRTĀS LAULĪBAS PĒC KOPĪGO BĒRNU SKAITA | ||||||||
| 1997 | 1998 | 1999 | ||||||
| Šķirto laulību skaits | 2420 | 2649 | 2488 | |||||
| Tai skaitā pēc kopīgo | ||||||||
| nepilngadīgo bērnu skaita: | ||||||||
| nebija kopīgu bērnu | 916 | 1105 | 951 | |||||
| ar vienu | 1096 | 1184 | 1148 | |||||
| ar diviem un vairāk | 411 | 360 | 389 | |||||
| Bērnu skaits | 5784 | 1945 | 1984 | |||||
| 3.-15. DZIMSTĪBA, MIRSTĪBA UN IEDZĪVOTĀJU DABISKAIS PIEAUGUMS | ||||||||
| Gads | Pavisam | Uz 1000 iedzīvotājiem | ||||||
| dzimušo | mirušo | iedzīvotāju | dzimušo | mirušo | iedzīvotāju | |||
| skaits | skaits | dabiskais | skaits | skaits | dabiskais | |||
| pieaugums | pieaugums | |||||||
| 1935 | 4673 | 4830 | -157 | 12.2 | 12.6 | -0.4 | ||
| 1959 | 8883 | 4968 | 3915 | 15.4 | 8.6 | 6.8 | ||
| 1980 | 10885 | 9357 | 1528 | 12.9 | 11.1 | 1.8 | ||
| 1985 | 12534 | 10466 | 2068 | 14.1 | 11.8 | 2.3 | ||
| 1990 | 10754 | 11027 | -273 | 11.8 | 12.1 | -0.3 | ||
| 1991 | 9597 | 11078 | -1481 | 10.6 | 12.2 | -1.6 | ||
| 1992 | 8265 | 11366 | -3101 | 9.3 | 12.8 | -3.5 | ||
| 1993 | 6629 | 12703 | -6074 | 7.7 | 14.7 | -7.0 | ||
| 1994 | 6254 | 13580 | -7326 | 7.4 | 16.0 | -8.6 | ||
| 1995 | 5801 | 12709 | -6908 | 7,0 | 15,3 | -8,3 | ||
| 1996 | 5246 | 10607 | -5361 | 6.4 | 12.9 | -6.5 | ||
| 1997 | 4942 | 10395 | -5453 | 6.1 | 12.8 | -6.7 | ||
| 1998 | 4887 | 10398 | -5511 | 6.1 | 13.0 | -6.9 | ||
| 1999 | 5064 | 10131 | -5067 | 6.4 | 12.8 | -6.4 | ||
| Dzimstība, mirstība un dabiskais pieaugums | ||||||||
|
( uz 1 000 iedzīvotājiem )
|
||||||||
| 3.-16. ATSEVIŠĶU TAUTĪBU IEDZĪVOTĀJU | ||||||||
| DZIMSTĪBA, MIRSTĪBA UN DABISKAIS PIEAUGUMS | ||||||||
| 1989 | 1995 | 1997 | 1998 | 1999 | ||||
| Dzimušie | ||||||||
| Pavisam | 11464 | 5801 | 4942 | 4887 | 5064 | |||
| Tai skaitā | ||||||||
| (pēc mātes tautības): | ||||||||
| latvieši | 4292 | 2673 | 2393 | 2302 | 2323 | |||
| krievi | 5041 | 2331 | 1929 | 1965 | 2112 | |||
| baltkrievi | 700 | 246 | 172 | 180 | 160 | |||
| ukraiņi | 676 | 237 | 179 | 178 | 184 | |||
| poļi | 228 | 110 | 94 | 91 | 106 | |||
| ebreji | 107 | 35 | 21 | 28 | 23 | |||
| lietuvieši | 110 | 60 | 34 | 37 | 45 | |||
| čigāni | 22 | 21 | 22 | 29 | 22 | |||
| igauņi | - | 7 | 12 | 5 | 7 | |||
| citas tautības | 288 | 81 | 86 | 72 | 82 | |||
| Mirušie | ||||||||
| Pavisam | 10269 | 12709 | 10395 | 10398 | 10131 | |||
| Tai skaitā: | ||||||||
| latvieši | 4247 | 5108 | 4159 | 4118 | 4108 | |||
| krievi | 4154 | 5389 | 4520 | 4485 | 4273 | |||
| baltkrievi | 496 | 666 | 514 | 544 | 505 | |||
| ukraiņi | 432 | 444 | 358 | 399 | 371 | |||
| poļi | 288 | 380 | 269 | 296 | 275 | |||
| ebreji | 384 | 252 | 174 | 174 | 153 | |||
| lietuvieši | 127 | 110 | 98 | 88 | 105 | |||
| čigāni | 9 | 10 | 14 | 9 | 7 | |||
| igauņi | - | 19 | 16 | 11 | 17 | |||
| citas tautības | 132 | 331 | 273 | 274 | 317 | |||
| Iedzīvotāju | ||||||||
| dabiskais pieaugums | ||||||||
| Pavisam | 1195 | -6908 | -5453 | -5511 | -5067 | |||
| Tai skaitā: | ||||||||
| latvieši | 45 | -2435 | -1766 | -1816 | -1785 | |||
| krievi | 887 | -3058 | -2591 | -2520 | -2161 | |||
| baltkrievi | 204 | -420 | -342 | -364 | -345 | |||
| ukraiņi | 244 | -207 | -179 | -221 | -187 | |||
| poļi | -60 | -270 | -175 | -205 | -169 | |||
| ebreji | -277 | -217 | -153 | -146 | -130 | |||
| lietuvieši | -17 | -50 | -64 | -51 | -60 | |||
| čigāni | 13 | 11 | 8 | 20 | 15 | |||
| igauņi | - | -12 | -4 | -6 | -10 | |||
| citas tautības | 156 | -250 | -187 | -202 | -235 | |||
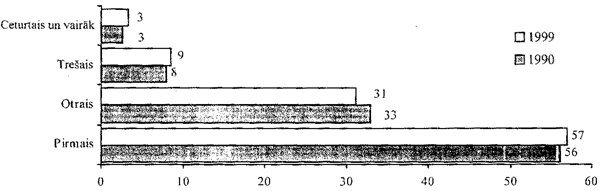
| 3.-17. DZIMUŠO SADALĪJUMS PĒC DZIMŠANAS SECĪBAS | ||||||||
| Gads | Pavisam | Tai skaitā pēc dzimšanas secības | Nereģistrētā laulībā | |||||
| dzimuši | pirmais | otrais | trešais | ceturtais | piektais | dzimušo bērnu | ||
| un vairāk | īpatsvars % | |||||||
| 1990 | 10754 | 6053 | 3553 | 864 | 163 | 121 | 15.5 | |
| 1995 | 5801 | 3556 | 1681 | 390 | 106 | 68 | 28.4 | |
| 1996 | 5246 | 3198 | 1521 | 369 | 93 | 65 | 31.2 | |
| 1997 | 4942 | 2935 | 1480 | 359 | 87 | 81 | 31.2 | |
| 1998 | 4887 | 2831 | 1500 | 399 | 95 | 62 | 32.6 | |
| 1999 | 5064 | 2887 | 1580 | 430 | 98 | 69 | 34.5 | |
| Dzimušo bērnu sadalījums pēc dzimšanas kārtas skaitļa 1990. un 1999. gadā | ||||||||
|
(procentos no kopējā dzimušo skaita )
|
||||||||
| 3.-18. DZIMUŠO SKAITS PĒC MĀTES VECUMA UN ĢIMENES STĀVOKĻA | ||||||||
| Pavisam dzimuši | Tai skaitā dzimuši | |||||||
| reģistrētā laulībā | ||||||||
| 1995 | 1997 | 1998 | 1999 | 1995 | 1997 | 1998 | 1999 | |
| Pavisam | ||||||||
| dzimuši | 5801 | 4942 | 4887 | 5064 | 4152 | 3361 | 3295 | 3317 |
| Tai skaitā mātēm | ||||||||
| vecumā (gadi): | ||||||||
| līdz15 | 1 | - | - | 1 | - | - | - | - |
| 15 - 19 | 499 | 389 | 294 | 305 | 239 | 150 | 120 | 100 |
| 20 - 24 | 2133 | 1575 | 1537 | 1440 | 1537 | 1014 | 994 | 850 |
| 25 - 29 | 1718 | 1553 | 1596 | 1712 | 1322 | 1179 | 1169 | 1213 |
| 30 - 34 | 881 | 893 | 946 | 996 | 671 | 671 | 669 | 747 |
| 35 - 39 | 454 | 402 | 415 | 495 | 321 | 282 | 282 | 339 |
| 40 - 44 | 92 | 106 | 85 | 107 | 58 | 62 | 58 | 65 |
| 45 un vairāk | 4 | 5 | 7 | 5 | 4 | 3 | 3 | 3 |
| nav uzrādīts | ||||||||
| vecums | 19 | 19 | 7 | 3 | - | - | - | - |
| 3.-19. 1999. gadā MIRUŠO DZIMUMA UN VECUMA STRUKTŪRA | ||||||||
| Mirušo skaits | Uz 1000 attiecīgā vecuma | |||||||
| un dzimuma grupas iedzīvotājiem | ||||||||
| pavisam | vīrieši | sievietes | pavisam | vīrieši | sievietes | |||
| Kopā | 10131 | 4983 | 5148 | 12.8 | 13.9 | 11.8 | ||
| Tai skaitā | ||||||||
| vecumā (gadi) | ||||||||
| 0 | 62 | 31 | 31 | 12.2 | 11.9 | 12.6 | ||
| 1-4 | 12 | 6 | 6 | 0.6 | 0.6 | 0.6 | ||
| 0-4 | 74 | 37 | 37 | 2.9 | 2.8 | 3.0 | ||
| 5-9 | 11 | 9 | 2 | 0.3 | 0.4 | 0.1 | ||
| 10-14 | 11 | 9 | 2 | 0.2 | 0.3 | 0.1 | ||
| 15-19 | 44 | 31 | 13 | 0.8 | 1.1 | 0.5 | ||
| 20-24 | 92 | 68 | 24 | 1.7 | 2.6 | 0.9 | ||
| 25-29 | 111 | 90 | 21 | 1.9 | 3.0 | 0.7 | ||
| 30-34 | 128 | 98 | 30 | 2.2 | 3.3 | 1.1 | ||
| 35-39 | 186 | 145 | 41 | 3.0 | 4.9 | 1.2 | ||
| 40-44 | 311 | 218 | 93 | 5.0 | 7.6 | 2.8 | ||
| 45-49 | 384 | 266 | 118 | 6.9 | 10.7 | 3.8 | ||
| 50-54 | 591 | 401 | 190 | 12.1 | 19.1 | 6.8 | ||
| 55-59 | 651 | 420 | 231 | 13.6 | 21.4 | 8.2 | ||
| 60-64 | 982 | 649 | 333 | 20.1 | 33.4 | 11.4 | ||
| 65-69 | 1104 | 654 | 450 | 26.7 | 41.4 | 17.7 | ||
| 70-74 | 1450 | 720 | 730 | 39.3 | 60.7 | 29.2 | ||
| 75-79 | 1288 | 449 | 839 | 58.4 | 76.6 | 51.8 | ||
| 80-84 | 950 | 299 | 651 | 92.8 | 111.7 | 86.2 | ||
| 85 un | 1763 | 420 | 1343 | 195.1 | 217.5 | 189.0 | ||
| vairāk | ||||||||
| 3.-20. IEDZĪVOTĀJU NĀVES CĒLOŅI 1999.gadā | ||||||||
| Nāves cēloņi | Mirušo skaits | Uz 100 000 iedzīvotājiem | ||||||
| pavisam | vīrieši | sievietes | pavisam | vīrieši | sievietes | |||
| Pavisam | 10131 | 4983 | 5148 | 1278 | 1391 | 1185 | ||
| Infekcijas un | ||||||||
| parazitārās slimības | 122 | 79 | 43 | 15 | 22 | 10 | ||
| Audzēji | 1971 | 993 | 978 | 249 | 277 | 225 | ||
| Asins un asinsrades | ||||||||
| orgānu slimības un | ||||||||
| imūnsistēmas traucējumi | 7 | 3 | 4 | 0.9 | 0.8 | 0.9 | ||
| Endokrīnās, uztures | ||||||||
| un vielmaiņas slimības | 87 | 30 | 57 | 11 | 8 | 13 | ||
| Psihiski un uzvedības | ||||||||
| traucējumi | 71 | 50 | 21 | 9 | 14 | 5 | ||
| Nervu sistēmas slimības | 78 | 41 | 37 | 10 | 11 | 9 | ||
| Ausu un aizauss | ||||||||
| paugura slimības | 2 | 1 | 1 | 0.3 | 0.3 | 0.2 | ||
| Asinsrites sistēmas | ||||||||
| slimības | 5598 | 2386 | 3212 | 706 | 666 | 740 | ||
| Elpošanas sistēmas | ||||||||
| slimības | 263 | 179 | 84 | 33 | 50 | 19 | ||
| Gremošanas sistēmas | ||||||||
| slimības | 305 | 151 | 154 | 39 | 42 | 36 | ||
| Ādas un zemādas | ||||||||
| audu slimības | 12 | 2 | 10 | 2 | 1 | 3 | ||
| Skeleta, muskuļu | ||||||||
| un saistaudu slimības | 22 | 8 | 14 | 3 | 2 | 3 | ||
| Urogenitālās sistēmas | ||||||||
| slimības | 132 | 71 | 61 | 17 | 20 | 14 | ||
| Grūtniecība, dzemdības | ||||||||
| un pēcdzemdību periods | 2*) | - | 2*) | 0.5*) | - | 0.5*) | ||
| Noteikti perinatālā | ||||||||
| perioda stāvokļi | 47 | 25 | 22 | 6 | 7 | 5 | ||
| Iedzimtas kroplības, | ||||||||
| deformācijas un | ||||||||
| hromosomu anomālijas | 27 | 13 | 14 | 3 | 4 | 3 | ||
| Citur neklasificēti | ||||||||
| simptomi, pazīmes | ||||||||
| un anomāla klīniska | ||||||||
| un laboratorijas atrade | 167 | 93 | 74 | 21 | 26 | 17 | ||
| Ārēji slimību | ||||||||
| un nāves cēloņi | 1218 | 858 | 360 | 154 | 240 | 83 | ||
| *) Uz 100 000 sievietēm | ||||||||
| 3.-21. MIRSTĪBA TRANSPORTA NEGADĪJUMOS | ||||||||
| Gads | Mirušo skaits | Uz 100 000 iedzīvotājiem | ||||||
| 1975 | 168 | 21.0 | ||||||
| 1980 | 209 | 24.9 | ||||||
| 1990 | 323 | 35.5 | ||||||
| 1992 | 281 | 31.7 | ||||||
| 1993 | 303 | 35.0 | ||||||
| 1994 | 360 | 42.5 | ||||||
| 1995 | 227 | 27.2 | ||||||
| 1996 | 172 | 20.9 | ||||||
| 1997 | 182 | 22.4 | ||||||
| 1998 | 183 | 22.8 | ||||||
| 1999 | 175 | 22.1 | ||||||
| 3-22. SLEPKAVĪBAS UN PAŠNĀVĪBAS | ||||||||
| Gads | Slepkavības | Pašnāvības | ||||||
| pavisam | uz 100 000 | pavisam | uz 100 000 | |||||
| iedzīvotājiem | iedzīvotājiem | |||||||
| 1935 | 11 | 2.9 | 142 | 37.0 | ||||
| 1945 | 85 | 32.7 | 79 | 30.4 | ||||
| 1980 | 59 | 7.0 | 235 | 28.0 | ||||
| 1990 | 105 | 11.6 | 174 | 19.1 | ||||
| 1991 | 133 | 14.8 | 202 | 22.4 | ||||
| 1992 | 181 | 21.4 | 240 | 27.1 | ||||
| 1993 | 255 | 29.5 | 282 | 32.6 | ||||
| 1994 | 276 | 32.5 | 254 | 30.0 | ||||
| 1995 | 217 | 26.0 | 258 | 31.0 | ||||
| 1996 | 169 | 20.6 | 252 | 30.7 | ||||
| 1997 | 153 | 18.9 | 233 | 28.7 | ||||
| 1998 | 129 | 16.1 | 216 | 27.0 | ||||
| 1999 | 128 | 16.2 | 206 | 26.0 | ||||
| 1999. gadā pilsētā pašnāvību izdarījuši 154 vīrieši un 52 sievietes (1998. gadā attiecīgi 161 un 55). | ||||||||
| 3.-23. SLEPKAVĪBĀ UN PAŠNĀVĪBĀ MIRUŠO SADALĪJUMS | ||||||||
| PA VECUMA GRUPĀM 1999. gadā | ||||||||
| Slepkavības | Pašnāvības | |||||||
| pavisam | uz 100 000 attiecīgā | pavisam | uz 100 000 attiecīgā | |||||
| vecuma iedzīvotājiem | vecuma iedzīvotājiem | |||||||
| Pavisam | 128 | 16.2 | 206 | 26.0 | ||||
| Tai skaitā | ||||||||
| vecumā (gadi): | ||||||||
| 0-4 | - | - | - | - | ||||
| 5-9 | - | - | - | - | ||||
| 10-14 | - | - | - | - | ||||
| 15-19 | 1 | 1.8 | 6 | 10.8 | ||||
| 20-24 | 9 | 16.8 | 11 | 20.5 | ||||
| 25-29 | 16 | 27.2 | 16 | 27.2 | ||||
| 30-34 | 11 | 19.3 | 15 | 26.3 | ||||
| 35-39 | 15 | 23.9 | 23 | 36.6 | ||||
| 40-44 | 19 | 30.5 | 20 | 32.1 | ||||
| 45-49 | 13 | 23.2 | 24 | 42.9 | ||||
| 50-54 | 15 | 30.7 | 19 | 38.9 | ||||
| 55-59 | 8 | 16.7 | 20 | 41.7 | ||||
| 60-64 | 12 | 24.6 | 19 | 39.0 | ||||
| 65-69 | 4 | 1.0 | 5 | 12.1 | ||||
| 70-74 | 1 | 2.7 | 10 | 27.1 | ||||
| 75-79 | 2 | 9.1 | 6 | 27.2 | ||||
| 80 un | ||||||||
| vecāki | 2 | 10.4 | 12 | 62.3 | ||||
| No visiem mirušajiem | ||||||||
| darbspējas | ||||||||
| vecumā | 108 | 22.3 | 153 | 31.6 | ||||
| 3.-24. ZĪDAIŅU MIRSTĪBA | ||||||||
| (vecumā līdz 1 gadam mirušo bērnu skaits) | ||||||||
| Gads | Pavisam miruši | Tai skaitā | Uz 1000 dzīvi dzimušajiem | |||||
| zīdaiņi | ||||||||
| zēni | meitenes | pavisam miruši | tai skaitā | |||||
| zēni | meitenes | |||||||
| 1981 | 212 | 128 | 84 | 18.8 | 21.6 | 15.7 | ||
| 1985 | 173 | 97 | 76 | 13.8 | 15.1 | 12.5 | ||
| 1986 | 180 | 101 | 79 | 13.8 | 15.1 | 12.4 | ||
| 1987 | 144 | 84 | 60 | 11.1 | 12.7 | 9.5 | ||
| 1988 | 139 | 84 | 55 | 11.2 | 13.2 | 9.2 | ||
| 1989 | 126 | 81 | 45 | 10.9 | 13.5 | 8.2 | ||
| 1990 | 139 | 82 | 57 | 12.8 | 14.9 | 10.9 | ||
| 1991 | 151 | 97 | 54 | 15.5 | 19.3 | 11.5 | ||
| 1992 | 135 | 72 | 63 | 16.0 | 16.7 | 15.3 | ||
| 1993 | 94 | 58 | 36 | 13.9 | 16.8 | 11.0 | ||
| 1994 | 96 | 51 | 45 | 15.2 | 16.1 | 14.6 | ||
| 1995 | 121 | 76 | 45 | 20.7 | 25.0 | 16.0 | ||
| 1996 | 77 | 42 | 35 | 14.6 | 15.3 | 13.7 | ||
| 1997 | 77 | 41 | 36 | 15.5 | 15.6 | 15.4 | ||
| 1998 | 65 | 39 | 26 | 13.3 | 15.4 | 11.1 | ||
| 1999 | 62 | 31 | 31 | 12.3 | 11.9 | 12.6 | ||
| Perinatālā mirstība Rīgā | ||||||||
|
( uz 1000 dzīvi un nedzīvi dzimušajiem)
|
||||||||
| 3.-25. ZĪDAIŅU NĀVES CĒLOŅI | ||||||||
| (vecumā līdz 1 gadam mirušo bērnu skaits) | ||||||||
| Mirušo skaits | Uz 10 000 dzimušajiem | |||||||
| pavisam | zēni | meitenes | pavisam | zēni | meitenes | |||
| Pavisam miruši | ||||||||
| zīdaiņi | 62 | 31 | 31 | 123 | 119 | 126 | ||
| Tai skaitā pa | ||||||||
| nāves cēloņiem : | ||||||||
| infekcijas un parazitārās | ||||||||
| slimības | 1 | 1 | 0 | 2 | 4 | - | ||
| asinsrites sistēmas | 1 | 0 | 1 | 2 | - | 4 | ||
| noteikti perinatālā | ||||||||
| perioda stāvokļi | 46 | 24 | 22 | 91 | 92 | 89 | ||
| iedzimtas kroplības, | ||||||||
| deformācijas un | ||||||||
| hromosomu anomālijas | 13 | 5 | 8 | 25 | 19 | 32 | ||
| citur neklasificēti | ||||||||
| simptomi, pazīmes un | ||||||||
| anomāla klīniska un | ||||||||
| laboratorijas atrade | 1 | 1 | 0 | 2 | 4 | - | ||
| 3.-26. JAUNDZIMUŠO PAREDZAMAIS MŪŽA ILGUMS (gados ) | ||||||||
| 1994 | 1995 | 1997 | 1998 | 1999 | ||||
| Vīrieši | 60.7 | 58.8 | 65.5 | 66.0 | 66.4 | |||
| Sievietes | 71.7 | 72.1 | 76.5 | 76.0 | 76.2 | |||
| 3. -27. IEDZĪVOTĀJU ILGTERMIŅA MIGRĀCIJA | ||||||||
| Gads | Iebrauca | Izbrauca | Migrācijas pieaugums | |||||
| pavisam | vidēji gadā | pavisam | vidēji gadā | pavisam | vidēji gadā | |||
| 1951 - 1960 | 407171 | 40717 | 314492 | 31449 | 92679 | 9268 | ||
| 1961 - 1970 | 314722 | 31472 | 231364 | 23136 | 83358 | 8336 | ||
| 1971 - 1980 | 344038 | 34404 | 262032 | 26203 | 82006 | 8201 | ||
| 1981 - 1990 | 276832 | 27683 | 229876 | 22988 | 46956 | 4696 | ||
| 1991 - 1995 | 40721 | 8145 | 94856 | 18971 | -54135 | -10826 | ||
| 1991 | 12072 | 19044 | -6972 | |||||
| 1992 | 6969 | 26774 | -19805 | |||||
| 1993 | 6835 | 18652 | -11817 | |||||
| 1994 | 7171 | 16456 | -9285 | |||||
| 1995 | 7676 | 13930 | -6254 | |||||
| 1996 | 7911 | 13207 | -5296 | |||||
| 1997 | 8077 | 12478 | -4401 | |||||
| 1998 | 7529 | 11283 | -3754 | |||||
| 1999 | 6546 | 9928 | -3382 | |||||
|
Imigrācijas un emigrācijas apjomi Rīgā 1991. -1999. gadā
( tūkst. cilv .)
|
||||||||
| 3.-28. IEDZĪVOTĀJU ILGTERMIŅA MIGRĀCIJA PA PLŪSMĀM | ||||||||
| 1995 | 1997 | 1998 | 1999 | |||||
| Iebrauca - pavisam | 7676 | 8077 | 7529 | 6546 | ||||
| Tai skaitā: | ||||||||
| no Lietuvas | 23 | 15 | 19 | 17 | ||||
| no Igaunijas | 15 | 12 | 19 | 12 | ||||
| no NVS | 632 | 483 | 881 | 627 | ||||
| no citām valstīm | 151 | 209 | 440 | 240 | ||||
| pārvietošanās valsts robežās | 6855 | 7058 | 6170 | 5650 | ||||
| Izbrauca - pavisam | 13930 | 12478 | 11283 | 9928 | ||||
| Tai skaitā: | ||||||||
| uz Lietuvu | 92 | 57 | 34 | 26 | ||||
| uz Igauniju | 15 | 4 | 8 | 4 | ||||
| uz NVS | 5136 | 2748 | 1992 | 1062 | ||||
| uz citām valstīm | 1169 | 1348 | 1370 | 926 | ||||
| pārvietošanās valsts robežās | 7518 | 8321 | 7879 | 7910 | ||||
| Migrācijas saldo - pavisam | -6254 | -4401 | -3754 | -3382 | ||||
| Tai skaitā: | ||||||||
| Lietuva | -69 | -42 | -15 | -9 | ||||
| Igaunija | - | 8 | 11 | 8 | ||||
| NVS | -4504 | -1965 | -1111 | -435 | ||||
| citas valstis | -1018 | -1139 | -930 | -686 | ||||
| pārvietošanās valsts robežās | -663 | -1263 | -1709 | -2260 | ||||
|
Iedzīvotāju ilgtermiņa migrācija pa mēnešiem 1999. gadā
|
||||||||
| 3.-29. MIGRĒJOŠO IEDZĪVOTĀJU VECUMA STRUKTŪRA | ||||||||
| Iebrauca | Izbrauca | Migrācijas saldo | ||||||
| 1998 | 1999 | 1998 | 1999 | 1998 | 1999 | |||
| Pavisam | 7529 | 6546 | 11283 | 9928 | -3754 | -3382 | ||
| Tai skaitā | ||||||||
| vecumā (gadi): | ||||||||
| 0-4 | 323 | 290 | 452 | 401 | -129 | -111 | ||
| 5-9 | 455 | 378 | 679 | 566 | -224 | -188 | ||
| 10-14 | 338 | 294 | 681 | 591 | -343 | -297 | ||
| 15-19 | 1725 | 1576 | 1010 | 872 | 715 | 704 | ||
| 20-24 | 1190 | 989 | 1610 | 1453 | -420 | -464 | ||
| 25-29 | 882 | 798 | 948 | 881 | -66 | -83 | ||
| 30-34 | 621 | 505 | 812 | 682 | -191 | -177 | ||
| 35-39 | 467 | 363 | 808 | 727 | -341 | -364 | ||
| 40-44 | 324 | 283 | 726 | 660 | -402 | -377 | ||
| 45-49 | 270 | 193 | 611 | 496 | -341 | -303 | ||
| 50-54 | 166 | 191 | 555 | 501 | -389 | -310 | ||
| 55-59 | 181 | 151 | 544 | 502 | -363 | -351 | ||
| 60 un | ||||||||
| vecāki | 587 | 535 | 1847 | 1596 | -1260 | -1061 | ||
| No kopskaita: | ||||||||
| darbspējas | ||||||||
| vecumā | 5757 | 4990 | 7419 | 6597 | -1662 | -1607 | ||
| vecāki par | ||||||||
| darbspējas vecumu | 656 | 594 | 2052 | 1773 | -1396 | -1179 | ||
| 3.-30. MIGRĒJOŠO IEDZĪVOTĀJU SADALĪJUMS PĒC TAUTĪBĀM | ||||||||
| Iebrauca | Izbrauca | |||||||
| 1998 | 1999 | 1998 | 1999 | |||||
| Pavisam | 7529 | 6546 | 11283 | 9928 | ||||
| Tai skaitā tautības: | ||||||||
| latvieši | 4404 | 3938 | 5256 | 4962 | ||||
| krievi | 2015 | 1706 | 3997 | 3371 | ||||
| ukraiņi | 208 | 221 | 448 | 391 | ||||
| baltkrievi | 251 | 181 | 401 | 322 | ||||
| lietuvieši | 65 | 63 | 81 | 69 | ||||
| igauņi | 9 | 7 | 16 | 10 | ||||
| poļi | 117 | 112 | 152 | 161 | ||||
| ebreji | 72 | 42 | 645 | 391 | ||||
| čigāni | 16 | 28 | 49 | 42 | ||||
| vācieši | 27 | 17 | 69 | 39 | ||||
| citas tautības | 345 | 231 | 169 | 170 | ||||
| 3.-31. MIGRĒJOŠO IEDZĪVOTĀJU SADALĪJUMS PĒC IZGLĪTĪBAS LĪMEŅA | ||||||||
| Iebrauca | Izbrauca | |||||||
| 1998 | 1999 | 1998 | 1999 | |||||
| Pavisam | 7529 | 6546 | 11283 | 9928 | ||||
| Tai skaitā pēc izglītības: | ||||||||
| augstākā | 1096 | 995 | 1769 | 1601 | ||||
| nepabeigta augstākā | 237 | 233 | 343 | 275 | ||||
| vidējā speciālā | 1156 | 1022 | 2483 | 2188 | ||||
| vispārējā vidējā | 2693 | 2398 | 2881 | 2561 | ||||
| nepilna vidējā | 474 | 382 | 711 | 582 | ||||
| pamatskolas un zemāka | 1873 | 1516 | 3096 | 2721 | ||||
| 3.-32. PASTĀVĪGO DZĪVES VIETU MAINĪJUŠIE | ||||||||
| PĒC TO MIGRĀCIJAS MOTĪVIEM | ||||||||
| 1998 | 1999 | |||||||
| Pierakstījušos skaits | 7529 | 6546 | ||||||
| Tai skaitā: | ||||||||
| bērni pie vecākiem | 1465 | 1388 | ||||||
| darba maiņa | 253 | 173 | ||||||
| pie dzīvesbiedra | 898 | 861 | ||||||
| uz mācībām | 2087 | 1802 | ||||||
| dzīvokļa maiņa | 292 | 144 | ||||||
| dzīvokļa saņemšana | 326 | 192 | ||||||
| personiskā īpašuma iegūšana | 920 | 953 | ||||||
| vecāki pie bērniem | 304 | 305 | ||||||
| apakšīrnieki | 242 | 336 | ||||||
| citi motīvi | 742 | 392 |
|
4. Nodarbinātība Šajā iedaļā par reģistrēto nestrādājošo un bezdarbnieku skaitu un bezdarbnieka pabalsta saņēmēju skaitu izmantota Nodarbinātības valsts dienesta informācija, par bezdarbnieka pabalsta saņēmēju skaitu - Valsts sociālās apdrošināšanas fonda informācija. Saskaņā ar Starptautiskās darba organizācijas standartiem valsts iedzīvotāji tiek iedalīti ekonomiski aktīvajos un ekonomiski neaktīvajos. Ekonomiski aktīvie iedzīvotāji ir abu dzimumu personas, kas pārskata periodā piedāvā savu darbu materiālo vērtību ražošanai vai pakalpojumu sniegšanai. Tie ietver kā civilos ekonomiski aktīvos iedzīvotājus, tā arī personas, kas dien armijā. Ekonomiski aktīvie iedzīvotāji sastāv no nodarbinātajiem un nestrādājošajiem iedzīvotājiem, kuri aktīvi meklē darbu (gan reģistrētie Nodarbinātības valsts dienestā, gan nereģistrētie). Ekonomiski neaktīvie iedzīvotāji ir abu dzimumu personas neatkarīgi no vecuma, ieskaitot personas, kas jaunākas par darbspējas vecumu, kuras nevar pieskaitīt ne pie nodarbinātajiem iedzīvotājiem, ne arī pie darba meklētājiem (mājsaimnieces, nestrādājošie invalīdi, mācību un citu iestāžu audzēkņi un studenti darbspējas vecumā, kas nestrādā un nemeklē darbu, nestrādājošie pensionāri u.c.). Nodarbināto iedzīvotāju skaitā ietilpst sabiedriskajā sektorā (valsts iestādēs un uzņēmumos, sabiedriskajās un reliģiskajās organizācijās un to uzņēmumos, uzņēmējsabiedrībās ar valsts kapitāla daļu 50% un vairāk) un privātajā sektorā (uzņēmējsabiedrībās ar valsts kapitāla daļu līdz 50%, visu veidu uzņēmējsabiedrībās bez valsts kapitāla daļas, individuālajos uzņēmumos, arī zemnieku saimniecībās, piemājas un personiskajās palīgsaimniecībās, individuālajā darbā) nodarbinātie. To skaitā neietilpst mācību iestāžu audzēkņi darbspējas vecumā, kas mācās, bet nestrādā algotu darbu. Nodarbināto iedzīvotāju vidējais skaits tiek rēķināts, pamatojoties uz darbaspēka izlases apsekojuma rezultātiem, uzņēmumu pārskatu datiem, kā arī atsevišķu nozaru statistikas informāciju. Nodarbinātības valsts dienestā reģistrēto nestrādājošo skaitā ietilpst darbspējas vecuma personas, kas pārskata periodā bija bez darba, aktīvi meklēja darbu un bija gatavas nekavējoties sākt strādāt. Saskaņā ar Latvijas Republikas likumu "Par nodarbinātību" par bezdarbnieku atzīstams darba spējīgs nestrādājošs Latvijas Republikas pilsonis vai ārvalstnieks (bezvalstnieks), kurš saņēmis pastāvīgas uzturēšanās atļauju vai kuram pasē ir Iedzīvotāju reģistra atzīme ar personas kodu, ir darbspējas vecumā, kuram nav citu ienākumu vismaz minimālās darba algas apmērā, kurš neveic uzņēmējdarbību, meklē darbu un ir reģistrēts Nodarbinātības valsts dienestā pēc pieraksta vietas un vismaz reizi mēnesī griežas šajā dienestā. Starpību starp nestrādājošo un bezdarbnieku skaitu veido reģistrētie nestrādājošie, kuri nav ieguvuši bezdarbnieka statusu vai kuri gaida lēmumu par bezdarbnieka statusa piešķiršanu. Ilgstošais bezdarbnieks ir bezdarbnieks, kas darbu nevar atrast ilgāk nekā 12 mēnešus. Bezdarba līmenis - Nodarbinātības valsts dienestā reģistrēto un bezdarbnieku statusu ieguvušo īpatsvars ekonomiski aktīvo iedzīvotāju kopskaitā gada beigās, procentos. Par darba meklētājiem tiek uzskatītas visas personas, kas nestrādā un nav pagaidu prombūtnē no darba, aktīvi meklē darbu un tā atrašanas gadījumā ir gatavas sākt darbu. To skaits aprēķināts pamatojoties uz darbaspēka izlases apsekojuma razultātiem. Darba meklētāju īpatsvars - nestrādājošo darba meklētāju (gan Nodarbinātības valsts dienestā reģistrēto, gan nereģistrēto) īpatsvars ekonomiski aktīvo iedzīvotāju kopskaitā vidēji gadā, procentos. Darbaspēka izlasveida apsekojums (DA) sācies 1995. gada novembrī, turpmāk notiek katra gada maijā un novembrī, un tā mērķis ir iegūt detalizētu informāciju par situāciju Latvijas darba tirgū, par iedzīvotāju ekonomisko aktivitāti. DA tiek veikts, intervētājiem aptaujājot mājsaimniecībās dzīvojošas peronas 15 un vairāk gadu vecumā. Aptaujas lapās iekļauti būtiski iedzīvotāju darbību raksturojoši jautājumi, un tās sagatavotas saskaņā ar Starptautiskās darba organizācijas izstrādāto un starptautiski pieņemto metodoloģiju darbaspēka apsekojumu jomā, kas nodrošina iegūtās informācijas salīdzināmību ar citām valstīum. DA sniedz informāciju par iedzīvotāju, tai skaitā ekonomiski aktīvo iedzīvotāju, skaitu sadalījumā pēc dažādām pazīmēm (dzimuma, vecuma, izglītības, dzīves vietas, nodarbinātības statusa, veicamā darba veida, darba vietas ekonomiskās darbības veida, tās atrašanās vietas un īpašuma formas, amatiem un profesijām, nostrādātā laika u.tml.), kā arī ekonomiski neaktīvo iedzīvotāju un nestrādājošo darba meklētāju skaitu. Apsekojumā visi jautājumi tiek uzdoti par apsekojuma nedēļu, t.i., kalendāro nedēļu no pirmdienas līdz svētdienai pirms intervijas dienas. 1999. gada novembrī DA nejaušās izlases rezultātā Rīgā tika atlasītas 1700 mājsaimniecības, kurās aptaujāja visus mājsaimniecības locekļus 15 un vairāk gadu vecumā (kopsummā apmēram 3500 cilvēku).
4.-1. EKONOMISKI AKTĪVO IEDZĪVOTĀJU GADA VIDĒJAIS SKAITS
|