
Ministru kabineta noteikumi: Šajā laidienā 7 Pēdējās nedēļas laikā 33 Visi
Ministru kabineta noteikumi Nr. 541
Rīgā 2015. gada 29. septembrī (prot. Nr. 51 10. §)
Noteikumi par militārā lidlauka un militārās aviācijas poligona darbības drošībai potenciāli bīstamo objektu marķēšanu un aprīkošanu ar aizsarggaismām
Izdoti saskaņā ar likuma "Par aviāciju"
113.2 panta ceturto daļu un 113.3 panta ceturto daļu
I. Vispārīgie jautājumi
1. Noteikumi nosaka kārtību, kādā militārā lidlauka un militārās aviācijas poligona darbības drošībai potenciāli bīstamu objektu īpašnieki un valdītāji marķē un aprīko ar aizsarggaismām objektus (turpmāk – marķējamie objekti):
1.1. kuru absolūtais augstums par 30 metriem un vairāk pārsniedz militārā lidlauka kontrolpunkta absolūto augstumu (piecu kilometru rādiusā no tā) vai kuri sasniedz vai pārsniedz jebkuru lidlauka šķēršļu ierobežošanas virsmu;
1.2. kuri neatkarīgi no to augstuma atradīsies militāro gaisa kuģu pacelšanās vai nosēšanās sektorā, – divu kilometru attālumā no skrejceļa tuvākā sliekšņa;
1.3. kuru absolūtais augstums par 75 metriem un vairāk pārsniedz militārās aviācijas poligona augstāko vietu (zemes virsmu) poligona ģeogrāfiskajā reljefā, – 15 kilometru attālumā no militārās aviācijas poligona ārējās malas.
2. Marķējamos objektus marķē un aprīko ar aizsarggaismām, ievērojot šajos noteikumos paredzētos nosacījumus, kurus iekļauj Aizsardzības ministrijas izsniegtajā atļaujā militārā lidlauka un militārās aviācijas poligonu darbības drošībai potenciāli bīstamu objektu būvēšanai, ierīkošanai un izvietošanai (turpmāk – Aizsardzības ministrijas atļauja). Nosacījumus marķējamo objektu – būvju – marķēšanai un aprīkošanai ar aizsarggaismām var iekļaut Aizsardzības ministrijas atļaujai pievienotajos tehniskajos noteikumos.
3. Ja marķējamais objekts ir valsts aizsargājams kultūras piemineklis, tā marķēšanu vai aprīkošanu ar aizsarggaismām veic, ievērojot kultūras pieminekļu aizsardzības prasības, lai nepazeminātu kultūras pieminekļa vērtību. Pašvaldības noteiktu kultūrvēsturisku marķējamo objektu marķēšanu vai aprīkošanu ar aizsarggaismām veic tā, lai nepazeminātu marķējamā objekta kultūrvēsturisko vērtību.
II. Marķējamo objektu marķēšanas nosacījumi
4. Marķējamo objektu marķē (krāso):
4.1. secīgās kontrastējošu krāsu joslās, ja tam ir vienlaidu virsmas, kuru viena mala horizontālā vai vertikālā virzienā pārsniedz 1,5 metrus, bet otra mala nav īsāka par 4,5 metriem, vai ja tam ir karkasveida forma, kuras augstums vai platums pārsniedz 1,5 metrus. Joslas veido perpendikulāri lielākajai dimensijai, to platumu izraugās saskaņā ar šo noteikumu 1. pielikumu. Lai joslas kontrastētu ar apkārtējo fonu, izmanto oranžo un balto krāsu, izņemot gadījumu, ja šīs krāsas saplūst ar apkārtni. Joslas marķējamā objekta galos krāso tumšākas (1. un 2. pielikums);
4.2. rūtainu, ja tam ir vienlaidu virsmas un to projekcija uz vertikālās plaknes nav mazāka par 4,5 metriem abās dimensijās. Rūtis veido kā taisnstūrus ar malu garumu, ne mazāku par 1,5 metriem un ne lielāku par trim metriem, stūrus krāso tumšākus (1. pielikums). Rūtainam marķējumam izmanto oranžo un balto vai sarkano un balto krāsu, izņemot gadījumu, ja šīs krāsas saplūst ar apkārtni;
4.3. vienā labi saskatāmā krāsā, ja tā projekcija uz vertikālās plaknes ir mazāka par 1,5 metriem abās dimensijās. Izmanto oranžu vai sarkanu krāsu, izņemot gadījumu, ja šīs krāsas saplūst ar apkārtni.
5. Šo noteikumu 4. punktā minētajos gadījumos nepieciešamā kontrasta iegūšanai var izmantot arī citas krāsas.
6. Marķierus (vienkrāsainus sfēriskas formas priekšmetus ar diametru, ne mazāku par 60 centimetriem), kuri novietoti uz marķējamiem objektiem vai tieši blakus tiem un nav augstāki par pašiem marķējamiem objektiem, uzstāda tā, lai marķējamo objektu varētu identificēt skaidrā laikā vismaz 1000 metru attālumā no gaisa un 300 metru attālumā no zemes un tie nepaaugstinātu marķējamā objekta bīstamību.
7. Intervāls starp diviem blakus esošiem marķieriem vai starp marķieri un balstu ir:
7.1. 30–35 metri, ja marķiera diametrs ir 60–80 centimetru;
7.2. 35–40 metru, ja marķiera diametrs ir 80–130 centimetru;
7.3. 40 metru un vairāk, ja marķiera diametrs ir 130 centimetru un vairāk.
8. Ja ir vairāki gaisa vadi vai kabeļi, marķieri novieto punktā, kurš nav zemāks par visaugstākā vada līmeni.
9. Baltus, sarkanus vai oranžus marķierus novieto pārmaiņus.
10. Īslaicīgi izvietotus marķējamos objektus marķē, izmantojot šādus karodziņus:
10.1. vienkrāsainus oranžus karodziņus, kuru malas garums nav īsāks par 0,6 metriem. Ja oranžā krāsa saplūst ar apkārtni, izmanto citas labi atšķiramas krāsas;
10.2. rūtainus karodziņus, kuru malas garums nav īsāks par 0,9 metriem. Rūtainiem karodziņiem katra rūts mala nav īsāka par 0,3 metriem. Izmanto oranžu un baltu vai sarkanu un baltu krāsu. Ja šīs krāsas saplūst ar apkārtni, izmanto citas labi atšķiramas krāsas, lai karodziņi kontrastētu cits ar citu un ar fonu, uz kura tie redzami;
10.3. trīsstūrveida karodziņus, kuriem viena puse ir oranža, bet otra – balta vai viena puse sarkana, otra – balta. Ja šīs krāsas saplūst ar apkārtni, izmanto citas labi atšķiramas krāsas.
11. Marķējamo objektu marķēšanai paredzētos karodziņus izvieto ap marķējamo objektu, tā virsotnē vai ap marķējamā objekta visaugstāko malu ne retāk kā ik pēc 15 metriem.
III. Aizsarggaismu izmantošanas nosacījumi
12. Marķējamos objektus aprīko ar zemas, vidējas vai augstas intensitātes aizsarggaismām (3. pielikums) vai to kombinācijām. Aizsarggaismas uzstāda iespējami tuvāk marķējamā objekta augstākajam punktam, apzīmējot tos marķējamā objekta punktus vai malas, kuri ir visaugstākie attiecībā pret lidlauka šķēršļu ierobežošanas virsmu.
13. Ja marķējamā objekta platums un garums ir neliels un tā augstums virs atrašanās vietas reljefa ir mazāks par 45 metriem, izmanto A tipa zemas intensitātes aizsarggaismas, bet apdzīvotās vietās ar paaugstinātu fona spilgtumu – B tipa zemas intensitātes aizsarggaismas (2. pielikums).
14. Ja marķējamais objekts aizņem lielu platību vai tā augstums virs atrašanās vietas reljefa pārsniedz 45 metrus, izmanto A, B vai C tipa vidējas intensitātes aizsarggaismas. A un C tipa vidējas intensitātes aizsarggaismas izmanto atsevišķi, B tipa vidējas intensitātes aizsarggaismas izmanto atsevišķi vai kopā ar B tipa zemas intensitātes aizsarggaismām.
15. A tipa augstas intensitātes aizsarggaismas izmanto tādu marķējamo objektu apzīmēšanai, kuru augstums virs atrašanās vietas reljefa pārsniedz 150 metru, vai gadījumos, ja Nacionālo bruņoto spēku aeronavigācijas pētījuma rezultāti liecina, ka šādas gaismas ir nepieciešamas marķējamā objekta identificēšanai dienas laikā.
16. B tipa augstas intensitātes aizsarggaismas izmanto, lai apzīmētu gaisa vadu vai kabeļu balstus vietās, kur:
16.1. Nacionālo bruņoto spēku aeronavigācijas pētījumu rezultāti liecina, ka šādas gaismas ir nepieciešamas gaisa vadu vai kabeļu apzīmēšanai;
16.2. praktisku apsvērumu dēļ marķierus nav iespējams piestiprināt vadiem vai kabeļiem.
17. Izmantojot B tipa augstas intensitātes aizsarggaismas, tās izvieto trijos līmeņos:
17.1. balsta visaugstākajā punktā;
17.2. gaisa vadu vai kabeļu nokares līknes viszemākajā punktā;
17.3. vidū starp šo noteikumu 17.1. un 17.2. apakšpunktā minētajiem līmeņiem.
18. Apgaismojot marķējamos objektus, kas rada izmešus, augšējās aizsarggaismas izvieto 1,5–3 metrus zemāk par marķējamā objekta augstāko punktu (2. pielikums).
19. Ar pagaidu aizsarggaismām marķējamo objektu aprīko tā būvēšanas, ierīkošanas vai izvietošanas laikā, kad marķējamā objekta augstums sasniedz Aizsardzības ministrijas atļaujā noteikto līmeni.
20. Vēja ģeneratora gondolu aprīko ar divām aizsarggaismām tā, lai to izvietojums horizontālajā plaknē gaisa kuģa pilotam nodrošinātu ne mazāk kā vienas aizsarggaismas saskatāmību no jebkura virziena un aizsarggaismu darbības zona būtu 360 grādu.
21. Marķējamos objektus, kurus nevar aprīkot ar aizsarggaismām (piemēram, nostiprinātu gaisa balonu, baznīcas zvanu torni), var izgaismot ar trim vai vairāk starmešiem, kas izvietoti vienādā attālumā ap marķējamā objekta pamatni. Starmeši nodrošina ne mazāk kā 160 luksu vidējo apgaismojumu marķējamā objekta augšējai trešdaļai.
22. Ja A vai B tipa augstas intensitātes aizsarggaismu vai A tipa vidējas intensitātes aizsarggaismu izmantošana naktī var apžilbināt pilotus lidlauka apkārtnē 10 kilometru rādiusā un to apliecina Nacionālo bruņoto spēku aeronavigācijas pētījuma rezultāti, paredz divkāršu marķējamā objekta apgaismošanas sistēmu ar A vai B tipa augstas intensitātes aizsarggaismām vai, ja nepieciešams, ar A tipa vidējas intensitātes aizsarggaismām dienā un krēslas stundās un B vai C tipa vidējas intensitātes aizsarggaismām naktī.
23. Ja ar augstas intensitātes aizsarggaismām dienā nepieciešams apzīmēt mastu vai antenu, kuras virsotnē ir tāda papildierīce kā zibensnovedējs vai kuras augstums pārsniedz 12 metru, bet tās virsotnē nav iespējams uzstādīt augstas intensitātes aizsarggaismu, augstas intensitātes aizsarggaismu ierīko iespējami augstākā punktā, bet virsotnē, ja tas iespējams, ierīko A tipa vidējas intensitātes aizsarggaismu.
24. Ja lidlauka šķēršļu ierobežošanas virsma ir slīpa un marķējamā objekta augstākais punkts virs šīs virsmas nav šā marķējamā objekta visaugstākais punkts, izvieto papildu aizsarggaismas uz marķējamā objekta visaugstākās daļas.
25. Lai saskaņā ar šo noteikumu 26., 27., 28. un 29. punktu noteiktu atbilstošo aizsarggaismu līmeņu skaitu, par atskaites punktu izmanto zemes līmeni vai tā ekvivalentu – apkārt esošo ēku augstākos punktus (2. pielikums).
26. Ja marķējamais objekts ir apzīmēts ar A tipa vidējas intensitātes aizsarggaismām, bet tā visaugstākais punkts atrodas augstāk par 105 metriem, uz tā starp augšējām aizsarggaismām un zemes līmeni vai tuvumā esošo ēku augstākajiem punktiem vienādā attālumā citu no citas izvieto papildu aizsarggaismas tā, lai intervāli starp tām nepārsniegtu 105 metrus.
27. Ja marķējamais objekts ir apzīmēts ar B tipa vidējas intensitātes aizsarggaismām, bet tā visaugstākais punkts atrodas augstāk par 45 metriem, uz tā starp augšējām aizsarggaismām un zemes līmeni vai tuvumā esošo ēku augstākajiem punktiem papildus pamīšus izvieto B tipa zemas intensitātes aizsarggaismas un B tipa vidējas intensitātes aizsarggaismas tā, lai intervāli starp tām nepārsniegtu 52 metrus.
28. Ja marķējamais objekts ir apzīmēts ar C tipa vidējas intensitātes aizsarggaismām, bet tā visaugstākais punkts atrodas augstāk par 45 metriem, starp augšējām aizsarggaismām un zemes līmeni vai tuvumā esošo ēku augstākajiem punktiem vienādā attālumā citu no citas izvieto papildu aizsarggaismas tā, lai intervāli starp tām nepārsniegtu 52 metrus.
29. Ja marķējamais objekts ir apzīmēts ar A vai B tipa zemas intensitātes aizsarggaismām, bet tā visaugstākais punkts atrodas augstāk par 100 metriem, starp augšējām aizsarggaismām un zemes līmeni vai tuvumā esošo ēku augstākajiem punktiem vienādā attālumā citu no citas izvieto papildu aizsarggaismas tā, lai intervāli starp tām nepārsniegtu 45 metrus.
30. Ja starplīmeņos izmanto A tipa augstas intensitātes aizsarggaismas, tās izvieto vienādā attālumā citu no citas tā, lai intervāli nepārsniegtu 105 metrus starp zemes līmeni un šo noteikumu 23. punktā minēto augšējo aizsarggaismu (aizsarggaismām), izņemot gadījumu, ja, nosakot līmeņu skaitu, par zemes līmeņa ekvivalentu izmanto apkārtējo ēku augstāko punktu.
31. A un B tipa augstas intensitātes aizsarggaismu iestatīšanas leņķi atbilst šo noteikumu 3. pielikumā norādītajiem iestatīšanas leņķiem.
32. Zemas, vidējas un augstas intensitātes aizsarggaismu skaits un izvietojums katrā līmenī lidotājam nodrošina marķēšanai paredzētā objekta redzamību horizontālā plaknē no jebkura virziena, un aizsarggaismu darbības zona ir 360 grādu.
IV. Aizsarggaismu darbības raksturojumi
33. Uz marķējamā objekta izvietotās A un B tipa vidējas intensitātes un A tipa augstas intensitātes aizsarggaismas mirgo sinhroni.
34. B tipa augstas intensitātes aizsarggaismas, kas apzīmē gaisa vadus vai kabeļu balstus, mirgo secīgi – vispirms impulsu dod vidējā aizsarggaisma, tad aizsarggaisma, kura ir uzstādīta virsotnē, un beidzot apakšējā aizsarggaisma.
35. Gaisa vadus vai kabeļu balstus apzīmējošo B tipa augstas intensitātes aizsarggaismu intervālus starp impulsiem izvēlas šādi:
35.1. impulsu intervāls starp vidējo un augšējo aizsarggaismu ir 1/13 daļa no kopējā cikla;
35.2. impulsu intervāls starp augšējo un apakšējo aizsarggaismu ir 2/13 daļas no kopējā cikla;
35.3. impulsu intervāls starp apakšējo un vidējo aizsarggaismu ir 10/13 daļas no kopējā cikla.
Ministru prezidente Laimdota Straujuma
Aizsardzības ministrs Raimonds Bergmanis
1. pielikums
Ministru kabineta
2015. gada 29. septembra
noteikumiem Nr. 541
Marķēšanai paredzēto objektu marķējuma joslu platums
|
Marķēšanai paredzētā objekta lielākais izmērs (metri) |
Joslas platums no lielākā izmēra |
|
|
no |
līdz |
|
|
1,5 |
210 |
1/7 |
|
210 |
270 |
1/9 |
|
270 |
330 |
1/11 |
|
330 |
390 |
1/13 |
|
390 |
450 |
1/15 |
|
450 |
510 |
1/17 |
|
510 |
570 |
1/19 |
|
570 |
630 |
1/21 |
Marķēšanai paredzēto objektu marķējumu pamatshēmas
Aizsardzības ministrs Raimonds Bergmanis
2. pielikums
Ministru kabineta
2015. gada 29. septembra
noteikumiem Nr. 541
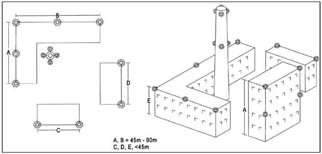
Augstu konstrukciju marķēšana un aprīkošana ar aizsarggaismām
1. attēls
Būvju aprīkošana ar aizsarggaismām
2. attēls
Aizsardzības ministrs Raimonds Bergmanis
3. pielikums
Ministru kabineta
2015. gada 29. septembra
noteikumiem Nr. 541
Augstas intensitātes aizsarggaismu iestatīšanas leņķi
|
Aizsarggaismas relatīvais augstums virs zemes/ūdens virsmas līmeņa |
Gaismas stara maksimālās intensitātes leņķis attiecībā pret horizontālo plakni |
|
Vairāk par 152 m |
0° |
|
122–151 m |
+1° |
|
92–122 m |
+2° |
|
Mazāk par 92 m |
+3° |
Aizsardzības ministrs Raimonds Bergmanis