• Atvērt paplašināto meklēšanu
  • Aizvērt paplašināto meklēšanu
Pievienot parametrus
Dokumenta numurs
Pievienot parametrus
publicēts
pieņemts
stājies spēkā
Pievienot parametrus
Aizvērt paplašināto meklēšanu
RĪKI

Ministru kabinets
Oficiālajā izdevumā publicē:
  • Ministru kabineta noteikumus, instrukcijas un ieteikumus. Tie stājas spēkā nākamajā dienā pēc izsludināšanas, ja tiesību aktā nav noteikts cits spēkā stāšanās termiņš;
  • Ministru kabineta rīkojumus. Tie stājas spēkā parakstīšanas brīdī;
  • Ministru kabineta sēdes protokollēmumus. Tie stājas spēkā pieņemšanas brīdī;
  • plānošanas dokumentus, kā arī informatīvos ziņojumus par politikas plānošanas dokumentu īstenošanu.
TIESĪBU AKTI, KAS PAREDZ OFICIĀLO PUBLIKĀCIJU PERSONAS DATU APSTRĀDE

Publikācijas atsauce

ATSAUCĒ IETVERT:
Ministru kabineta 2015. gada 16. jūnija noteikumi Nr. 310 "Noteikumi par Latvijas būvnormatīvu LBN 231-15 "Dzīvojamo un publisko ēku apkure un ventilācija"". Publicēts oficiālajā izdevumā "Latvijas Vēstnesis", 19.06.2015., Nr. 119 https://www.vestnesis.lv/op/2015/119.8

Paraksts pārbaudīts

NĀKAMAIS

Ministru kabineta rīkojums Nr.304

Grozījums Ministru kabineta 2010.gada 21.maija rīkojumā Nr.286 "Par Latvijas Republikas kandidatūrām dalībai Eiropas Ekonomikas un sociālo lietu komitejā"

Vēl šajā numurā

19.06.2015., Nr. 119

PAR DOKUMENTU

Izdevējs: Ministru kabinets

Veids: noteikumi

Numurs: 310

Pieņemts: 16.06.2015.

OP numurs: 2015/119.8

2015/119.8
RĪKI

Ministru kabineta noteikumi: Šajā laidienā 8 Pēdējās nedēļas laikā 40 Visi

Ministru kabineta noteikumi Nr.310

Rīgā 2015.gada 16.jūnijā (prot. Nr.29 6.§)

Noteikumi par Latvijas būvnormatīvu LBN 231-15 "Dzīvojamo un publisko ēku apkure un ventilācija"

Izdoti saskaņā ar Būvniecības likuma
5.panta pirmās daļas 3.punktu

1. Noteikumi apstiprina Latvijas būvnormatīvu LBN 231-15 "Dzīvojamo un publisko ēku apkure un ventilācija".

2. Ekonomikas ministrija sadarbībā ar attiecīgo standartu tehnisko komiteju iesaka nacionālajai standartizācijas institūcijai saistībā ar šiem noteikumiem izstrādājamo, adaptējamo un piemērojamo standartu sarakstu.

3. Nacionālā standartizācijas institūcija publicē tīmekļvietnē www.lvs.lv to Latvijas nacionālo standartu sarakstu, kurus piemēro Latvijas būvnormatīva LBN 231-15 "Dzīvojamo un publisko ēku apkure un ventilācija" izpildei.

4. Būvprojekti, kuri noteiktajā kārtībā izstrādāti vai iesniegti saskaņošanai būvvaldē līdz šo noteikumu spēkā stāšanās dienai atbilstoši attiecīgajā laikposmā piemēroto normatīvo aktu prasībām, nav jāpārstrādā atbilstoši Latvijas būvnormatīvam LBN 231-15 "Dzīvojamo un publisko ēku apkure un ventilācija".

Ministru prezidente Laimdota Straujuma

Ekonomikas ministre Dana Reizniece-Ozola



Apstiprināts ar
Ministru kabineta
2015.gada 16.jūnija
noteikumiem Nr.310

Latvijas būvnormatīvs LBN 231-15 "Dzīvojamo un publisko ēku apkure un ventilācija"

1. Vispārīgie jautājumi

1. Būvnormatīvs nosaka prasības, kas jāievēro, projektējot un ierīkojot jaunbūvējamo, atjaunojamo un pārbūvējamo dzīvojamo un publisko ēku apkures, ventilācijas un gaisa kondicionēšanas sistēmas, kā arī prasības cita lietošanas veida telpu apkures, ventilācijas un gaisa kondicionēšanas sistēmu projektēšanai un ierīkošanai dzīvojamās un publiskajās ēkās.

2. Būvnormatīvā lietoti šādi termini:

2.1. āra gaiss – gaiss tuvākajā apkārtnē ārpus ēkas;

2.2. cirkulācijas gaiss – gaiss, kas cirkulē telpā, vai nosūces gaiss, kas tiek ievadīts atpakaļ tajā pašā telpā;

2.3. dabiskā ventilācija – gaisa pārvietošanās gaisa blīvuma starpības vai vēja iedarbības dēļ;

2.4. divlīmeņu krāsns – vietējās apkures krāsns, kas izbūvēta divos blakusstāvos;

2.5. dūmeja – vietējās apkures ierīces mūrējumā (ķermenī) izveidotie kanāli, kas paredzēti degšanas produktu cirkulācijai;

2.6. dūmenis – uz pamata vai pamatu sijām balstīta vertikāla ugunsizturīga konstrukcija, kurā izbūvēti dūmkanāli, lai izvadītu no ēkas degšanas produktus, kas veidojas apkures ierīcē;

2.7. dūmkanāls – dūmenī vai degtnespējīgā sienā izbūvēts kanāls (parasti ar nemainīgu šķērsgriezumu), kas paredzēts degšanas produktu plūsmai;

2.8. dūmrovis – dūmkanāla posms, kas apkures ierīci savieno ar dūmeni;

2.9. gaisa kondicionēšana – automātiski vadāms gaisa apstrādes process, kas neatkarīgi no āra gaisa pārmaiņām un telpas gaisa piesārņojuma intensitātes uztur telpā vai tās daļā vēlamo gaisa kvalitāti;

2.10. gaisa kvalitāte – gaisa īpašības (gaisa sastāvs, putekļu un baktēriju koncentrācija, temperatūra, relatīvais mitrums, kustības ātrums), kas ietekmē cilvēku veselību vai komforta izjūtu;

2.11. infiltrācija – gaisa ieplūde ēkā caur nepietiekami noblīvētām norobežojošām konstrukcijām;

2.12. izvadāmais gaiss – gaiss, kas tiek izvadīts no ēkas;

2.13. inženiertīklu šahta (kanāls) – parasti ar vertikālām norobežojošām konstrukcijām, kam ir normēta ugunsizturības robeža, atdalīta gaisa telpa, kurā izvietoti ventilācijas gaisa vadu, kanalizācijas un citu inženiertīklu stāvvadi;

2.14. mehāniskā ventilācija – gaisa pārvietošana, izmantojot ventilatoru;

2.15. nosūces gaiss – gaiss, kas tiek izvadīts no telpas;

2.16. noplūde – nevēlama gaisa cirkulācija caur nepietiekami noblīvētiem gaisa vadiem;

2.17. pārplūdes gaiss – gaiss, kas plūst no vienas telpas uz otru;

2.18. pieplūdes gaiss – gaiss, kas tiek piegādāts telpai (āra gaiss, recirkulācijas gaiss, pārplūdes gaiss vai infiltrācijas gaiss);

2.19. recirkulācijas gaiss – gaiss, kas tiek ievadīts atpakaļ telpu grupā, no kuras tas tika izvadīts;

2.20. tranzīta gaisa vads – gaisa vads, kas šķērso telpu, kuru tas neapkalpo;

2.21. ugunsdrošības atdale – konstruktīva normatīvos noteikto minimālo izmēru izbūve no degtnespējīga materiāla, kas atdala dūmkanāla vai apkures ierīces iekšējo plakni no degtspējīgas ēkas konstrukcijas;

2.22. ugunsdrošības atkāpe – normatīvos noteiktais minimālais attālums no apkures ierīces ārējās plaknes līdz tai piegulošajai degtspējīgajai ēkas konstrukcijai;

2.23. ugunsdroša izolācija – degtnespējīgs pretuguns aizsargmateriāls, kas palielina konstrukcijas vai iekārtas ugunsizturības robežu;

2.24. ugunsdrošs vārsts – degtnespējīga ierīce vai konstrukcija ar normētu ugunsizturības robežu, kura nepieļauj uguns un dūmgāzu izplatīšanos pa gaisa vadiem no viena ugunsdrošības nodalījuma uz citu;

2.25. ventilācija – gaisa pārvietošana un apmaiņa telpās, lai uzturētu vēlamo telpas gaisa kvalitāti;

2.26. ventilācijas kamera – telpa, kurā izvieto ventilācijas iekārtas, kas apkalpo divus vai vairākus ugunsdrošības nodalījumus;

2.27. ventilācijas kanāls – kanāls, kas apkalpo vienu ugunsdrošības nodalījumu un ir savienots ar ventilācijas stāvvadu, ventilācijas kameru, iekārtām, kuras apkalpo ventilējamo telpu, vai tieši ar āra gaisu;

2.28. vēdināšana – periodiska telpas gaisa apmaiņa, kas rodas, atverot logus, durvis vai īpašas ailas, bez iespējas precīzi kontrolēt apmaināmā gaisa daudzumu;

2.29. vietējās apkures ierīce – telpā iebūvēta krāsns, virtuves pavards, vannasistabas krāsns, kamīns, kur sadedzina kurināmo, lai apsildītu telpu, gatavotu ēdienu vai sildītu ūdeni.

3. Ēku apkures, ventilācijas un gaisa kondicionēšanas sistēmu projektēšanā piemēro standartus, kuru sarakstu tīmekļa vietnē www.lvs.lv ir publicējusi nacionālā standartizācijas institūcija.

2. Apkure

2.1. Vispārīgās prasības

4. Centrālapkures katlus, centrālapkures katlu iekārtas, apkures krāsnis un kamīnus, ko kurina ar cieto vai šķidro kurināmo vai gāzi, kā arī citas apkures ierīces projektē un izbūvē tā, lai nerastos aizdegšanās, eksplozijas vai indīgu gāzu noplūdes risks, kā arī cita veida risks cilvēku veselībai un dzīvībai.

5. Centrālapkures sistēmas projektē un tajās izmanto katlu iekārtas, kuru konstrukcija un uzbūve atbilst piemērojamo standartu prasībām.

6. Apkures sistēmās un apkures ierīcēs atļauts iebūvēt tikai nedegošus materiālus un izstrādājumus, kuriem ir atbilstoša ugunsizturība, korozijas izturība un nepieciešamais gāznecaurlaidīgums.

7. Apkures ierīces projektē un izbūvē tā, lai jebkura ierīces tuvumā esoša degtspējīga materiāla vai konstrukcijas virsmas temperatūra nepārsniegtu 80°C.

8. Centrālapkures katlu iekārtas ugunsdrošība atbilst šī būvnormatīva 7. punktā noteiktajai prasībai, ja attālums no katla iekārtas ārējās virsmas līdz degtspējīgajam materiālam vai konstrukcijai ir ne mazāks par 150 mm.

9. Apkures ierīces projektē un izbūvē tā, lai to apkope un tīrīšana neradītu grūtības un sarežģījumus ekspluatācijas laikā, kā arī lai tās būtu pietiekami hermētiskas.

10. Lai nodrošinātu pietiekamu gaisa pieplūdi apkures ierīcei un kurināmais tajā pilnīgi sadegtu, attiecīgajā telpā var ierīkot:

10.1. ar pašregulējošām ierīcēm aprīkotu logu;

10.2. pašregulējošu ventilācijas sistēmu;

10.3. tiešu āra gaisa padevi sadegšanas kamerā.

11. Gāzes apkures sistēmu ierīko saskaņā ar būvnormatīvu par iekšējo gāzes vadu sistēmām un gāzes iekārtām un piemērojamiem standartiem.

12. Centrālapkures sistēmas, to cauruļvadus un sildķermeņus dimensionē un ierīko saskaņā ar piemērojamiem standartiem.

13. Centrālapkures sistēmas projektē un izbūvē tā, lai telpas lietotājam būtu iespēja autonomi regulēt temperatūru katrā apsildāmajā telpā.

14. Centralizētai siltumapgādes sistēmai pievienoto ēku apkures sistēmas aprīko ar siltuma automātiskās regulēšanas un uzskaites ierīcēm.

15. Siltuma regulēšanas un uzskaites ierīces izvieto telpās, kuru augstums ir ne mazāks par 1,9 m un platums ne mazāks par 0,7 m.

16. Būvobjektos atļauts izbūvēt vietējās apkures ierīces, kas darbojas ar cieto kurināmo, ja tiek ievēroti šī būvnormatīva 1. pielikuma 1. tabulā minētie maksimālie parametri. Ja ēka, kurā ir krāsns apkure, tiek atjaunota vai pārbūvēta, krāsns apkuri atļauts saglabāt neatkarīgi no ēkas stāvu skaita un kopējās platības.

17. Centrālapkures ierīču kurtuves nedrīkst izvietot telpās, kurās pastāvīgi uzturas cilvēki (izņemot apkalpojošo personālu) vai dzīvnieki vai kurās tiek uzglabāti viegli uzliesmojoši un degtspējīgi materiāli un vielas.

18. Krāsnis, kuras paredzēts kurināt periodiski, projektē un izbūvē tā, lai, tās kurinot divas reizes diennaktī, kompensētu siltuma zudumu telpās. Gaisa temperatūras svārstības telpās, kuras kurina, izmantojot periodiskās kurināšanas krāsnis, nedrīkst pārsniegt ± 3°C diennakts laikā.

19. Krāsnis un kamīnus, ko kurina ar cieto kurināmo, projektē un izbūvē atbilstoši normatīvajiem aktiem par ugunsdrošību, ražotāja tehniskajiem noteikumiem un piemērojamiem standartiem.

20. To krāšņu un kamīnu ugunsdrošība, kurus kurina ar cieto kurināmo, atbilst šī būvnormatīva 7. punktā noteiktajai prasībai, ja attālums no krāsns vai kamīna ārējās virsmas līdz sienas vai griestu degtspējīgajam materiālam vai konstrukcijai nav mazāks par 500 mm.

21. Grīdas zem krāsnīm un kamīniem ir nedegošas vai pārklātas ar vienlaidu nedegoša materiāla loksni, kas ir par 150 mm lielāka nekā apkures ierīces izmēri plānā. Slēgtā tipa apkures ierīces kurtuves durtiņu priekšā nedegoša materiāla pārklājums ir par 300 mm lielāks nekā apkures ierīces izmēri plānā, bet vaļēja tipa apkures ierīces kurtuves atveres priekšā — par 500 mm lielāks. Degtnespējīgā materiāla loksnes biezums ir ne mazāks kā 6 mm.

22. Krāsnis, ko kurina ar cieto kurināmo, var būt apgādātas ar rokas aizvaru dūmkanālā. Aizvara biezums ir ne mazāks kā 6 mm. Aizvaram aizvērtā stāvoklī jānodrošina brīva caurplūde vismaz 20 cm2 šķērsgriezuma laukumā.

23. Karstā ūdens boilerus, kas iebūvēti krāsnīs vai kamīnos, nedrīkst pievienot slēgtām centrālapkures sistēmām, izņemot rūpnieciski ražotas ierīces, kuras paredzētas centrālapkures sistēmām un kuru atbilstība ir apliecināta likumā "Par atbilstības novērtēšanu" noteiktajā kārtībā.

24. Krāsnis un kamīnus nedrīkst pievienot dūmkanāliem, kuriem pievienotas ar gāzi kurināmas apkures ierīces vai gaisa centrālapkures sistēmas.

25. Degšanas procesam nepieciešamā gaisa patēriņš apkures ierīcē nedrīkst būtiski ietekmēt ventilācijas sistēmu darbību. Ja apkures ierīce patērē daudz gaisa, tā padevi projektē atsevišķi.

2.2. Prasības centrālapkures katlu iekārtām un apkures iekārtām, ko kurina ar šķidro un cieto kurināmo

26. Centrālapkures katlu iekārtas, arī apkures (katlu) iekārtas, ko kurina ar gāzi, cieto un šķidro kurināmo, projektē un ierīko tā, lai to energoefektivitāte nebūtu zemāka par piemērojamos standartos noteikto.

27. Telpas, kurās izvietotas ar cieto vai šķidro kurināmo vai gāzi kurināmas vietējās centrālapkures katlu ierīces, norobežo no citām telpām ar ugunsdrošām starpsienām, kuru ugunsizturības robeža ir ne zemāka par EI-60, ugunsdrošiem pārsegumiem, kuru ugunsizturības robeža ir ne zemāka par R-60, un ugunsdrošām durvīm, kuru ugunsizturības robeža ir ne zemāka par EI-30.

28. Uzstādot katlu iekārtu, kuras deglis paredzēts šķidrajam kurināmajam vai gāzei, degli noregulē atbilstoši iekārtas jaudai un darba režīmam. Dūmgāzu zudumi nominālā darba režīmā nedrīkst pārsniegt 1,2 %. Kvēpu faktora rādītājs nedrīkst būt lielāks par 2. Oglekļa oksīda (CO) saturs dūmgāzēs nedrīkst pārsniegt 0,05 %.

29. Tādu apkures iekārtu drošums, kuras kurina ar šķidro kurināmo, nedrīkst būt mazāks par piemērojamos standartos noteikto.

30. Telpas, kurās atrodas šķidrā kurināmā tvertnes, ja tvertņu kopējā ietilpība nav lielāka par 5 t degvielas, atdala no pārējām telpām ar ugunsdrošām starpsienām, kuru ugunsizturības robeža nav zemāka par EI-60, ugunsdrošiem pārsegumiem, kuru ugunsizturības robeža nav zemāka par R-60, un ugunsdrošām durvīm, kuru ugunsizturības robeža nav zemākā par EI-30. Šīm telpām izbūvē ārējo logu, kura laukums ir vismaz 0,05 m2, rēķinot uz vienu telpas kubikmetru, bet ne mazāks par 0,25 m2.

31. Apkures ierīcēm, kuras kurina ar šķidro kurināmo, ieteicama tieša āra gaisa padeve degļa iekārtā.

32. Cietā kurināmā krājumus, kas lielāki par 1000 kg, uzglabā atsevišķi no centrālapkures katlu iekārtām un apkures iekārtām.

33. Šķidrā kurināmā apkures iekārtas un ierīces degvielas tvertni, kas lielāka par 490 litriem, aprīko ar ierobežojošām konstrukcijām, kas norobežo degvielas noplūdi tvertnes bojājuma gadījumā. Minētā prasība neattiecas uz tvertnēm ar dubultām sienām, kuru konstrukcija iekšējās sienas bojājuma gadījumā nepieļauj vielas nekontrolētu izplūšanu ārpus rezervuāra.

2.3. Prasības centralizētas apkures katlumājām un katlu iekārtām, kuru jauda ir lielāka par 500 kW

34. Katlu iekārtas aprīko ar siltumizolāciju, kura nodrošina, lai katlu iekārtas ārējo virsmu (izņemot kurtuvju durtiņas, lūkas un citas metāla detaļas) temperatūra nepārsniegtu 35°C, ja katlumājas iekštelpu temperatūra ir 20°C.

35. Ar gāzi vai šķidro kurināmo kurināmiem katliem, kuru nominālā jauda ir lielāka par 500 kW, izejošo dūmgāzu temperatūra stabilā darba režīmā nedrīkst pārsniegt 250°C.

36. Katlu iekārtas apgādā ar termometriem ūdens temperatūras un atejošo dūmgāzu temperatūras mērīšanai, kā arī ar atbilstošu atveri atejošu dūmgāzu analīzes paraugu ņemšanai.

37. Telpā, kurā atrodas katlu iekārtas, nedrīkst notikt ugunsnedroši vai sprādzienbīstami ražošanas procesi, kā arī tajā nedrīkst uzglabāt ugunsbīstamas vai sprādzienbīstamas vielas un materiālus.

38. Telpas, kurās atrodas katlu iekārtas, norobežo no citām telpām ar ugunsdrošām starpsienām, kuru ugunsizturības robeža nav zemāka par EI-120, ugunsdrošiem pārsegumiem, kuru ugunsizturības robeža nav zemāka par R-120, un ugunsdrošām durvīm, kuru ugunsizturības robeža nav zemāka par EI-90. Izejas no telpām, kurās atrodas katlu iekārtas, izbūvē tieši uz āru vai caur vējtveri, un tām nedrīkst būt kopīgu evakuācijas ceļu ar citām telpām.

39. Centrālapkures katlus, kuriem ir virsspiediena kurtuve un kuru jauda ir lielāka par 120 kW, drīkst izvietot tikai telpās, kurās ir atveres pastāvīgai ventilācijai.

2.4. Prasības dūmejām un dūmeņiem

40. Dūmrovju un dūmeju šķērsgriezumu projektē atbilstoši apkures ierīces vai katlu iekārtas jaudai. Dūmrovja un dūmvada šķērsgriezuma laukums gāzes un šķidrā kurināmā kurtuvēm nedrīkst būt mazāks par 50 cm2 un diametrs – par 80 mm. Cietā kurināmā kurtuvēm dūmrovja un dūmvada šķērsgriezuma laukums nedrīkst būt mazāks par 175 cm2 un diametrs – par 150 mm.

41. Katrai krāsnij vai pavardam ierīko atsevišķu dūmeni vai dūmkanālu. Vienam dūmkanālam atļauts pievienot divas apkures ierīces, ja tās atrodas vienā dzīvoklī un vienā stāvā. Savienojot divus dūmeņus, nepieciešams izbūvēt 12 cm biezu sadales starpsienu ne mazāk kā metra augstumā, mērot no savienojuma apakšas.

42. No apdedzinātiem māla pilnķermeņa ķieģeļiem būvēti dūmeņi un dūmkanāli ir vertikāli un bez pakāpieniem, ar ne mazāk kā 120 mm biezām sieniņām. No karstumizturīga betona būvētiem dūmeņiem un dūmkanāliem sieniņu biezums ir ne mazāks kā 60 mm un apakšdaļā izveidotas 250 mm dziļas pakājes ar tīrīšanas ailām, kuras nosedz ar ceturtdaļķieģeļa biezu mūrējumu vai durtiņām.

43. Ja vienai dūmejai vai dūmenim pievienotas vairākas kurtuves, dūmejas šķērsgriezuma laukumu aprēķina visu dūmejai un dūmenim pievienoto siltumģenerējošo ierīču kopējai jaudai.

44. Ar gāzi kurināmu apkures ierīču dūmeju konstrukciju un izvietojumu nosaka atbilstoši normatīvajam aktam par iekārtām, kurās tiek izmantots gāzveida kurināmais, un piemērojamiem standartiem.

45. Kamīnu pievieno atsevišķam dūmkanālam, kuram nedrīkst pievienot citu apkures ierīču vai siltumģenerējošu ierīču dūmkanālus. Kamīna dūmkanāla šķērsgriezuma laukums ir vismaz 300 cm2. Ja kamīna atveres laukums nav lielāks par 250 cm2, dūmkanāla šķērsgriezuma laukumu var samazināt līdz 175 cm2.

46. Dūmkanālus un dūmeņus projektē un ierīko tādus, lai nerastos aizdegšanās, eksplozijas, toksisku gāzu noplūdes, mitruma kondensācijas vai cita veida risks cilvēku veselībai un dzīvībai.

47. Aizliegts dūmgāzes novadīt vēdināšanas ailās (kanālos).

48. Vietās, kur ēku degtspējīgās konstrukcijas (piemēram, sienas, starpsienas, pārsegumi, sijas, sienas ar degtspējīgu materiālu apdari) piekļaujas vietējās apkures ierīču dūmkanāliem, izbūvē ugunsdrošības atdales, kas palielina apkures ierīču, dūmeņu un dūmkanālu sieniņu biezumu atbilstoši šī būvnormatīva 1. pielikuma 2. tabulai un ražotāja prasībām.

49. Ugunsdrošības atdales nepieciešamas vietās, kurās ēku degtspējīgās konstrukcijas piekļaujas ventilācijas kanāliem, ja tie ierīkoti blakus dūmkanāliem.

50. Dūmkanālus un dūmeņus izbūvē no degtnespējīgiem, karstumizturīgiem un pret dūmgāzu izraisīto koroziju izturīgiem materiāliem.

51. Dūmkanālus un dūmeņus projektē un ierīko tā, lai to ārējās virsmas temperatūra nepārsniegtu 80°C.

52. Dūmkanālu un dūmeņu šķērsgriezumu un augstumu projektē un ierīko tā, lai nodrošinātu vajadzīgo vilkmi un dūmgāzu aizvadīšanu.

53. Dūmkanālus un dūmeņus projektē un ierīko tā, lai nodrošinātu to ērtu tīrīšanu, apkopi un pārbaudi. Dūmvados ierīko tīrīšanas lūkas, kuru šķērsgriezuma laukums ir ne mazāks par dūmkanāla šķērsgriezumu. Īsos, taisnos dūmeņos, kuru garums nepārsniedz 7 m, tīrīšanas lūkas var neierīkot.

54. Ja dūmenis ir paredzēts tīrīšanai no augšas, nodrošina ērtu un drošu piekļūšanu tam no jumta. Degtspējīgie materiāli un konstrukcijas no dūmeņiem un dūmkanāliem (arī to tīrīšanas lūkām un citiem elementiem), kas paredzēti dūmgāzu novadīšanai no apkures ierīcēm, kuru kopējā jauda ir ne lielāka par 120 kW, nedrīkst atrasties tuvāk par (mērot no dūmeņa, dūmvada, lūkas ārējās virsmas):

54.1.  100 mm no mūra un metāla dūmeņiem;

54.2.  300 mm no dūmvadiem;

54.3.  200 mm no tīrīšanas lūkām un citiem elementiem.

55. Metāla dūmvadus projektē un uzstāda atbilstoši piemērojamiem standartiem.

2.5. Ugunsdrošības prasības

56. Telpās, kurās pastāvīgi uzturas cilvēki, apkures krāšņu virsmu maksimālā temperatūra nedrīkst pārsniegt:

56.1.  90°C – pirmsskolas izglītības iestādēs, vispārizglītojošās skolās, internātskolās un citās skolās, bērnudārzos, ārstniecības iestādēs, veselības aprūpes, sociālās aprūpes un rehabilitācijas iestādēs (izņemot aptiekas);

56.2.  110°C – ne vairāk kā 15 % no krāsns kopējās virsmas laukuma;

56.3.  120°C – ne vairāk kā 5 % no krāsns kopējās virsmas laukuma;

56.4.  120°C – citu ēku telpās.

57. Nedzīvojamās telpās, kurās cilvēki uzturas īslaicīgi (ne ilgāk par četrām stundām), atļauts uzstādīt apkures ierīci, kuras virsmas temperatūra pārsniedz 120°C, ja apkures ierīce no visām pusēm ir norobežota ar degtnespējīga materiāla aizsargekrānu.

58. Ar vienu krāsni vai kamīnu atļauts apkurināt ne vairāk par trim vienā stāvā izvietotām telpām.

59. Divstāvu ēkās atļauts ierīkot divlīmeņu krāsnis ar atsevišķām kurtuvēm un dūmejām katrā stāvā, bet divlīmeņu dzīvokļos – ar vienu kurtuvi pirmajā stāvā.

60. Publiskajās ēkās vietējās apkures ierīces izvieto tā, lai to kurtuves būtu apkalpojamas no palīgtelpām vai koridoriem, kuriem ir vēdlodziņi telpu dabiskai vēdināšanai.

61. Dūmeņa augstumu virs jumta seguma nosaka, ņemot vērā šādus nosacījumus:

61.1. ja dūmenis atrodas tuvāk par 1,5 m no jumta kores, tam jābūt 0,5 m augstākam par kori;

61.2. ja dūmenis atrodas 1,5 līdz 3 m no jumta kores, tas nedrīkst būt zemāks par kori;

61.3. ja dūmenis atrodas tālāk par 3 m no jumta kores, tā augšgals nedrīkst būt zemāks par taisni, kura vilkta no kores 10° leņķī pret horizontu.

62. Dūmeņa augšējo galu ierīko ne zemāk par 0,5 m virs jumta seguma (arī ēkām ar plakanu jumtu).

63. Dūmeņa kopējais augstums no pelnu krātuves režģa līdz dūmu izplūdes vietai nedrīkst būt mazāks par 5 m.

64. Ar malku kurināmām krāsnīm dūmu izvadkanālā ierīko vienu aiz otra divus blīvus aizbīdņus, bet ar oglēm vai kūdru kurināmām krāsnīm – vienu aizbīdni, kurā ir 15 mm (diametrā) liels caurums.

65. Uz vietējās apkures ierīču dūmeņiem nav atļauts uzstādīt jumtiņus un citus pārsegumus, izņemot deflektorus.

3. Ventilācija un gaisa kondicionēšana

3.1. Vispārīgās drošuma prasības

66. Telpās, kurās iespējama sprādzienbīstamu gāzu, tvaiku un gaisa maisījumu veidošanās, paredz pasākumus, kas novērš iespējamo sprādzienu, ko varētu izraisīt ventilācijas iekārtu darbība. Ventilācijas iekārtas aprīko ar skaņas un gaismas signalizāciju.

67. Ēkai izvēlas tādu novietojumu, telpisko plānojumu un konstruktīvo risinājumu, lai:

67.1. mazinātu āra gaisa piesārņojuma un grunts radona piesārņojuma ietekmi uz ventilācijas sistēmām, telpām un ēku kopumā;

67.2. telpas būtu pasargātas no paaugstināta mitruma ietekmes, ko rada nokrišņi, kapilārais vai kondensācijas mitrums;

67.3. minimizētu kaitīgo izdalījumu izplatīšanās risku no telpas uz telpu un no stāva uz stāvu.

68. Norobežojošo un nesošo konstrukciju siltuma inerci un ventilācijas un gaisa kondicionēšanas sistēmu slodzi savstarpēji optimizē, lai iegūtu minimālo summāro resursu patēriņu ēkas būvniecībai un ekspluatācijai.

69. Telpu un stāvu augstuma rezervi ventilācijas iekārtu un gaisa vadu izvietošanai paredz būvniecības ieceres dokumentācijas izstrādes stadijā.

70. Šahtās un starptelpās, kur izvieto ventilācijas gaisa vadus, gaisa vadu attālums līdz citiem inženiertīkliem ir ne mazāks par 50 mm. Citi inženiertīkli nedrīkst šķērsot gaisa vadus.

71. Ventilācijas iekārtu montāžai un demontāžai ēkas norobežojošās konstrukcijās paredz atbilstošus montāžas atvērumus.

72. Plānojot ēkas enerģētisko bilanci, paredz ventilācijas sistēmu darbībai nepieciešamās elektriskās un siltuma jaudas.

73. Telpām paredz dabisko vēdināšanu, piemēram, atveramus logus, logus ar īpašiem ventilējamiem rāmjiem vai īpašas ailas ārsienās. Nav ieteicams projektēt telpas, kurās nav iespējama dabiskā vēdināšana.

74. Vietas smēķēšanai projektē tā, lai mazinātu pasīvās smēķēšanas risku nesmēķētājiem.

3.2. Ventilācijas sistēmu projektēšana

3.2.1. Vispārīgās drošuma prasības

75. Ventilācijas sistēmas projektē un ierīko tā, lai:

75.1. izmantojot telpas paredzētajiem mērķiem, netiktu apdraudēta cilvēku veselība;

75.2. telpās nodrošinātu sanitāri higiēniskajām normām atbilstošu gaisa kvalitāti un piemērojamiem standartiem atbilstošu komforta līmeni;

75.3. ventilācijas sistēmas neveicinātu ugunsgrēka liesmu un dūmgāzu izplatīšanos, kā arī nepieļautu sprādzienbīstamu gāzu un tvaiku maisījumu veidošanos.

76. Ventilācijas sistēmu enerģijas patēriņu tehniski un ekonomiski pamato, ņemot vērā energoresursu izmaksas un kaitējumu apkārtējai videi, ko rada enerģijas ražošana un patērēšana.

77. Ja ēkā ir telpas ar paaugstinātu gaisa piesārņojuma emisiju, no pārējām telpām izolē vietas, kur no piesārņojuma izvairīties nav iespējams. Gaisa piesārņojumu ierobežo, lai iespējami mazāks cilvēku skaits būtu pakļauts piesārņojumam.

78. Nav pieļaujams vispārīgās ventilācijas sistēmas izmantot par dūmu izvades sistēmām.

79. Dūmu izvades sistēmas projektē atbilstoši būvnormatīvos noteiktajām ugunsdrošības prasībām un piemērojamiem standartiem.

80. Gaisa vadu un ventilācijas kanālu sienu ugunsizturības robežu katrā ugunsdrošības nodalījumā nosaka, ņemot vērā telpas lietošanas veidu un ugunsslodzi (mJ/m2) attiecīgajā nodalījumā.

81. Ventilācijas gaisa vadi, to kanāli, inženiertīklu šahtas, kurās izvietoti ventilācijas gaisa vadi un citi stāvvadi, atbilst šādām prasībām:

81.1. tranzīta gaisa vadu ugunsizturības robeža ir:

81.1.1. telpās, kurās ugunsslodze ir līdz 600 mJ/m2 (ieskaitot), – ne zemāka par EI-30;

81.1.2. telpās, kurās ugunsslodze ir augstāka par 600 mJ/m2, – ne zemāka par EI-60;

81.2. tranzīta gaisa vadiem, kuri iet cauri sprādzienbīstamām vai ugunsbīstamām telpām, kā arī nosūces tranzīta gaisa vadiem no pavardiem, plītīm, griliem, kuros izmanto atklātu liesmu, neatkarīgi no ugunsslodzes ugunsizturības robeža nav zemāka par EI-120.

82. Gaisa vadiem, kuri apkalpo tikai vienu ugunsdrošības nodalījumu, ugunsizturības robeža nav normēta.

83. Gaisa vadus izvieto šahtās atbilstoši šī būvnormatīva 2. pielikumam.

84. Inženiertīklu šahtā kopā ar ventilācijas kanāliem drīkst izvietot dūmvadus, kuru ugunsizturības robeža nav zemāka par EI-120, ja to izvietojums nav pretrunā ar standartu LVS EN 1856-1:2009 "Dūmeņi. Prasības metāla dūmeņiem. 1. daļa: Būvelementi dūmeņu sistēmām" un LVS EN 1856-2:2009 "Dūmeņi. Prasības metāla dūmeņiem. 2. daļa: Metāla oderējumi un dūmvada kanāla pievienotājcaurules".

85. Atkarībā no telpu lietošanas veida telpu ventilācijas sistēmas pievieno centrālajām (kopējām) ventilācijas iekārtām, ņemot vērā šādas prasības:

85.1. sprādzienbīstamu un ugunsbīstamu telpu ventilācijas iekārtu pieplūdes gaisa vadus atļauts pievienot kopējiem kanāliem un ventilācijas iekārtām, ja šīs iekārtas neapkalpo guļamtelpas un dzīvojamās telpas publiskajās ēkās;

85.2. sprādzienbīstamu un ugunsbīstamu telpu ventilācijas iekārtu nosūces gaisa vadus nav atļauts pievienot kopējiem kanāliem un ventilācijas iekārtām;

85.3. publisko ēku dzīvojamo telpu un guļamtelpu ventilācijas iekārtu pieplūdes un nosūces gaisa vadus nav atļauts pievienot ventilācijas iekārtām, ja tās apkalpo telpas, kurām ir cits lietošanas veids;

85.4. dzīvojamo ēku virtuves un sanitārtehnisko telpu ventilācijas gaisa vadus atļauts pievienot kopējai ventilācijas iekārtai katru atsevišķā kanālā.

86. Publiskajās ēkās mācību, darba un publiskajiem pasākumiem paredzēto telpu pieplūdes gaisa vadus atļauts pievienot kopējiem kanāliem un ventilācijas iekārtām, bet nosūces gaisa vadus nav atļauts pievienot ventilācijas iekārtām, ja tās apkalpo telpas, kurām ir cits lietošanas veids.

87. Ražošanas un noliktavu telpu pieplūdes gaisa vadus atļauts pievienot kopējiem kanāliem un ventilācijas iekārtām, bet nosūces gaisa vadus nav atļauts pievienot kopējām ventilācijas iekārtām.

88. Autonovietnes telpu pieplūdes gaisa vadus atļauts pievienot kopējiem kanāliem un ventilācijas iekārtām, bet nosūces gaisa vadus nav atļauts pievienot kopējām ventilācijas iekārtām.

89. Nosūces gaisa vadus, kas apkalpo telpas, kurās iespējama kaitīgu un toksisku vielu vai gāzu uzglabāšana, ražošana vai izmantošana ražošanas procesā, nav atļauts pievienot kopējām ventilācijas sistēmām.

3.2.2. Izejas dati projektēšanai

90. Būvprojektā norāda visus izejas datus, kā arī prasības, kuru izpilde jānodrošina ventilācijas sistēmām. Ventilācijas sistēmas projektē atbilstoši standartam LVS CR 1752:2008 "Ēku ventilācija – Iekštelpu vides projektēšanas kritēriji" un LVS EN ISO 7730:2006 "Siltuma vides ergonomika. Termālā komforta analītiska noteikšana un interpretācija, izmantojot paredzamā vidējā balsojuma (PMV) un paredzamā neapmierināto personu procenta (PPD) indeksu kalkulāciju un lokālā termālā komforta kritērijus", ja projektēšanas uzdevumā attiecīgās ēkas ekspluatācijai nav paredzētas īpašas prasības.

91. Būvprojektā norāda šādus izejas datus:

91.1. ēkas telpu plānojums un apkalpojamo zonu izvietojums – plānā un griezumā;

91.2. telpu funkcijas, ņemot vērā, ka telpu izmantošanas laikā tās var mainīties;

91.3. prasības telpas gaisa kvalitātei un vēlamie gaisa kvalitātes parametri attiecīgajā telpā (gaisa temperatūra, kas augstāka par 28°C vasarā un zemāka par 18°C apkures periodā, pieļaujama pēc saskaņošanas ar telpu īpašnieku vai lietotāju);

91.4. būvniecības vietas klimatiskie apstākļi atbilstoši būvnormatīvam par būvklimatoloģiju;

91.5. paredzamais cilvēku skaits telpā dažādā diennakts laikā, cilvēku darbības telpā un apģērbs;

91.6. smēķētāju īpatsvars, ja smēķēšana attiecīgajā telpā ir atļauta, vai telpas zonas, kur smēķēšana atļauta;

91.7. telpas gaisa piesārņojuma avoti, to raksturojums un piesārņojuma apjoms, ieskaitot piesārņojumu no virsmu apdares materiāliem un mēbelēm;

91.8. āra gaisa piesārņojuma rādītāji;

91.9. āra trokšņa līmenis;

91.10. ziņas par telpās lietojamo vai uzglabājamo materiālu un vielu sprādzienbīstamību, ugunsbīstamību un ugunsslodzi;

91.11. ārējo stikloto virsmu laukumi un stiklojuma tehniskie dati;

91.12. logu atvēršanas iespējas vai logu konstrukcijas apraksts;

91.13. paredzētā logu apēnošana;

91.14. dati par ārējām norobežojošajām konstrukcijām un lietoto būvizstrādājumu būvfizikālajām īpašībām;

91.15. telpu akustiskās īpašības un reverberācijas koeficienti;

91.16. plānotie pasākumi ventilācijas un gaisa kondicionēšanas sistēmu iedarbināšanai, regulēšanai un ekspluatācijai;

91.17. plānotie pasākumi telpu un tehnoloģisko iekārtu uzturēšanai darba kārtībā.

92. Gaisa kvalitāti un vēlamos parametrus attiecīgajās telpās nosaka atbilstoši standartam LVS EN ISO 7730:2006 "Siltuma vides ergonomika. Termālā komforta analītiska noteikšana un interpretācija, izmantojot paredzamā vidējā balsojuma (PMV) un paredzamā neapmierināto personu procenta (PPD) indeksu kalkulāciju un lokālā termālā komforta kritērijus", ja projektēšanas uzdevumā attiecīgās ēkas ekspluatācijai nav paredzētas īpašas prasības.

93. Laikposmā, kad cilvēki telpā neuzturas, apkures periodā pieļaujama telpas gaisa temperatūras pazemināšanās, bet ne zemāk par 5°C, nodrošinot vēlamās gaisa temperatūras atjaunošanos līdz telpu ekspluatācijas atsākšanai.

94. Vasarā paredz dzesēšanas sistēmas izslēgšanu, kad tā nav nepieciešama komforta nodrošināšanai.

95. Ja nepieciešams izpildīt īpašas komforta vai tehnoloģiskās prasības, būvprojektā var noteikt pieļaujamās gaisa temperatūras un relatīvā mitruma svārstību robežas telpā.

3.2.3. Ventilācijas sistēmu ražīgums

96. Ventilācijas sistēmu ražīgumu aprēķina atbilstoši izejas datiem. Ventilācijas sistēmu ražīgumam jābūt pietiekamam, lai nodrošinātu svaiga gaisa padevi, apmierinošu komfortu vai tehnoloģiskos apstākļus apkalpojamā zonā. Telpas gaisa piesārņojuma avotus novērtē atbilstoši standartam LVS EN ISO 7730:2006 "Siltuma vides ergonomika. Termālā komforta analītiska noteikšana un interpretācija, izmantojot paredzamā vidējā balsojuma (PMV) un paredzamā neapmierināto personu procenta (PPD) indeksu kalkulāciju un lokālā termālā komforta kritērijus" un standartam LVS CR 1752:2008 "Ēku ventilācija – Iekštelpu vides projektēšanas kritēriji", ja projektēšanas uzdevumā attiecīgās ēkas ekspluatācijai nav paredzētas īpašas prasības.

97. Ja vienīgais telpas gaisa piesārņojuma avots ir cilvēki, svaigā gaisa padeves absolūtais minimums ir 15 m3/h uz cilvēku.

98. Svaigā gaisa padevi sabalansē ar piesārņotā gaisa daudzumu, kas tiek izvadīts no telpām, ņemot vērā vēlamo spiediena starpību starp vairāk un mazāk piesārņotām telpām vai telpas zonām.

99. Ventilācijas sistēmu ražīgumu aprēķina tā, lai panāktu pietiekamu svaigā gaisa sajaukšanos ar telpas gaisu. Lai samazinātu enerģijas patēriņu, pieļaujama gaisa recirkulācija, ja telpā neizdalās kaitīgas vielas, baktērijas vai izteikti nepatīkamas smakas. Recirkulāciju lieto vienādas nozīmes telpās, atsevišķā dzīvoklī, viesnīcas numurā vai ģimenes mājā.

100. Lai taupītu enerģētiskos resursus, paredz iespēju mainīt ventilācijas sistēmas ražīgumu atkarībā no telpas gaisa piesārņojuma, kas telpas ekspluatācijas laikā var mainīties.

101. Liftu šahtām paredz dabiskās ventilācijas ailas, kas aizņem ne mazāk kā 1 % no šahtas šķērsgriezuma. Liftu mašīntelpās paredz dabisko ventilāciju tieši uz āru, ja lifta mašīntelpas iekārtām nav noteikti īpaši gaisa kvalitātes parametri.

102. Būvprojektā norāda (telpu īpašnieku un lietotāju zināšanai) nosacījumus, kurus ievērojot projektētie telpas gaisa parametri var tikt uzturēti, ja tiek saglabāts izejas datos minētais telpas lietošanas raksturojums un kaitīgā piesārņojuma apjoms.

3.2.4. Ventilācijas sistēmu izvēle

103. Izvēloties ventilācijas sistēmas, ņem vērā:

103.1. izejas datus;

103.2. prasības gaisa kvalitātei telpās;

103.3. aprēķināto ventilācijas sistēmu ražīgumu;

103.4. esošos enerģētiskos resursus;

103.5. tehniskās telpas un brīvos tilpumus ēkā sistēmu izvietošanai.

104. Lai taupītu enerģiju, priekšroka dodama telpu dabiskās ventilācijas sistēmām, paredzot apmaināmā gaisa daudzuma regulēšanas iespējas atbilstoši mainīgiem āra gaisa parametriem.

105. Ja ar dabisko ventilāciju nav iespējams nodrošināt gaisa kvalitātes prasības apkalpojamā zonā, projektē mehāniskās ventilācijas sistēmas.

106. Telpām vai telpu zonām, kur nav iespējama dabiskā ventilācija, paredz mehāniskās ventilācijas sistēmas.

107. Ar mehāniskās nosūces ventilācijas sistēmām lokalizē kaitīgos izdalījumus telpas gaisā, radot attiecīgu spiediena starpību starp telpām, kurās ir dažāds kaitīgo izdalījumu apjoms. Gaisam jāplūst no telpām, kurās ir tīrāks gaiss, uz telpām, kurās gaiss ir piesārņotāks.

108. Gaisa daudzumu, ko no telpām izvada mehāniskās nosūces ventilācijas sistēmas, kompensē ar attiecīgu pieplūdes gaisa daudzumu, ko sagatavo un padod telpās mehāniskās pieplūdes ventilācijas sistēmas. Pieplūdes gaisa padeves ātrums nedrīkst pārsniegt piemērojamos standartos noteikto komforta līmeni.

109. Projektēt mehāniskās nosūces ventilāciju, neparedzot mehāniskās pieplūdes ventilāciju, pieļaujams, ja gaisa daudzums nav liels un siltuma izdalīšanās telpā vai apkures sistēma var segt infiltrētā gaisa uzsildīšanai nepieciešamo siltuma daudzumu un telpās nerodas caurvēja vai vakuuma efekts. Minētās sistēmas lietošana nav pieļaujama, ja āra gaisa putekļu koncentrācija ir lielāka par pieļaujamo putekļu koncentrāciju telpās.

3.3. Ventilācijas sistēmu sastāvdaļas

110. Āra gaisa ņemšanas ailas izvieto tā, lai ventilācijas sistēmā nonāktu pēc iespējas mazāk putekļu un ziemā tās netiktu aizputinātas ar sniegu. Ja nav citu nosacījumu, āra gaisa ņemšanas ailas ierīko ne zemāk kā 2 m augstumā no zemes virsmas. Āra gaisa ņemšanas ailas var ierīkot zemāk, ja veikti pasākumi, kas nepieļauj putekļu iesūkšanu un sniega aizputinājumus.

111. Ja āra gaisa ņemšanas vieta atrodas intensīvas transporta kustības zonā, ieteicams āra gaisu ņemt ēkas jumta līmenī, ievērojot jumta sakaršanu vasarā.

112. Āra gaisa ņemšanas ailas attālina no piesārņotā gaisa izvades vietām horizontālā un vertikālā plaknē tā, lai nenotiktu izvadītā gaisa pārplūšana uz āra gaisa ņemšanas vietu, īpaši, ja nav pieļaujama recirkulācija.

113. Gaisa apstrādes iekārtas projektē atbilstoši standartam LVS EN 1886:2008 "Ēku ventilācija. Gaisa pārvades un apstrādes iekārtas. Mehāniskā veiktspēja", ja projektēšanas uzdevumā attiecīgās ēkas ekspluatācijai nav paredzētas īpašas prasības.

114. Gaisa apstrādes iekārtas ēkā izvieto īpašās telpās. Gaisa apstrādes iekārtas pieļaujams izvietot apkalpojamās telpās, ja tas paredzēts projektēšanas uzdevumā un veikti pasākumi, lai atbilstoši normatīvajam aktam par trokšņa novērtēšanas un pārvaldības kārtību novērstu vibrāciju un trokšņu izplatīšanos.

115. Telpas, kurās atrodas gaisa apstrādes iekārtas, atdala no citām telpām ar ugunsdrošām starpsienām, kuru ugunsizturības robeža nav zemāka par EI-60, ugunsdrošiem pārsegumiem, kuru ugunsizturības robeža nav zemāka par R-60, un ugunsdrošām durvīm, kuru ugunsizturības robeža nav zemāka par EI-30.

116. Gaisa apstrādes iekārtas komplektē ar atbilstošas jaudas kaloriferiem vai citām sildierīcēm gaisa sildīšanai ziemā. Ūdens kalorifera sildvirsmas rezerve nav ieteicama lielāka par 10 %, lai nepalielinātu kalorifera iesalšanas risku. Ja sistēmā par siltumnesēju izmanto ūdeni un kaloriferam ir palielināta sildvirsma, sistēmu nedrīkst ekspluatēt bez mazā loka cirkulācijas sūkņa.

117. Gaisa apstrādes iekārtu aprīko ar gaisa mitrinātāju, ja citādi nav iespējams sasniegt nepieciešamo gaisa mitrumu telpā.

118. Ja gaisa apstrādes iekārtā paredzēts gaisu arī dzesēt, izvērtē, vai kompresijas cikla dzesēšanas paņēmienu nevar aizstāt ar tiešās vai netiešās adiabātiskās dzesēšanas paņēmienu, lai samazinātu ietekmi uz vidi.

119. Enerģētisko resursu taupīšanas pasākumi nedrīkst negatīvi ietekmēt telpas gaisa kvalitāti. Lai taupītu enerģētiskos resursus, gaisa apstrādes iekārtas komplektē ar izvadāmā gaisa siltuma un aukstuma utilizatoriem. Utilizatora tipu izvēlas, ņemot vērā tehniskos un ekonomiskos aprēķinus.

120. Izvēlas ventilatoru, kuram ir augstākais lietderības koeficients.

121. Ja ventilācijas iekārtu uzstāda ārpus telpām, veic tās siltumizolāciju, lai novērstu nelietderīgus siltuma zudumus un ūdens tvaiku kondensāciju.

122. Ventilācijas iekārtas atbilstoši normatīvajam aktam par trokšņa novērtēšanas un pārvaldības kārtību aprīko ar ierīcēm (vibroizolatoriem, elastīgajām starplikām, trokšņu slāpētājiem), kas slāpē vibrāciju un troksni un nepieļauj vibrācijas un trokšņa izplatīšanos telpās vai ārpus ēkas.

3.4. Gaisa vadi

123. Ventilācijas sistēmu gaisa vadus izgatavo no degtnespējīgiem materiāliem. Daļēji degtspējīgus un degtspējīgus materiālus drīkst lietot ne tuvāk par metru no difuzoru, konfuzoru un ventilācijas restīšu pievienojuma vietām, kā arī ventilatoru elastīgajos savienojumos.

124. Degtspējīgu pārklājumu, piemēram, krāsu un plēvju biezums uz gaisa vadiem nedrīkst būt lielāks par 0,5 mm.

125. Gaisa vadu materiālu un tā biezumu izvēlas tādu, lai nodrošinātu nepieciešamo ugunsizturību.

126. Gaisa vadu sieniņu biezumu taisnstūra šķērsgriezuma vadiem izvēlas atbilstoši 1. tabulai, bet apaļa šķērsgriezuma vadiem – atbilstoši 2. tabulai.

1. tabula

Garākās taisnstūra malas garums S (mm) Sieniņas biezums (mm)
tērauda vadiem alumīnija vadiem
S < 300 0,5 0,7
300 < S < 800 0,7 0,9
S > 800 0,9 1,2

2. tabula

Nominālais kanāla diametrs (mm) Sieniņas biezums (mm)
tērauda vadiem alumīnija vadiem
d < 320 0,5 0,7
d > 320 0,7 0,8

127. Metāla gaisa vadus elektriski iezemē.

128. Pavardiem, plītīm un griliem nosūces gaisa vadi ir tikai no tērauda, un to sieniņu biezums ir ne mazāks kā 1,2 mm.

129. Gaisa vadu savienojumu vietas ir ugunsdrošas. Tās samontē tā, lai vienlaikus būtu nodrošināta termiskās izplešanās iespēja un normētā ugunsizturība, kā arī dūmu, gāzu un tvaiku necaurlaidība.

130. Tādu vēdināšanas sistēmu gaisa vadiem, kuras apkalpo sprādzienbīstamas vai ugunsbīstamas telpas, kā arī sprādzienbīstamu maisījumu vietējās nosūces gaisa vadiem projektē ugunsdrošus vārstus vietās, kur gaisa vadi šķērso apkalpojamās telpas ugunsdrošos šķēršļus, kuriem ir normēta ugunsizturības robeža.

131. Ventilācijas kamerās un ārpus ēkas izvietotajiem gaisa vadiem ugunsizturības robeža nav normēta.

132. Gaisa virsspiediena un dūmu izvades sistēmu un sprādzienbīstamu maisījumu vietējās nosūces tranzīta gaisa vadu ugunsizturības robeža ir vismaz EI-60, bet ne mazāka par šķērsojamā ugunsdrošā šķēršļa ugunsizturības robežu.

133. Ja tranzīta gaisa vadi iet cauri sienām, starpsienām vai starpstāvu pārsegumiem, kuriem ir normēta ugunsizturības robeža, tranzīta gaisa vadu ugunsizturības robeža nav zemāka par EI-60.

134. Ja tranzīta gaisa vadi šķērso kāpņu telpu, tranzīta gaisa vadu ugunsizturības robeža nav zemāka par šķērsojamās kāpņu telpas sienu ugunsizturības robežu.

135. Vietās, kur gaisa vadi šķērso ugunsdrošos šķēršļus, caurumus sienās aizpilda ar ugunsdrošiem hermetizējošiem materiāliem, kuriem ir attiecīga ugunsizturības robeža.

136. Nav atļauts gaisa vados un uz to virsmām izvietot gāzes vadus, cauruļvadus, kuros atrodas degtspējīgas vielas, elektroinstalāciju un kanalizācijas cauruļvadus. Minētie inženiertīkli nedrīkst šķērsot gaisa vadus.

137. Gaisa vadu stiprinājumiem ir tāda pati ugunsizturības robeža kā gaisa vadiem.

138. Ventilācijas gaisa vadus, kuri apkalpo sprādzienbīstamas un ugunsbīstamas telpas, kā arī sprādzienbīstamu maisījumu vietējās nosūces gaisa vadus iezemē.

139. Sprādzienbīstamu telpu gaisa vadu izvadus un sprādzienbīstamu maisījumu vietējās nosūces gaisa vadus aizsargā pret zibens primāro un sekundāro izpausmju iedarbību.

140. Sprādzienbīstamās telpās attālums starp nosūces gaisa vadu izvadiem un pieplūdes gaisa vadu ievadiem pa horizontāli nav mazāks par 10 m, pa vertikāli – nav mazāks par 6 m.

141. Izvadi dūmu izvadīšanai atmosfērā un sprādzienbīstamu maisījumu vietējās nosūces izvadi atrodas:

141.1. ne zemāk par 2 m virs ēkas jumta;

141.2. ne zemāk par 1,5 m no zemes virsmas un ne tuvāk par 10 m no ēkas.

142. Ventilācijas sistēmas tīra caur lūkām gaisa vados. Tīrīšanas lūku ugunsizturība atbilst gaisa vada ugunsizturības robežai.

143. Telpās, kurās ir iespējama par gaisu smagāku gāzu un šo gāzu tvaiku noplūde, 75 % no nepieciešamajām atverēm ventilācijas nosūces gaisa vados izvieto telpas lejasdaļā, bet 25 % – telpas augšdaļā.

144. Telpās, kurās ir iespējama ūdeņraža noplūde, nepieciešamās atveres nosūces gaisa vados izvieto ne zemāk par 0,4 m no telpu horizontālajām norobežojošām konstrukcijām, piemēram, griestiem, pārsegumiem, savietotajiem jumtiem.

145. Ventilācijas sistēmās lieto apaļa, taisnstūra vai cita šķērsgriezuma gaisa vadus, kurus izgatavo atbilstoši standartiem LVS EN 1505:2000 "Ēku ventilācija – Metāla ventilācijas kanāli un komplektējošās detaļas ar taisnstūra šķērsgriezumu – Izmēri", LVS EN 1506:2007 "Ēku ventilācija. Skārda gaisvadi un veidgabali ar apaļu šķērsgriezumu. Izmēri" un LVS EN 12220:2003 "Ēku ventilācija – Gaisa vadi – Vispārējās ventilācijas apaļo atloku izmēri", ja projektēšanas uzdevumā attiecīgās ēkas ekspluatācijai nav paredzētas īpašas prasības. Nepieciešamību lietot taisnstūra šķērsgriezuma gaisa vadus, kuru malu attiecība ir lielāka par 2:1, pamato ar aerodinamisko aprēķinu.

146. Projektējot un montējot gaisa vadu sistēmas, paredz gaisa vadu tīrīšanu atbilstoši standartam LVS EN 12097:2007 "Ēku ventilācija. Gaisvadi. Gaisvadu sistēmu apkopes ērtuma prasības gaisvadu sastāvdaļām". Piesārņojums gaisa vados nedrīkst radīt sprādzienbīstamību, ugunsbīstamību vai higiēniska rakstura problēmas.

147. Gaisa vadus, kuros iespējama ūdens tvaiku kondensācija, un gaisa vadus, kurus paredzēts ekspluatācijas laikā mazgāt, projektē un ierīko ar kritumu 0,005 gaisa plūsmas virzienā. Gaisa vadus sadala posmos, kuru galos paredz drenāžu.

148. Gaisa vadiem nepieciešama atbilstoša siltumizolācija:

148.1. lai novērstu iekšējā kondensāta rašanos izvadāmā gaisa vados, ja tie šķērso neapkurināmas telpas vai izvietoti ārpus ēkas;

148.2. lai nerastos ārējais kondensāts uz āra gaisa un atdzesēta gaisa vadu virsmas vietās, kur tie šķērso siltas un mitras telpas;

148.3. lai nerastos lieki siltuma zudumi no pieplūdes gaisa vadiem vietās, kur tie šķērso neapkurināmas telpas;

148.4. lai atdzesētais gaiss pieplūdes gaisa vados nesasiltu.

149. Ja trokšņa slāpēšanai atsevišķos gaisa vadu posmos izmanto minerālvati, vates slāņa pārklājumam jābūt blīvam, lai nepieļautu vates slāņa eroziju un piesārņojuma nokļūšanu telpu gaisā.

150. Vietās, kur gaisa vadi šķērso ugunsdrošos šķēršļus, kuriem ir normēta ugunsizturības robeža, uzstāda automātiskus ugunsdrošus vārstus, kuriem ir atbilstoša ugunsizturības robeža.

151. Vietas, kur tranzīta gaisa vadi šķērso sienas, starpsienas vai starpstāvu pārsegumus, noblīvē ar degtnespējīgu materiālu, nodrošinot nepieciešamo šķērsojamās konstrukcijas ugunsizturības robežu.

152. Savācošajos un sadalošajos vertikālajos un horizontālajos maģistrālajos gaisa vados atzarus pievieno tā, lai ugunsgrēka gadījumā nepieļautu dūmu noplūdi no vienas telpas citā.

153. Būvprojektā norāda gaisa vadu tīkla aerodinamiskās balansēšanas palīgierīces, gaisa plūsmu mērījumu veikšanas vietas un gaisa vadu tīrīšanas lūkas atbilstoši standartam LVS EN 12097:2007 "Ēku ventilācija. Gaisvadi. Gaisvadu sistēmu apkopes ērtuma prasības gaisvadu sastāvdaļām".

154. Piesārņotā gaisa izvades vietas izvieto tā, lai nepieļautu piesārņotā gaisa ietekmi uz ārsienām, apkārtējiem logiem un ventilācijas atverēm gaisa ņemšanai.

155. Gaisa ņemšanas restes un gaisa vadu galus ārpus ēkas konstruktīvi izveido tā, lai tajos neiekļūtu nokrišņi un tiktu samazināta vēja ietekme.

3.5. Gaisa sadalītāji un gaisa nosūces konfuzori un restes

156. Gaisa sadales sistēmas projektē un ierīko tā, lai apkalpojamā telpas zonā nodrošinātu vienmērīgu pieplūdes gaisa sadali, nepārsniedzot pieļaujamo gaisa plūsmu ātrumu un netraucējot vietējo nosūces sistēmu darbību atbilstoši standartam LVS EN ISO 7730:2006 "Siltuma vides ergonomika. Termālā komforta analītiska noteikšana un interpretācija, izmantojot paredzamā vidējā balsojuma (PMV) un paredzamā neapmierināto personu procenta (PPD) indeksu kalkulāciju un lokālā termālā komforta kritērijus" un LVS CR 1752:2008 "Ēku ventilācija – Iekštelpu vides projektēšanas kritēriji".

157. Tuvāk par metru no gaisa sadalītāja gaisa plūsmas ātrums nav normēts.

158. Ja telpā paredzēts sadalīt gaisa plūsmu, nepieciešami regulējami gaisa sadales difuzori, ar kuriem var kvalitatīvi sadalīt atdzesētu gaisu vasarā un siltu gaisu ziemā.

159. Difuzorus, konfuzorus un ventilācijas restes projektē un ierīko tā, lai atbilstoši normatīvajam aktam par trokšņa novērtēšanas un pārvaldības kārtību novērstu aerodinamiskos trokšņus.

3.6. Ugunsdrošie vārsti

160. Ugunsdrošā vārsta uzdevums ir nepieļaut vai aizturēt liesmu un dūmgāzu izplatīšanos no viena ugunsdrošā nodalījuma uz citu ugunsdrošo nodalījumu un no ugunsdrošā nodalījuma uz kopīgo ventilācijas kameru un caur to uz citiem ugunsdrošajiem nodalījumiem.

161. Ugunsdrošos vārstus izbūvē tā, lai tie netraucētu dūmgāzu izvadīšanu no ventilācijas sistēmām atmosfērā.

162. Ugunsdrošos vārstus piestiprina tieši pie ugunsdrošiem šķēršļiem. Stiprinājumu ugunsizturības robeža ir vienāda ar ugunsdrošā vārsta ugunsizturības robežu.

163. Spraugas starp ugunsdrošo šķērsli un ugunsdrošo vārstu aizpilda ar degtnespējīgiem hermetizējošiem materiāliem, kuriem ir attiecīga ugunsizturības robeža.

164. Ugunsdrošā vārsta ugunsizturības robeža nav zemāka par tā ugunsdrošā šķēršļa ugunsizturības robežu, kuru šķērso gaisa vadi, vai:

164.1. nav zemāka par EI-120, ja gaisa vadi šķērso ugunsdrošus šķēršļus, kuru ugunsizturības robeža ir EI-150 un augstāka;

164.2. nav zemāka par EI-90, ja gaisa vadi šķērso ugunsdrošos šķēršļus, kuru ugunsizturības robeža nav augstāka par EI-120;

164.3. nav zemāka par EI-60, ja gaisa vadi šķērso ugunsdrošos šķēršļus, kuru ugunsizturības robeža nav augstāka par EI-90;

164.4. nav zemāka par EI-30, ja gaisa vadi šķērso ugunsdrošos šķēršļus, kuru ugunsizturības robeža nav augstāka par EI-60.

165. Sprādzienbīstamu un ugunsbīstamu telpu, kā arī sprādzienbīstamu maisījumu vietējās nosūces ventilācijas sistēmu elektroapgāde atbilst šādām prasībām:

165.1. nepārtraukta strāvas piegāde no diviem neatkarīgiem elektroapgādes avotiem;

165.2. skaņas un gaismas signalizācija, ja attiecīgā sistēma sāk darboties ar pārtraukumiem, ir bojāta vai nedarbojas;

165.3. atsevišķa sistēmas elektroiekārtu elektriskā ķēde, kas nav saistīta ar citu elektroiekārtu elektriskajām ķēdēm;

165.4. avārijas apgaismojums telpu ventilācijas kamerās;

165.5. ārpus sprādzienbīstamā un ugunsbīstamā nodalījuma pie evakuācijas izejām izvietotas ierīces sistēmas iedarbināšanai no attāluma.

3.7. Ventilācijas kameras

166. Ventilācijas iekārtas un citas gaisa apstrādes iekārtas izvieto ventilācijas kamerā. Ventilācijas kamera no pārējām telpām ir atdalīta ar ugunsdrošām starpsienām, kuru ugunsizturības robeža ir EI-60, ugunsdrošiem pārsegumiem, kuru ugunsizturības robeža ir R-60, un ugunsdrošām durvīm, kuru ugunsizturības robeža ir EI-30.

167. Ventilācijas iekārtas atļauts izvietot uz ēku jumtiem.

168. Publiskajās ēkās ventilācijas iekārtas atļauts izvietot ārpus ventilācijas kamerām, ja ventilācijas iekārtas apkalpo tikai vienu telpu, izņemot sprādzienbīstamas un ugunsbīstamas telpas.

169. Ja ventilācijas iekārtas apkalpo tikai vienu ugunsdrošības nodalījumu un ir tajā izvietotas, iekārtas nav jāizvieto ventilācijas kamerā, izņemot sprādzienbīstamas telpas.

170. Gaisa pieplūdes iekārtas un gaisa nosūces iekārtas parasti izvieto vienā ventilācijas kamerā.

171. Gaisa pieplūdes ventilatorus un gaisa nosūces ventilatorus, kuri apkalpo sprādzienbīstamas un ugunsbīstamas telpas, izvieto atsevišķās telpās.

172. Ventilācijas iekārtām, vēdināšanas, gaisa kondicionēšanas un apkures sistēmu iekārtām, kuras apkalpo sprādzienbīstamas un ugunsbīstamas telpas, kā arī sprādzienbīstamu maisījumu vietējām nosūces iekārtām nodrošina sprādziendrošu aizsardzību.

173. Ventilācijas kameras sprādzienbīstamības vai ugunsbīstamības kategoriju pielīdzina to telpu sprādzienbīstamībai vai ugunsbīstamībai, kuras attiecīgā kamera apkalpo.

174. Sprādzienbīstamu telpu ventilācijas sistēmu iekārtas izvieto atsevišķā ventilācijas kamerā. Šo sistēmu ventilatori un elektroiekārtas ir sprādziendrošas.

175. Ja ventilācijas kamera apkalpo telpas, kurām ir dažāda sprādzienbīstamība vai ugunsbīstamība, ventilācijas kameras sprādzienbīstamības un ugunsbīstamības kategoriju nosaka atbilstoši bīstamākajai kategorijai.

176. Ventilācijas kamerās nedrīkst izvietot cauruļvadus, kuros ir viegli uzliesmojošas un degošas vielas vai gāzes.

3.8. Ventilācijas sistēmas vadība

177. Ventilācijas sistēmas apgādā ar automātiskās vadības, elektrokomutācijas un elektriskās piedziņas iekārtām.

178. Automatizācijas līmeni nosaka tehnoloģiskās prasības un ekonomiskais pamatojums. Ēkas automātiskās vadības sistēmas projektē atbilstoši piemērojamiem standartiem.

179. Automatizācijas, elektrokomutācijas un elektriskās piedziņas sistēma nodrošina šādu minimālo prasību izpildi:

179.1. gaisa apstrādes procesu, gaisa sildīšanas, dzesēšanas, mitrināšanas, recirkulācijas, siltuma un aukstuma utilizācijas vadība;

179.2. elektrodzinēja aizsardzība;

179.3. ūdens kalorifera aizsardzība pret aizsalšanu, kontrolējot ūdens un gaisa temperatūru;

179.4. ventilācijas sistēmu automātiska izslēgšana, izņemot ventilācijas sistēmas, kas nosūc dūmus, vai sistēmas, kas rada virsspiedienu kāpņu telpā, liftu šahtās, gaiteņos bez dabiskā apgaismojuma vai ugunsdrošības vējtveros, ja saņemts signāls no automātiskās ugunsgrēka atklāšanas un trauksmes signalizācijas sistēmas vai automātiskās ugunsdzēsības sistēmas par ugunsgrēka izcelšanos.

3.9. Ventilācijas sistēmu montāža

180. Ventilācijas sistēmas montē atbilstoši saskaņotajam būvprojektam un ievērojot piemērojamos standartus.

181. Ventilācijas un gaisa kondicionēšanas sistēmas komisionē un nodod ekspluatācijā atbilstoši standartam LVS EN 12599:2013 "Ēku ventilācija. Testa procedūras un mērīšanas metodes, nododot ekspluatācijā ventilācijas un gaisa kondicionēšanas sistēmas" un LVS ISO 10780:2002 "Stacionāro avotu izmeši – Gāzu ātruma un plūsmas mērīšana cauruļvados".

182. Ventilācijas sistēmas iedarbina pēc to pārbaudes un salīdzināšanas ar būvprojektu un pēc elektrotīkla parametru pārbaudes.

183. Ventilācijas sistēmu aerodinamiskās ieregulēšanas un gaisa apstrādes iekārtu siltuma un aukstuma apgādes sistēmu hidrauliskās ieregulēšanas rezultātus apkopo protokolos. Pamatojoties uz protokoliem, sastāda sistēmas pasi.

184. Par ventilācijas sistēmas komisionēšanu sastāda protokolu. Protokolam pievieno šādus dokumentus:

184.1. autoruzraudzības kārtībā izmainīts būvprojekta rasējumu komplekts un detalizētie rasējumi;

184.2. uzstādīto iekārtu pases un lietoto būvizstrādājumu atbilstību apliecinoša dokumentācija;

184.3. segto darbu akti;

184.4. sistēmas aerodinamiskās un hidrauliskās ieregulēšanas protokoli un pases;

184.5. automātiskās regulēšanas un elektriskās komutācijas sistēmu shēmas;

184.6. sistēmas lietošanas apraksts un drošības tehnikas instrukcijas;

184.7. protokols par to, ka personāls ir apmācīts ekspluatēt sistēmu.

Ekonomikas ministre Dana Reizniece-Ozola



1.pielikums
Latvijas būvnormatīvam LBN 231-15
"Dzīvojamo un publisko ēku apkure un ventilācija"
(apstiprināts ar Ministru kabineta
2015.gada 16.jūnija
noteikumiem Nr.310)

Maksimālie parametri ēkām, kurās atļauts izbūvēt vietējās apkures ierīces ar cieto kurināmo

1. tabula

Nr. p. k. Ēku vai telpu lietošanas veids Stāvu skaits Kopējā platība (m2)
1. Dzīvojamās ēkas (neattiecas uz kamīniem, kurus izmanto kā papildu apkures ierīces) 2
2. Pirmsskolas izglītības iestādes, vispārizglītojošās skolas, internātskolas un citas skolas, bērnunami, ārstniecības, veselības aprūpes, sociālās aprūpes un rehabilitācijas iestādes (izņemot aptiekas) 1 300
3. Pārējās publiskās ēkas 2 500
4. Mazas ugunsslodzes ražotņu un noliktavu telpas dzīvojamās un publiskās ēkās 2 1000

Ugunsdrošības atkāpes no dūmkanāliem un dūmeņiem

2. tabula

Nr. p. k. Periodiskas darbības vietējās apkures ierīces

Ugunsdrošības atkāpe no dūmkanāla (dūmeņa) iekšējās virsmas
līdz konstrukcijām (mm)

degtspējīgām grūti degošām
1.  Ar darbības laiku līdz trim stundām 380 250
2.  Ar darbības laiku, ilgāku par trim stundām 510 380

Ekonomikas ministre Dana Reizniece-Ozola



2.pielikums
Latvijas būvnormatīvam LBN 231-15
"Dzīvojamo un publisko ēku apkure un ventilācija"
(apstiprināts ar Ministru kabineta
2015.gada 16.jūnija
noteikumiem Nr.310)

Gaisa vadu izvietojums inženiertīklu šahtās un šahtu sienu un tādu gaisa vadu izolācija, kuriem ir atšķirīga ugunsizturība

1. zīm. 2. zīm.
Apzīmējumi:

1 – kanalizācijas caurule no degtnespējīga materiāla;

2 – gaisa vads.

Piezīme.

Šahtas sienu ugunsizturība netiek normēta, ja gaisa vadi ir ar normētu ugunsizturības robežu un vietas, kur tie šķērso šahtas sienas, ir noblīvētas.

Apzīmējumi:

1 – kanalizācijas caurule no degtnespējīga materiāla;

2 – gaisa vads;

3 – šahtas siena.

Piezīme.

Šahtas sienu ugunsizturība netiek normēta, ja gaisa vadiem nav noteikta ugunsizturības robeža.

3. zīm. 4. zīm.
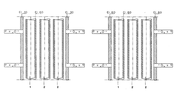
Apzīmējumi:

1 – telpas ar ugunsslodzi f>600 MJ/m2 (EI-60);

2 – telpas ar ugunsslodzi f≤600 MJ/m2 (EI-30);

f – ugunsslodze telpā, kuru kanāls apkalpo.

Apzīmējumi:

1 – telpas ar ugunsslodzi f≤600 MJ/m2 (EI-30);

2 – telpas ar ugunsslodzi f>600 MJ/m2 (EI-60);

f – ugunsslodze telpā, kuru kanāls apkalpo.

5. zīm. 6. zīm.
Apzīmējumi:

1 – ugunsbīstama vai sprādzienbīstama telpa
(EI-120);

2 – telpas ar ugunsslodzi f>600 MJ/m2;

3 – telpas ar ugunsslodzi f≤600 MJ/m2.

Piezīme.

Šahtu sienu un triju tādu gaisa vadu izolācija, kuriem ir atšķirīga ugunsizturības robeža.

Apzīmējums.

1 – ugunsdrošs vārsts.

Piezīme.

Gaisa vadi, kuriem ir atšķirīga ugunsizturības robeža, bez izolācijas. Šahtu sienu šķērsošanas vietās ierīko ugunsdrošus vārstus, kuriem ir attiecīga ugunsizturības robeža.

7. zīm. 8. zīm.
Apzīmējumi:

1 – kanalizācijas caurule no degtnespējīga materiāla;

2 – caurule no degtnespējīga materiāla;

3 – gaisa vads.

Apzīmējumi:

1 – kanalizācijas caurule no degtspējīga materiāla;

2 – caurule ar degtspējīgu izolāciju;

3 – gaisa vads.

Ekonomikas ministre Dana Reizniece-Ozola

Izdruka no oficiālā izdevuma "Latvijas Vēstnesis" (www.vestnesis.lv)

ATSAUKSMĒM

ATSAUKSMĒM

Lūdzu ievadiet atsauksmes tekstu!