
Ministru kabineta rīkojumi: Šajā laidienā 3 Pēdējās nedēļas laikā 31 Visi
Šī publikācija ir precizēta.
Precizējums: OP 2013/92.10
Ministru kabineta rīkojums Nr.144
Rīgā 2013.gada 10.aprīlī (prot. Nr.18 36.§)
Par konkursa "Maksas televīzijas pakalpojuma nodrošināšana zemes apraidē" nolikumu
1. Apstiprināt satiksmes ministra iesniegto konkursa "Maksas televīzijas pakalpojuma nodrošināšana zemes apraidē" (turpmāk – konkurss) nolikumu (1.–14.pielikums).
2. Satiksmes ministrijai septiņu darbdienu laikā publicēt oficiālajā izdevumā "Latvijas Vēstnesis" sludinājumu par konkursa rīkošanu.
3. Konkursa komisijai nodrošināt konkursa norisi un lēmuma pieņemšanu atbilstoši nolikumam.
4. Konkursa komisijai izvērtēt konkursa rezultātus, pieņemt lēmumu par konkursa uzvarētāju, un satiksmes ministram līdz 2013.gada 30.jūnijam iesniegt to apstiprināšanai Ministru kabinetā.
Ministru prezidenta vietā –
labklājības ministre I.Viņķele
Satiksmes ministrs A.Matīss
1.pielikums
Ministru kabineta
2013.gada 10.aprīļa
rīkojumam Nr.144
KONKURSA
Maksas televīzijas pakalpojuma nodrošināšana zemes apraidē
NOLIKUMS
Rīga, 2013
I. VISPĀRĪGĀ INFORMĀCIJA
1. Komisija
Ministru kabineta izveidota starpinstitucionāla komisija, kuras sastāvā iekļauti pārstāvji no Nacionālās elektronisko plašsaziņas līdzekļu padomes, Satiksmes ministrijas, Kultūras ministrijas un Konkurences padomes (turpmāk – Komisija). Komisija un tās nolikums apstiprināts ar Ministru kabineta 2013.gada 10.aprīļa rīkojumu Nr.139 "Par konkursa "Maksas televīzijas pakalpojuma nodrošināšana zemes apraidē" komisiju".
2. Pretendents
2.1. Pretendents ir juridiska persona, kas piedāvā sniegt maksas televīzijas pakalpojumu zemes apraidē saskaņā ar konkursa "Maksas televīzijas pakalpojuma nodrošināšana zemes apraidē" (turpmāk – Konkurss) nolikumā un tā pielikumos (turpmāk – Nolikums) noteiktajām prasībām.
2.2. Pretendents pilnībā sedz piedāvājuma sagatavošanas un iesniegšanas izmaksas. Komisija neuzņemas nekādas saistības par šīm izmaksām neatkarīgi no Konkursa rezultāta.
2.3. Konkursa uzvarētājam ir pienākums atbilstoši Elektronisko plašsaziņas līdzekļu likuma un šī Nolikuma prasībām Nacionālajā elektronisko plašsaziņas līdzekļu padomē saņemt retranslācijas vai retranslācijas un apraides atļauju televīzijas programmu izplatīšanai. Konkursa uzvarētājs maksas televīzijas pakalpojuma sniegšanas tiesības nevar nodot trešajām personām.
3. Konkursa priekšmets
Tiesības vienam Konkursa uzvarētājam sniegt maksas televīzijas pakalpojumu, televīzijas programmu izplatīšanai izmantojot valsts akciju sabiedrības "Latvijas Valsts radio un televīzijas centrs" zemes ciparu televīzijas raidošos tīklus.
4. Pakalpojuma izpildes laiks, vieta un nosacījumi
4.1. Pakalpojuma izpildes termiņš ir no 2014.gada 1.janvāra līdz 2021.gada 31.decembrim.
4.2. Pakalpojuma izpildes vieta – Latvijas teritorija.
4.3. Pakalpojuma sniedzējs nodrošina maksas televīzijas pakalpojuma nepārtrauktību, izmantojot zemes ciparu televīzijas raidošos tīklus, t.i., nodrošina pasākumu kopumu, lai galalietotājs pēc 2013.gada 31.decembra turpinātu saņemt maksas televīzijas pakalpojumu zemes apraidē.
5. Iespējas iepazīties un saņemt Nolikumu. Informācijas apmaiņa un papildu informācijas sniegšana
5.1. Konkursa Nolikums, kā arī tā grozījumi (ja tādi tiek veikti) tiek publicēti oficiālajā izdevumā "Latvijas Vēstnesis". Konkursa dokumentācija ir brīvi pieejama Satiksmes ministrijas mājaslapā internetā (www.sam.gov.lv). Ja publicētās Nolikuma un tā pielikumu redakcijas atšķiras, piemērojama oficiālajā izdevumā "Latvijas Vēstnesis" publicētā redakcija.
5.2. Pretendentiem ir tiesības pieprasīt Komisijai papildu informāciju par Konkursu, tai skaitā paskaidrojumus par Nolikumu, nosūtot informācijas pieprasījumu uz adresi – Gogoļa iela 3, Rīga, LV-1743, vai e-pasta adresi sakari@sam.gov.lv (parakstot ar drošu elektronisko parakstu).
5.3. Uz informācijas pieprasījuma jābūt norādei – Konkursam "Maksas televīzijas pakalpojuma nodrošināšana zemes apraidē".
5.4. Ja Komisija no ieinteresētā pretendenta laikus ir saņēmusi jautājumu par Konkursu vai tā Nolikumu, tā kopā ar uzdoto jautājumu (nenorādot tā iesniedzēju) piecu darbdienu laikā, bet ne vēlāk kā sešas dienas pirms Nolikuma 6.1.punktā norādītā piedāvājumu iesniegšanas termiņa beigām publicē atbildi Satiksmes ministrijas mājaslapā internetā www.sam.gov.lv.
5.5. Ja Konkursa dokumentos izdarīti grozījumi, piedāvājumu iesniegšanas termiņš pēc tam, kad paziņojums par grozījumiem publicēts oficiālajā izdevumā "Latvijas Vēstnesis", nedrīkst būt īsāks par 15 kalendāra dienām.
6. Piedāvājuma iesniegšanas vieta, datums, laiks un kārtība
6.1. Konkursa piedāvājums jāiesniedz līdz 2013.gada 28.maijam plkst.15:00 Satiksmes ministrijā 402.kabinetā (4.stāvā), Gogoļa ielā 3, Rīgā, LV-1743.
6.2. Pretendents iesniedz piedāvājumu personīgi vai nosūta pa pastu. Nosūtot piedāvājumu pa pastu, Pretendents uzņemas atbildību par piedāvājuma saņemšanu līdz Nolikuma 6.1.punktā norādītajam termiņam. Piedāvājumi pēc Nolikumā norādītā iesniegšanas termiņa beigām netiks pieņemti un tiks neatvērti nosūtīti atpakaļ iesniedzējam.
6.3. Pretendents var iesniegt tikai vienu piedāvājumu par visu Konkursa priekšmetu.
7. Piedāvājuma atvēršanas vieta, datums, laiks un kārtība
7.1. Piedāvājumu atvēršanas sanāksme notiks 2013.gada 28.maijā plkst.15:00 Satiksmes ministrijā 415.telpā (adrese: Gogoļa iela 3, Rīga).
7.2. Piedāvājumu atvēršanas sanāksme ir atklāta.
8. Kontaktpersonas
Imants Priedītis
E-pasts: imants.prieditis@sam.gov.lv
Fakss: 67028636
Dace Bankoviča
E-pasts: dace.bankovica@sam.gov.lv
Fakss: 67028636
Kontaktpersonas Konkursa laikā sniedz tikai organizatorisku informāciju.
II. PRASĪBAS ATTIECĪBĀ UZ PIEDĀVĀJUMA NOFORMĒJUMU UN IESNIEGŠANU
9. Dokumentus sagatavo atbilstoši šā Nolikuma prasībām latviešu valodā, datorrakstā. Svešvalodās iesniegtiem dokumentiem pievieno tulkojumu valsts valodā. Tulkojuma pareizību apliecina persona, kurai ir pretendenta pārstāvības tiesības. Dokumentu atvasinājumus noformē atbilstoši Ministru kabineta 2010.gada 28.septembra noteikumiem Nr.916 "Dokumentu izstrādāšanas un noformēšanas kārtība". Ja šajā punktā minētās prasības nav ievērotas, Komisija ir tiesīga uzskatīt, ka attiecīgais dokuments nav iesniegts, un izslēgt Pretendentu no turpmākas vērtēšanas.
10. Pretendents piedāvājumu var iesniegt papīra formā vai elektroniska dokumenta formā (doc, docx, xls, xlsx, odf vai pdf formātā), parakstītu ar drošu elektronisko parakstu, kas satur laika zīmogu.
11. Piedāvājuma iesniegšana
11.1. Ja Pretendents ir sagatavojis piedāvājumu papīra formā, to iesniedz trijos eksemplāros – oriģināls, viena kopija papīra formā un viena – elektroniskā formā CD, DVD vai USB datu nesējā ar PDF formātā ieskenētu piedāvājumu. Piedāvājuma papīra un elektroniskā forma nedrīkst atšķirties.
11.2. Ja Pretendents ir sagatavojis piedāvājumu elektroniska dokumenta formā, to iesniedz vienā eksemplārā doc, docx, xls, xlsx, odf (odt, ods) vai pdf formātā CD, DVD vai USB datu nesējā. Piedāvājumam jābūt parakstītam ar drošu elektronisko parakstu, kas satur laika zīmogu.
12. Piedāvājuma oriģināls un kopijas jāiesniedz atsevišķi, katra slēgtā un aizzīmogotā aploksnē. Uz aploksnes ir šāda informācija:
12.1. atbilstoša norāde "Piedāvājuma ORIĢINĀLS", "Piedāvājuma KOPIJA" vai "Piedāvājuma elektroniskā versija";
12.2. Pretendenta nosaukums, reģistrācijas numurs, adrese, faksa numurs;
12.3. norāde "Piedāvājums konkursam "Maksas televīzijas pakalpojuma nodrošināšana zemes apraidē". Neatvērt līdz piedāvājumu atvēršanas sanāksmei".
"Neatvērt līdz 2013.gada 28.maijaM plkst. 15:00".
13. Piedāvājumu paraksta pretendenta pārstāvis. Ja piedāvājumu paraksta pretendenta līgumiskais pārstāvis, piedāvājumam pievieno dokumentu (pilnvara, līgums), kas apliecina šīs personas pilnvaras, precīzi norādot piešķirto tiesību un saistību apjomu.
14. Ja Piedāvājums nav noformēts atbilstoši Nolikuma prasībām, tad Pretendents var tikt izslēgts no turpmākās dalības Konkursā.
15. Pretendents piedāvājumā (attiecīgo lapu augšpusē un apakšpusē) skaidri norāda informāciju, kurai saskaņā ar Komerclikumu ir noteicis ierobežotas pieejamības statusu (komercnoslēpums).
III. Nosacījumi Pretendenta dalībai konkursā un Pretendenta atlases dokumenti
16. Pretendentu izslēdz no Konkursa, ja:
16.1. Pretendents vai persona, kurai ir Pretendenta pārstāvības tiesības vai lēmuma pieņemšanas vai uzraudzības tiesības attiecībā uz šo Pretendentu, ar tādu tiesas spriedumu vai prokurora priekšrakstu par sodu, kurš stājies spēkā un kļuvis neapstrīdams un nepārsūdzams, ir atzīta par vainīgu noziedzīgā nodarījumā par izvairīšanos no nodokļu un tiem pielīdzināto maksājumu samaksas, koruptīva rakstura noziedzīgos nodarījumos, krāpnieciskās darbībās finanšu jomā, noziedzīgi iegūtu līdzekļu legalizācijā vai līdzdalībā noziedzīgā organizācijā. Izslēgšanas nosacījums netiek piemērots, ja no dienas, kad kļuvis neapstrīdams un nepārsūdzams attiecīgais tiesas spriedums, prokurora priekšraksts par sodu vai citas kompetentas institūcijas pieņemtais lēmums saistībā ar minētajiem pārkāpumiem, līdz piedāvājuma iesniegšanas dienai ir pagājuši trīs gadi;
16.2. ir pasludināts Pretendenta maksātnespējas process, apturēta vai pārtraukta pretendenta saimnieciskā darbība, uzsākta tiesvedība par Pretendenta maksātnespēju vai tiek konstatēts, ka līdz līguma izpildes paredzamajam beigu termiņam pretendents būs likvidēts;
16.3. Pretendentam Latvijā vai valstī, kurā atrodas tā galvenais birojs (ja tas nav reģistrēts Latvijā vai tā juridiskā adrese nav Latvijā), ir nodokļu parādi, tajā skaitā valsts sociālās apdrošināšanas obligāto iemaksu parādi, kas kopsummā katrā valstī pārsniedz 100 latus.
17. Kvalifikācijas prasības Pretendentiem
17.1. Vismaz triju gadu pieredze maksas televīzijas pakalpojumu sniegšanā galalietotājiem (neatkarīgi no televīzijas programmu izplatīšanas platformas un dalībvalsts, kurā iegūta šī pieredze).
17.2. Klientu skaits, kuriem Pretendents sniedzis maksas televīzijas programmu izplatīšanas pakalpojums, uz 2012.gada 31.decembri pārsniedz 50 000.
17.3. Pretendents nodrošina klientu apkalpošanas servisa pieejamību Latvijas teritorijā.
17.4. Pretendenta finanšu apgrozījums maksas televīzijas pakalpojumu jomā pēdējā finanšu gadā pārsniedz 1 500 000 latu. Ja pretendents reģistrēts ārvalstī, tā apgrozījumam jāpārsniedz summa, kas atbilst 1 500 000 latiem pēc Latvijas Bankas noteiktā kursa uz piedāvājuma iesniegšanas datumu.
17.5. Pretendentam ir pozitīvs pašu kapitāls operatīvajā bilancē uz 2013.gada 1.martu.
17.6. Pretendenta pieejamie finanšu līdzekļi vai kredītlīnijas ir pietiekamas Konkursa priekšmeta izpildei.
17.7. Pretendents Nacionālajā elektronisko plašsaziņas līdzekļu padomē ir iesniedzis piedāvāto maksas televīzijas programmu sarakstu, kas nepieciešams retranslācijas vai retranslācijas un apraides atļaujas saņemšanai.
18. Pretendentam jāiesniedz šādi kvalifikāciju apliecinoši atlases dokumenti (Pretendenta atlases dokumenti):
18.1. pieteikums (Nolikuma 2.pielikums) par piedalīšanos Konkursā. Pieteikumu paraksta Nolikuma 13.punktā noteiktajā kārtībā;
18.2. ārvalstīs reģistrēta pretendenta apliecināta reģistrācijas apliecības kopija, kas apliecina, ka pretendents ir reģistrēts normatīvajos aktos noteiktajā kārtībā;
18.3. dokuments, kas apliecina, ka Pretendentam ir izsniegta retranslācijas vai retranslācijas un apraides atļauja vai Pretendenta darbību ir reģistrējusi Nacionālā elektronisko plašsaziņas līdzekļu padome, un ka Pretendents ir elektronisko sakaru komersants (Pretendenta darbību ir reģistrējusi Sabiedrisko pakalpojumu regulēšanas komisija). Ārvalstīs reģistrēts pretendents iesniedz līdzvērtīgu kompetentas iestādes izsniegtu dokumentu;
18.4. Pretendenta pieredzes apraksts, kurā ietverta informācija tādā apjomā, lai Komisija varētu izvērtēt Pretendenta atbilstību Nolikuma 17.1., 17.2. un 17.3. punktā noteiktajām Pretendenta pieredzes (tehnisko un profesionālo spēju) prasībām (Nolikuma 3.pielikums);
18.5. Pretendenta apliecinājums, ka tā finansiālais stāvoklis ir stabils un tā rīcībā ir nepieciešamie finanšu, darbinieku un tehniskie resursi pakalpojuma izpildei;
18.6. Pretendenta sagatavota izziņa par Pretendenta finanšu apgrozījumu maksas televīzijas pakalpojumu jomā pēdējā finanšu gadā;
18.7. Pretendenta sagatavota izziņa, kas apstiprina, ka Pretendenta pašu kapitāls ir pozitīvs;
18.8. Pretendenta 2012.gada operatīvā bilance;
18.9. Pretendenta sagatavota izziņa, kas apliecina, ka Pretendents Nacionālajā elektronisko plašsaziņas līdzekļu padomē ir iesniedzis maksas televīzijas programmu sarakstu. Izziņā norāda arī iesniegto televīzijas programmu sarakstu;
18.10. ārvalstīs reģistrētam pretendentam ir jāiesniedz apliecinājums par saistību (vai nesaistību) ar Latvijā reģistrētu maksas televīzijas pakalpojuma sniedzēju Konkurences likuma 1.panta 2. un 9.punkta izpratnē;
18.11. Pretendenta pārstāvja parakstīts apliecinājums, ka uz to nav attiecināmi Nolikuma 16.punktā minētie izslēgšanas nosacījumi;
18.12. piedāvājuma nodrošinājums bankas garantijas vai apdrošināšanas polises veidā, ko izsniegusi Latvijas Republikā, Eiropas Savienībā vai Eiropas Ekonomikas zonā reģistrēta sabiedrība, 256 062 latu apmērā, kas atbilst viena mēneša maksai par maksas televīzijas programmu izplatīšanu ciparformātā (bez PVN) saskaņā ar līguma par maksas televīzijas programmu izplatīšanu ar zemes ciparu televīzijas raidošajiem tīkliem 5.pielikumu (atbilstoši Nolikuma 6.pielikumam);
18.13. Latvijas Republikā, Eiropas Savienībā vai Eiropas Ekonomikas zonā reģistrētas bankas vai apdrošināšanas sabiedrības apliecinājums/garantijas vēstule, kurā norādīts, ka tā apņemas Pretendentam izsniegt līguma izpildes nodrošinājumu 3 072 738 latu apmērā, ja Pretendents kā Konkursa uzvarētājs tiks uzaicināts noslēgt līgumu ar valsts akciju sabiedrību "Latvijas Valsts radio un televīzijas centrs" par maksas televīzijas programmu izplatīšanu ar zemes ciparu televīzijas raidošajiem tīkliem (atbilstoši Nolikuma 7.pielikumam).
19. Komisija neizskata Pretendenta piedāvājumu un izslēdz Pretendentu no turpmākās dalības Konkursā, ja Pretendents neatbilst kādai no Nolikuma III sadaļā minētajām prasībām.
20. Pretendents ir atbildīgs par piedāvājumā sniegto ziņu patiesumu. Ja Komisija, pārbaudot šīs ziņas, noskaidro, ka tās neatbilst patiesībai, Komisija lemj par pretendenta izslēgšanu no tālākas līdzdalības Konkursā.
IV. Tehniskais piedāvājums
21. Pretendents tehnisko piedāvājumu sagatavo atbilstoši visām tehniskās specifikācijas (1.a pielikums) prasībām un tādā apjomā, lai Komisija varētu izvērtēt piedāvājuma atbilstību Nolikuma un tehniskās specifikācijas prasībām.
22. Pretendentam tehniskais piedāvājums jāsagatavo apraksta veidā, iekļaujot informāciju, kas pilnībā demonstrē Pretendenta izpratni par Nolikumā norādītā pakalpojuma apjomu, pakalpojuma specifiku, izpildes termiņiem un tam nepieciešamajiem personāla un tehniskajiem resursiem. Tehniskais piedāvājums jāsagatavo maksimāli detalizēti, lai Komisija varētu pārliecināties par Pretendenta izpratni un iespējām izpildīt pakalpojumu un varētu izvērtēt piedāvājumu atbilstoši Konkursa Nolikumā norādītajiem vērtēšanas kritērijiem (Nolikuma 5.pielikums).
23. Pretendents tehniskajā piedāvājumā iekļauj Nolikumā norādītā pakalpojuma sniegšanas stratēģiju, tai skaitā:
23.1. maksas televīzijas tehnoloģiskais risinājums atbilstoši Nolikuma 1a. pielikumā "Tehniskā specifikācija" ietvertajām prasībām "Zemes ciparu televīzijas izplatīšanas tīkli maksas programmu apraidei";
23.2. maksas televīzijas pakalpojumu biznesa plāns laika periodam no 2014.gada 1.janvāra līdz 2021.gada 31.decembrim (ieskaitot) atbilstoši Nolikuma 1b. pielikumā "Biznesa Plāns" ietvertajam aprakstam.
V. Piedāvājumu vērtēšana
24. Tiks vērtēti tikai tie Piedāvājumi, kas iesniegti Nolikumā paredzētajā kārtībā un termiņā.
25. Piedāvājumu noformējuma pārbaudi, Pretendentu atlasi (atbilstoši izslēgšanas nosacījumiem un noteiktajām kvalifikācijas prasībām), tehnisko piedāvājumu atbilstības pārbaudi un visizdevīgākā piedāvājuma izvēli, ņemot vērā Nolikuma 5.pielikumā minētos vērtēšanas kritērijus (turpmāk – piedāvājumu vērtēšana), Komisija veic slēgtā sēdē.
26. Piedāvājumu vērtēšanu Komisija veic četros posmos, katrā nākamajā posmā vērtējot tikai tos piedāvājumus, kas nav noraidīti iepriekšējā posmā:
1.posms – Piedāvājumu noformējuma pārbaude. Komisija pārbauda, vai piedāvājums sagatavots un noformēts atbilstoši Konkursa Nolikumā norādītajām noformēšanas prasībām.
2.posms – Pretendentu atlase. Komisija, ņemot vērā iesniegtos Pretendentu atlases dokumentus, novērtē, vai Pretendenti atbilst Konkursa Nolikuma III sadaļā norādītajām prasībām.
3.posms – Tehnisko piedāvājumu atbilstības pārbaude. Komisija novērtē, vai tehniskais piedāvājums atbilst Konkursa Nolikuma IV sadaļā norādītajām prasībām.
4.posms – Visizdevīgākā piedāvājuma izvēle.
27. Komisija nosaka visizdevīgāko piedāvājumu atbilstoši Nolikuma 5.pielikumā noteiktajiem vērtēšanas kritērijiem. Komisijas locekļi rakstiski un izvērsti pamato savu vērtējumu.
28. Komisija piedāvājumu neizskata un attiecīgo Pretendentu izslēdz no dalības Konkursā, ja:
28.1. Pretendents ir iesniedzis nepatiesu informāciju vai vispār nav iesniedzis pieprasīto informāciju;
28.2. piedāvājums neatbilst kādai Konkursa Nolikumā noteiktajai prasībai, kas ir par pamatu piedāvājuma noraidīšanai.
VI. KOMISIJAS TIESĪBAS UN PIENĀKUMI
29. Komisija rīkojas saskaņā ar šo Nolikumu un Komisijas nolikumu, ko apstiprinājis Ministru kabinets.
30. Komisijai ir šādas tiesības:
30.1. lemt par iesniegto dokumentu atstāšanu bez izskatīšanas, ja tie neatbilst šī Nolikuma vai normatīvo aktu prasībām;
30.2. pieaicināt Komisijas darbā ekspertus ar padomdevēja tiesībām.
31. Komisijai ir šādi pienākumi:
31.1. izskatīt un izvērtēt Pretendentu piedāvājumus atbilstoši Nolikuma prasībām;
31.2. veikt citas darbības saskaņā ar Nolikumu un Komisijas nolikumu.
VII. PRETENDENTA TIESĪBAS UN PIENĀKUMI
32. Līdz piedāvājumu iesniegšanas termiņa beigām Pretendents ir tiesīgs atsaukt vai grozīt savu piedāvājumu.
33. Pretendentam, kura piedāvājums saņēmis vislielāko punktu skaitu, mēneša laikā pēc Konkursa rezultātu apstiprināšanas Ministru kabinetā ir pienākums saņemt retranslācijas vai retranslācijas un apraides atļauju maksas televīzijas programmas izplatīšanai.
34. Pretendents var veikt citas darbības saskaņā ar Nolikumu.
VIII. izziņu iesniegšana un līguma slēgšana
35. Ja Komisijai publiskos reģistros nav iespējams iegūt informāciju, Komisija Pretendentam, kura piedāvājums saņēmis vislielāko punktu skaitu, pieprasa šādus dokumentus, kas Pretendentam 10 darbdienu laikā no Komisijas pieprasījuma nosūtīšanas jāiesniedz Komisijai:
35.1. izziņa (oriģināls vai apstiprināta kopija), kuru ne agrāk kā vienu mēnesi pirms iesniegšanas dienas izdevis Valsts ieņēmumu dienests un kura apliecina, ka pretendentam Latvijā nav Valsts ieņēmumu dienesta administrēto nodokļu parādu, tajā skaitā valsts sociālās apdrošināšanas obligāto iemaksu parādu, kas kopsummā pārsniedz 100 latu;
35.2. kompetentas ārvalstu institūcijas izziņa (oriģināls vai apstiprināta kopija), kura izsniegta ne agrāk kā vienu mēnesi pirms iesniegšanas dienas un kura apliecina, ka ārvalstīs reģistrētam pretendentam nav pasludināts maksātnespējas process un tas neatrodas likvidācijas stadijā;
35.3. ja Pretendents ir reģistrēts ārvalstī, izziņa, ka ārvalstī reģistrētam Pretendentam attiecīgajā ārvalstī nav nodokļu parādu, tajā skaitā valsts sociālās apdrošināšanas obligāto iemaksu parādu, kas kopsummā pārsniedz 100 latu.
36. Ja Pretendents neiesniedz Nolikuma 35.punktā minētās izziņas norādītajā termiņā, Komisija Pretendentu izslēdz no turpmākas dalības Konkursā.
37. Konkursa rezultātus apstiprina ar Ministru kabineta rīkojumu.
38. Triju darbdienu laikā pēc Konkursa rezultātu apstiprināšanas Ministru kabinetā visi Pretendenti rakstiski tiks informēti par Konkursā pieņemto lēmumu, nosūtot to pa pastu.
39. Ministru kabineta rīkojumu saskaņā ar Elektronisko plašsaziņas līdzekļu likuma 72.panta piekto daļu var pārsūdzēt Administratīvajā rajona tiesā Administratīvā procesa likumā noteiktajā kārtībā. Rīkojuma pārsūdzēšana neaptur tā darbību.
40. Ar Ministru kabineta rīkojumu apstiprinātajam maksas televīzijas pakalpojumu sniedzējam 10 darbdienu laikā pēc Konkursa rezultātu paziņošanas jānoslēdz līgums ar valsts akciju sabiedrību "Latvijas Valsts radio un televīzijas centrs" par infrastruktūras izmantošanu maksas televīzijas programmu izplatīšanai ar zemes ciparu televīzijas raidošajiem tīkliem atbilstoši Nolikuma 4.pielikumā pievienotajam līguma projektam, kas ir Nolikuma neatņemama sastāvdaļa.
41. Ja Konkursa uzvarētājs noteiktā termiņā atsakās noslēgt Nolikuma 40.punktā minēto līgumu atbilstoši Nolikuma 4.pielikumam vai viena mēneša laikā pēc Konkursa rezultātu apstiprināšanas Ministru kabinetā nesaņem retranslācijas vai retranslācijas un apraides atļauju (Nolikuma 33.punkts), par maksas televīzijas pakalpojumu sniedzēju tiek apstiprināts Pretendents, kurš ieguvis nākamo augstāko punktu skaitu, kā arī iegūst Nolikuma 40.punktā minētā līguma slēgšanas tiesības.
IX. piemērojamie normatīvie akti un Pielikumi
42. Nolikums ir sagatavots, ievērojot:
42.1. Elektronisko plašsaziņas līdzekļu likumu;
42.2. Ministru kabineta 2012.gada 10.maija rīkojumu Nr.216 "Par koncepciju "Par zemes ciparu televīzijas programmu izplatīšanu no 2014.gada"".
43. Nolikumam ir pievienoti 8 (astoņi) pielikumi, kas ir tā neatņemamas sastāvdaļas:
1a.pielikums. Tehniskā specifikācija.
1b.pielikums. Biznesa Plānā iekļaujamās informācijas apraksts.
2.pielikums. Pieteikums dalībai konkursā.
3.pielikums. Pieredzes apraksta forma.
4.pielikums. Līguma projekts ar pielikumiem:
Pielikums Nr.1 – Teritorijas apraksts un apraides zonu izvietojuma plāns;
Pielikums Nr.2 – Signāla kvalitāte un monitorings;
Pielikums Nr.3 – Pakalpojumu kvalitātes noteikumi;
Pielikums Nr.4 – Tīklu aptveršanas zonu mērījumu veikšanas kārtība;
Pielikums Nr.5 – Pakalpojumu cenas;
Pielikums Nr.6 – Kvalitatīvo pakalpojumu sniegšanas protokola paraugs.
5.pielikums. Visizdevīgākā piedāvājuma vērtēšana.
6.pielikums. Piedāvājuma nodrošinājuma paraugs.
7.pielikums. Apliecinājums/garantijas vēstule par līguma izpildes nodrošinājumu.
Satiksmes ministrs A.Matīss
Satiksmes ministrijas iesniegtajā redakcijā
2.pielikums
Ministru kabineta
2013.gada 10.aprīļa
rīkojumam Nr.144
1.a pielikums
konkursa "Maksas televīzijas pakalpojuma
nodrošināšana zemes apraidē" nolikumam
TEHNISKĀ SPECIFIKĀCIJA
Zemes ciparu televīzijas maksas programmu izplatīšanas tīklu apraksts un specifikācija
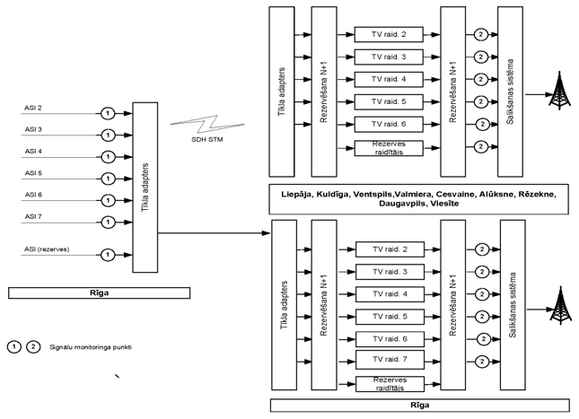
1. Maksas televīzijas programmu izplatīšanu visā valsts teritorijā nodrošina valsts akciju sabiedrība "Latvijas Valsts radio un televīzijas centrs" (VAS LVRTC), izmantojot 6 (sešus) zemes ciparu televīzijas raidošos tīklus.
2. Katram izplatīšanas tīklam norādīti izmantotā DVB-T sistēmas varianta parametri – modulācija, kodēšanas koeficients, aizsargintervāls un datu plūsmas pārraides ātrums (Mbit/s), atbilstoši standartam ETSI EN 300744.
3. Katrā tīklā (2.-6.) ietilpst 10 raidošās stacijas, bet 7.tīklā – viena raidošā stacija. Tās apkopotas katram tīklam atsevišķā tabulā, norādot:
• katras raidošās stacijas nosaukumu,
• raidīšanai izmantojamo frekvenču joslu – UHF,
• raidītāja atļauto izejas jaudu (kW) katrā stacijā,
• tīkla aptverto teritoriju (% no kopējās Latvijas teritorijas),
• iedzīvotāju skaitu aptvertajā teritorijā (% no kopējā pastāvīgo iedzīvotāju skaita Latvijā).
4. Katra tīkla aptvertā teritorija ir noteikta stacionārās uztveršanas režīmam (ārējā uztverošā antena), veicot tās aprēķinu ar firmas "LS telcom" apraides tīklu plānošanas programmatūru CHIRplus_BC, kā arī veicot radiosignāla elektromagnētiskā lauka intensitātes mērījumus dabā saskaņā ar CEPT rekomendāciju CEPT/ERC/REC 74-02 E. Vēlamā radiosignāla lauka intensitātes mediānas vērtība atbilstošajam TV kanālam noteikta saskaņā ar Reģionālā plāna, Ženēva, 2006 materiāliem un ITU rekomendāciju Rec. ITU-R BT.1368-7.
5. Norādītais raksturojums katram tīklam atbilst stāvoklim 2013.gada 1.martā.
6. Ņemot vērā, ka Reģionālajā nolīgumā (Ženēva 2006) noteiktais pārejas periods no analogās uz ciparu televīziju beidzas 2015. gada 16.jūnijā un 790 – 862 MHz josla Latvijas Nacionālajā radiofrekvenču plānā no 2015. gada 1. jūlija tiek iedalīta mobilajām un fiksētām platjoslas sistēmām ar televīzijas raidīšanas pārtraukšanu tajā, atsevišķi izplatīšanas tīklos izmantotie TV kanāli 2014.-2015. gadu periodā tiks nomainīti ar citiem, atbilstoši VAS ES izstrādātam plānam, par to iepriekš informējot. Šāda kanālu nomaiņa, kas neparedz pasliktināt aptveršanu un notiks no VAS LVRTC neatkarīgu apstākļu dēļ, līguma kontekstā nevar būt par iemeslu domstarpībām starp līgumslēdzēju pusēm.
7. Katrā tīklā nodrošinātais datu pārraides ātrums atļauj pārraidīt līdz 10 standartizšķirtspējas (SD – standard definition) televīzijas programmas ar stereo skaņas pavadījumu, izmantojot MPEG-4AVC video kompresijas standartu (ISO/IEC 14496-10). Vienā tīklā pārraidāmo televīzijas programmu maksimālais skaits ir atkarīgs no katrai programmai atvēlētā datu pārraides ātruma, ko pamatā nosaka tās video signāla saturs, skaņas pavadījuma kanālu skaits, cita papildus pārraidāmā informācija (elektoniskais programmas ceļvedis EPG, PSI/SI). Šo skaitu izvēlas televīzijas maksas pakalpojuma sniedzējs, saskaņojot ar VAS LVRTC.
DVB-T 2. tīkls
modulācija 64QAM, CR 3/4, G 1/4, datu plūsmas ātrums 22.39 Mbit/s
(Rīga 64QAM, CR 2/3, G 1/16, 23.42 Mbit/s)
|
Raidošā stacija |
Frekvenču josla |
Raid.jauda, kW |
| Liepājas RTS |
UHF |
2 |
|
ID1 |
||
| Kuldīgas RTS |
5 |
|
| Ventspils NRTS |
0.1 |
|
|
ID2 |
||
| Rīgas RTS |
5 |
|
|
ID3 |
||
| Valmieras RTS |
5 |
|
|
ID4 |
||
| Cesvaines RTS |
5 |
|
| Alūksnes NRTS |
0.5 |
|
|
ID5 |
||
| Rēzeknes RTS |
5 |
|
|
ID6 |
||
| Daugavpils RTS |
5 |
|
|
ID7 |
||
| Viesītes NRTS |
1 |
|
|
ID8 |
||
| Aptveršanas teritorija kopā, % |
93.8 |
|
| Iedzīvotāji tajā, % |
98.1 |
|
DVB-T 3. tīkls
modulācija 64QAM, CR 3/4, G 1/4, datu plūsmas ātrums 22.39 Mbit/s
(Rīga 64QAM, CR 2/3, G 1/16, 23.42 Mbit/s)
|
Raidošā stacija |
Frekvenču josla |
Raid.jauda, kW |
| Liepājas RTS |
UHF |
2 |
|
ID1 |
||
| Kuldīgas RTS |
5 |
|
| Ventspils NRTS |
0.1 |
|
|
ID2 |
||
| Rīgas RTS |
5 |
|
|
ID3 |
||
| Valmieras RTS |
5 |
|
|
ID4 |
||
| Cesvaines RTS |
1* |
|
| Alūksnes NRTS |
0.5 |
|
|
ID5 |
||
| Rēzeknes RTS |
5 |
|
|
ID6 |
||
| Daugavpils RTS |
5 |
|
|
ID7 |
||
| Viesītes NRTS |
1 |
|
|
ID8 |
||
| Aptveršanas teritorija kopā, % |
92.8 |
|
| Iedzīvotāji tajā, % |
97.4 |
|
* Reģionālā plānā, Ženēva 2006 paredzēto jaudu 5kW varēs izmantot no 2015.gada 17.jūnija, beidzoties pārejas periodam.
DVB-T 4. tīkls
modulācija 64QAM, CR 3/4, G 1/4, datu plūsmas ātrums 22.39 Mbit/s
(Rīga 64QAM, CR 2/3, G 1/16, 23.42 Mbit/s)
|
Raidošā stacija |
Frekvenču josla |
Raid.jauda, kW |
| Liepājas RTS |
UHF |
2 |
|
ID1 |
||
| Kuldīgas RTS |
5 |
|
| Ventspils NRTS |
0.1 |
|
|
ID2 |
||
| Rīgas RTS |
5 |
|
|
ID3 |
||
| Valmieras RTS |
5 |
|
|
ID4 |
||
| Cesvaines RTS |
5 |
|
| Alūksnes NRTS |
0.5 |
|
|
ID5 |
||
| Rēzeknes RTS |
5 |
|
|
ID6 |
||
| Daugavpils RTS |
5 |
|
|
ID7 |
||
| Viesītes NRTS |
1 |
|
|
ID8 |
||
| Aptveršanas teritorija kopā, % |
93.5 |
|
| Iedzīvotāji tajā, % |
97.7 |
|
DVB-T 5. tīkls
modulācija 64QAM, CR 3/4, G 1/4, datu plūsmas ātrums 22.39 Mbit/s
(Rīga 64QAM, CR 2/3, G 1/16, 23.42 Mbit/s)
|
Raidošā stacija |
Frekvenču josla |
Raid.jauda, kW |
| Liepājas RTS |
UHF |
2 |
|
ID1 |
||
| Kuldīgas RTS |
5 |
|
| Ventspils NRTS |
0.1 |
|
|
ID2 |
||
| Rīgas RTS |
5 |
|
|
ID3 |
||
| Valmieras RTS |
5 |
|
|
ID4 |
||
| Cesvaines RTS |
5 |
|
| Alūksnes NRTS |
0.5 |
|
|
ID5 |
||
| Rēzeknes RTS |
5 |
|
|
ID6 |
||
| Daugavpils RTS |
5 |
|
|
ID7 |
||
| Viesītes NRTS |
1 |
|
|
ID8 |
||
| Aptveršanas teritorija kopā, % |
95.3 |
|
| Iedzīvotāji tajā, % |
98.0 |
|
DVB-T 6. tīkls
modulācija 64QAM, CR 3/4, G 1/4, datu plūsmas ātrums 22.39 Mbit/s
(Rīga 64QAM, CR 2/3, G 1/16, 23.42 Mbit/s)
|
Raidošā stacija |
Frekvenču josla |
Raid.jauda, kW |
| Liepājas RTS |
UHF |
2 |
|
ID1 |
||
| Kuldīgas RTS |
5 |
|
| Ventspils NRTS |
0.1 |
|
|
ID2 |
||
| Rīgas RTS |
5 |
|
|
ID3 |
||
| Valmieras RTS |
5 |
|
|
ID4 |
||
| Cesvaines RTS |
5 |
|
| Alūksnes NRTS |
0.5 |
|
|
ID5 |
||
| Rēzeknes RTS |
0.5 * |
|
|
ID6 |
||
| Daugavpils RTS |
5 |
|
|
ID7 |
||
| Viesītes NRTS |
1 |
|
|
ID8 |
||
| Aptveršanas teritorija kopā, % |
91.8 |
|
| Iedzīvotāji tajā, % |
97.0 |
|
* Reģionālā plānā, Ženēva 2006 paredzēto jaudu 5kW varēs izmantot no 2015.gada 17.jūnija, beidzoties pārejas periodam.
DVB-T 7. tīkls
modulācija 64QAM, CR 2/3, G 1/16, 23.42 Mbit/s
|
Raidošā stacija |
Frekvenču josla |
Raid.jauda, kW |
| Liepājas RTS |
UHF |
|
|
ID1 |
||
| Kuldīgas RTS | ||
| Ventspils NRTS | ||
|
ID2 |
||
| Rīgas RTS |
5 |
|
|
ID3 |
||
| Valmieras RTS | ||
|
ID4 |
||
| Cesvaines RTS | ||
| Alūksnes NRTS | ||
|
ID5 |
||
| Rēzeknes RTS | ||
|
ID6 |
||
| Daugavpils RTS | ||
|
ID7 |
||
| Viesītes NRTS | ||
|
ID8 |
||
| Aptveršanas teritorija, % |
21.5 |
|
| Iedzīvotāji tajā, % |
56.3 |
|
Tehniskās prasības un pienākumi Pretendentam
1. Pretendents nodrošina:
1.1. pārraidāmo televīzijas programmu kodēšanu, izmantojot MPEG-4AVC video kompresijas standartu (ISO/IEC 14496-10);
1.2. nepieciešamo programmu signālu (multipleksēšanu) blīvēšanu MPEG transporta datplūsmā (MPEG TS) atbilstoši standartam ISO/IEC 13818-1;
1.3. pavadošās dienesta informācijas (SI – service information) iekļaušanu MPEG TS, tai skaitā, iekļaujot identifikatorus, atbilstoši standartam ETSI EN 300468, vadlīnijām ETSI TR 101211 un par šiem identifikatoriem atbildīgās institūcijas Latvijā VAS ES norādījumiem;
1.4. nosacītās piekļuves sistēmu CA;
1.5. klientu uzskaites un norēķinu sistēmu.
1.6. katrā izplatīšanas tīklā pārraidāmā televīzijas programmu kopuma signāla - programmbloka, kas atbilst ISO/IEC 13818-1, ETSI EN300468, ETSI EN300707 standartiem, nogādi līdz VAS LVRTC izplatīšanas tīklu pieslēguma punktam, kas atrodas Rīgas radio un televīzijas stacijā (Rīgas RTS), Rīgā, Zaķusalas krastmalā 1. Pieslēguma punkta saskarne – DVB ASI.
Satiksmes ministrs A.Matīss
Satiksmes ministrijas iesniegtajā redakcijā
3.pielikums
Ministru kabineta
2013.gada 10.aprīļa
rīkojumam Nr.144
1b.pielikums
Konkursa "Maksas televīzijas pakalpojuma
nodrošināšana zemes apraidē" nolikumam
Biznesa plānā iekļaujamās informācijas apraksts
Biznesa plāns sagatavojams laika periodam no 2014.gada 1.janvāra līdz 2021.gada 31.decembrim.
Pretendents Biznesa plānā iekļauj vismaz šādu informāciju:
1. Maksas televīzijas (turpmāk – TV) pakalpojuma nodrošināšanas stratēģijas apraksts, detalizēti norādot:
a) TV programmas un programmu paku komplektēšanas stratēģija, apskatot TV programmu paku veidošanas principus, skaitu, cenas; iekļaujot TV programmu sarakstu (t.sk., norādot programmu nosaukumus, katrai programmai pieejamās valodas un subtitrus, un programmas piederību konkrētai programmu pakai), kas atbilst Elektronisko plašsaziņas līdzekļu likuma prasībām, lai saņemtu retranslācijas vai retranslācijas un apraides atļauju TV pakalpojuma sniegšanai;
b) TV papildus pakalpojumi un papildus iespējas TV skatītājiem;
c) TV pakalpojuma pārdošanas stratēģija, apskatot arī TV klienta galiekārtu (TV dekoderi, viedkartes, antenas) nodrošināšanas stratēģiju (t.sk., norādot piegādes teritoriālo nodrošinājumu, veidus);
d) TV programmu paku apmaksas un norēķinu iespējas, apskatot priekšapmaksas un pēcapmaksas iespējas, kā arī dažādus norēķināšanās veidus par maksas TV pakalpojumu;
e) TV klientu apkalpošanas stratēģija, apskatot klientu apkalpošanas servisa pieejamību pretendenta TV apraides aptvertajā teritorijā, apkalpošanas līmeni, problēmsituāciju risināšanu utml.
Pretendentam ne mazāk kā 1 (vienu) gadu no līguma par maksas televīzijas programmu izplatīšanas nodrošināšanu noslēgšanas jānodrošina Piedāvājumā norādītās maksas televīzijas pakalpojuma nodrošināšanas stratēģijas izpilde ar izmaiņām ne vairāk kā 20 % apmērā attiecībā uz piedāvāto programmu sarakstu un 30% apmērā attiecībā uz piedāvāto TV programmu pamata pakas kanālu skaitu pakā un piedāvāto cenu .
2. Naudas plūsmas aprēķins laika periodam no 2014.gada 1.janvāra līdz 2021.gada 31.decembrim, norādot vismaz šādu informāciju:
a) TV pakalpojuma ieņēmumi dalījumā pa pakalpojumu veidiem – priekšapmaksas un pēcapmaksas TV pakalpojumi, kā arī atsevišķi norādot ieņēmumus no klienta galiekārtām – TV dekoderiem, viedkartēm;
b) TV klientu skaita prognoze dalījumā pa pakalpojumu veidiem – priekšapmaksas un pēcapmaksas TV pakalpojumi, kā arī atsevišķi norādot pārdoto (nomāto) TV galiekārtu skaitu (TV dekoderi, viedkartes)
c) TV pakalpojumu veidojošās izmaksas, atsevišķi norādot vismaz šādus izmaksu pozīcijas:
– maksājumi LVRTC par TV programmu izplatīšanu;
– maksājumi TV medijiem (TV satura ražotājiem) par tiesībām retranslēt TV programmas;
– maksājumi sadarbības partneriem par TV galiekārtām (TV dekoderiem, viedkartēm);
– citi maksājumi sadarbības partneriem;
– klientu apkalpošanas un mārketinga izmaksas;
– tehniskās TV platformas uzturēšanas un atbalsta izmaksas;
– administratīvās izmaksas;
– citas izmaksu pozīcijas
d) investīcijas zemes TV platformā atsevišķi norādot vismaz:
– investīcijas TV signālu kodēšanas iekārtās;
– investīcijas TV programmu komplektēšanas nodrošinājumā;
– investīcijas signālu kodēšanas un viedkaršu (CAS) sistēmā.
e) diskontētā naudas plūsma laika periodam no 2014.gada 1.janvāra līdz 2021.gada 31.decembrim.
Pretendentam jānorāda TV pakalpojuma galalietotājiem nepārtrauktība, sniedzot pakalpojumu no 2014.gada 1.janvāra, ņemot vērā līdz 2013.gada 31.decembrim sniegtos TV pakalpojumus.
Satiksmes ministrs A.Matīss
Satiksmes ministrijas iesniegtajā redakcijā
4.pielikums
Ministru kabineta
2013.gada 10.aprīļa
rīkojumam Nr.144
2.pielikums
konkursa "Maksas televīzijas pakalpojuma
nodrošināšana zemes apraidē" nolikumam
Pieteikums par piedalīšanos konkursā
"Maksas televīzijas pakalpojuma nodrošināšana zemes apraidē"
Pretendents,
|
Pretendenta nosaukums |
|||
| , | |||
|
Nodokļu maksātāja reģistrācijas numurs |
|||
| tā | personā | ||
ar šā pieteikuma iesniegšanu:
1. Piesakās piedalīties konkursā "Maksas televīzijas pakalpojuma nodrošināšana zemes apraidē".
2. Apņemas sniegt pakalpojumu saskaņā ar konkursa "Maksas televīzijas pakalpojuma nodrošināšana zemes apraidē" nolikumā un tā pielikumos noteiktajām prasībām un pretendenta sagatavoto un iesniegto piedāvājumu.
3. Apliecina, ka uz pretendentu neattiecas konkursa nolikuma 15.punktā norādītie izslēgšanas nosacījumi.
4. Garantē resursu pietiekamību maksas televīzijas pakalpojuma sniegšanai.
5. Iesniedz piedāvājumu, kas atbilst konkursa "Maksas televīzijas pakalpojuma nodrošināšana zemes apraidē" nolikuma prasībām.
6. Apstiprina, ka visas piedāvājumā sniegtās ziņas ir patiesas.
7. Apņemas gadījumā, ja tiks apstiprināts par maksas televīzijas pakalpojumu sniedzēju, nolikumā un tā pielikumos noteiktajā termiņā un kārtībā noslēgt līgumu par infrastruktūras izmantošanu maksas televīzijas programmu zemes izplatīšanas ciparformātā nodrošināšanai un saņemt retranslācijas vai retranslācijas un apraides atļaujas pakalpojuma nodrošināšanai.
Paraksts:
_____________________________________________________
persona ar pārstāvības tiesībām vai pilnvarotā persona
Datums, vieta: __________________________________________
Pilns vārds, uzvārds: _______________________________________________________________________________________________________
Amats: __________________________________________________________________________________________________________________
Juridiskā adrese: ___________________________________________________________________________________________________________
Pretendenta kontaktinformācija (tālrunis, fakss, e-pasts) _________________________________________
Kontaktpersonas amats, vārds, uzvārds: _____________________________________________
Pieteikums ir jāparaksta pretendenta pārstāvim, kuram ir pārstāvības tiesības vai viņa pilnvarotai personai (šādā gadījumā obligāti jāpievieno pilnvaras oriģināls).
Satiksmes ministrs A.Matīss
Satiksmes ministrijas iesniegtajā redakcijā
5.pielikums
Ministru kabineta
2013.gada 10.aprīļa
rīkojumam Nr.144
3.pielikums
konkursa "Maksas televīzijas pakalpojuma
nodrošināšana zemes apraidē" nolikumam
Pretendenta pieredzes apraksts
Informācija jāiekļauj tādā apjomā, lai Komisija bez papildu informācijas pieprasīšanas varētu izvērtēt atbilstību visām konkursa nolikumā ietvertajām prasībām par attiecīgo pieredzi un kvalifikāciju, norādot uz kuru konkursa nolikuma prasību konkrētā pieredze ir attiecināma.
|
Nr. |
Sniegtais pakalpojums un tā īss apraksts |
Informācija par pakalpojumu saņēmēju (klientu) skaitu uz 2012.gada 31.decembri |
Neto apgrozījums no maksas televīzijas pakalpojuma sniegšanas pēdējā finanšu gadā (LVL) |
Pakalpojumu sniegšanas laiks (Ne mazāk kā 3 gadi) |
|
1. |
Aprakstā jāietver informācija, lai Komisija varētu izvērtēt Pretendenta atbilstību konkursa nolikuma 17.1., 17.2. un 17.3. punktā minētajām prasībām.
|
(amats, vārds, uzvārds) |
(paraksts) |
Satiksmes ministrs A.Matīss
Satiksmes ministrijas iesniegtajā redakcijā
6.pielikums
Ministru kabineta
2013.gada 10.aprīļa
rīkojumam Nr.144
4.pielikums
konkursa "Maksas televīzijas pakalpojuma
nodrošināšana zemes apraidē" nolikumam
LĪGUMS
Nr. __________
PAR MAKSAS TELEVĪZIJAS PROGRAMMU IZPLATĪŠANU AR ZEMES CIPARU TELEVĪZIJAS RAIDOŠAJIEM TĪKLIEM
STARP
__________________________________________
vienotās reģistrācijas numurs _____________________________,
juridiskā adrese: __________________________________________,
kuru pārstāv tās ___________________________________________, kurš rīkojas uz
________________________________________________ pamata (Pasūtītājs), no vienas
puses,
UN
VALSTS AKCIJU SABIEDRĪBU "LATVIJAS VALSTS RADIO UN TELEVĪZIJAS CENTRS"
vienotās reģistrācijas numurs 40003011203, juridiskā adrese:
Ērgļu iela 7, Rīga, LV-1012, Latvija,
kuru pārstāv tās ___________________________________________, kuri rīkojas uz
________________________________________________ pamata (Izpildītājs), no otras
puses.
Rīgā, ____________________________
Līguma saturs
1. Līguma ievads
2. Līguma interpretācija
3. Līguma priekšmets
4. Pakalpojumu sniegšanas kārtība
5. Zemes ciparu televīzijas izplatīšanas tīklu darbība un tehniskā uzraudzība
6. TV kanālu aizstāšanas procedūra
7. Izmaiņas Vienfrekvences tīkla aptveršanas zonā un jauna Izplatīšanas tīkla izveide
8. Tehnisko līdzekļu tehniskā apkope un remonts
9. Pakalpojumu apmaksa un norēķinu kārtība
10. Pušu atbildība un sankcijas
11. Nepārvarama vara
12. Līguma spēkā esamības termiņš
13. Līguma vienpusēja izbeigšana
14. Līgumam piemērojamais likums un strīdu risināšanas kārtība
15. Konfidencialitāte
16. Pušu pārstāvji, paziņojumi un cita veida saziņa
17. Nobeiguma noteikumi
18. Līguma pielikumi
19. Pušu pārstāvju paraksti
1. Līguma ievads
Ņemot vērā, ka:
1) ar Latvijas Republikas Ministru kabineta 2007.gada 11.decembra noteikumiem Nr.855 pieņemts un apstiprināts "Starptautiskās telekomunikāciju savienības Reģionālais nolīgums par zemes ciparu apraides dienesta plānošanu 1.reģionā (1.reģiona daļas, kas atrodas uz rietumiem no 1700 E meridiāna un uz ziemeļiem no 400 S paralēles, izņemot Mongolijas teritoriju) un Irānas Islāma Republikā 174-230 MHz un 470-862 MHz frekvenču joslā", kas noteic kārtību un termiņus, kādā Starptautiskās Telekomunikāciju savienības (International Telecommunication Union) dalībvalstīs notiek pāreja no analogās uz ciparu apraidi 174-230 MHz un 470-862 MHz frekvenču joslā;
2) 06.10.2009. Ministru kabineta noteikumi Nr. 1151 "Noteikumi par radiofrekvenču spektra sadalījumu radiosakaru veidiem un iedalījumu radiosakaru sistēmām, kā arī par radiofrekvenču spektra joslu izmantošanas vispārīgajiem nosacījumiem (Nacionālais radiofrekvenču plāns)"
3) saskaņā ar Elektronisko plašsaziņas līdzekļu likumu Izpildītājam no 2014.gada 1.janvāra ir piešķirtas radiofrekvenču spektra lietošanas tiesības maksas televīzijas programmu izplatīšanai;
4) saskaņā ar Ministru kabineta 2013.gada _____._________________________ Rīkojumu Pasūtītājs ir apstiprināts par izvēlēto komersantu, kurš nodrošinās maksas televīzijas programmu pakalpojuma sniegšanu zemes ciparu apraidē Latvijas Republikā;
5) saskaņā ar Rīkojumu _______ darbdienu laikā pēc Rīkojuma pieņemšanas Pasūtītājam jānodibina tiesiskas attiecības ar Izpildītāju par maksas televīzijas programmu izplatīšanu ar zemes ciparu televīzijas raidošajiem tīkliem līdz 2021.gada 31.decembrim.
Pasūtītājs un Izpildītājs, savstarpēji vienojoties, bez spaidiem, maldības un viltus noslēdz šo Līgumu, kas nosaka:
1) kārtību, kādā Izpildītājs sniedz Pasūtītājam un Pasūtītājs saņem Izpildītāja sniegtos Pakalpojumus ar mērķi nodrošināt maksas televīzijas programmu izplatīšanu ar zemes ciparu televīzijas raidošajiem tīkliem Teritorijā;
2) maksas televīzijas programmu zemes ciparu televīzijas izplatīšanas tīklu tehniskās uzraudzības un uzturēšanas kārtību, ko saskaņā ar šī Līguma noteikumiem veic Izpildītājs.
2. Līguma interpretācija
Zemāk minētajiem terminiem, cita starpā, ievērojot Latvijas Republikas Elektronisko plašsaziņas līdzekļu likuma 1.panta noteikumus un Elektronisko sakaru likuma 1.panta noteikumus, ir šādas nozīmes šī Līguma, tā pielikumu, grozījumu un papildinājumu ietvaros, ja vien tekstā nav norādīts citādi:
2.1. Eiropas Parlamenta un Padomes 2012.gada 14.marta lēmums Nr.243/2012/ES - lēmums, ar ko izveidota radiofrekvenču spektra daudzgadu politikas programma, kura noteic, ka 790-862 MHz joslas izmantošana būs jāparedz bezvadu platjoslas pakalpojumu attīstībai (mobilajam dienestam).
2.2. VAS ES – valsts akciju sabiedrība "Elektroniskie sakari", vienotais reģistrācijas numurs: 40003021907, juridiskā adrese: Elizabetes iela 45/47, Rīga LV-1010, Latvija.
2.3. Galaiekārtas – iekārtas, kuras izmantojot, Galalietotājs var uztvert zemes ciparu televīzijas programmas.
2.4. Galalietotājs – elektronisko sakaru pakalpojumu lietotājs (maksas televīzijas programmu zemes apraides ciparformātā pakalpojumu lietotājs), kas šos pakalpojumus neizmanto elektronisko sakaru pakalpojumu (televīzijas programmu zemes apraides ciparformātā pakalpojumu) nodrošināšanai citām personām.
2.5. Infrastruktūra – Izpildītāja izveidota un uzturēta tehniskā infrastruktūra, kas nodrošina televīzijas Signāla saņemšanu Pieslēguma punktā, Signāla nogādāšanu līdz raidītājiem un maksas televīzijas programmu ciparformātā raidīšanu Teritorijā.
2.6. Izpildītājs – VAS "Latvijas Valsts radio un televīzijas centrs", vienotās reģistrācijas numurs 40003011203, juridiskā adrese: Ērgļu iela 7, Rīga, LV-1012, Latvija.
2.7. Izpildītāja pārstāvji – Līguma 16.2.punktā minētās personas.
2.8. Līgums – šis Līgums Nr.___________ starp Pasūtītāju un Izpildītāju par maksas televīzijas programmu izplatīšanu ar zemes ciparu televīzijas raidošajiem tīkliem, ieskaitot tā esošos un nākamos pielikumus, grozījumus un papildinājumus, kas ir šī Līguma neatņemamas sastāvdaļas.
2.9. Pakalpojumi – visi (kopā vai atsevišķi, atkarībā no konteksta) Līguma 3.1.punktā minētie pakalpojumi maksas televīzijas programmu zemes apraides ciparformātā nodrošināšanai, kurus saskaņā ar šī Līguma noteikumiem Izpildītājs sniedz Pasūtītājam.
2.10. Pasūtītājs – _______________________.
2.11. Pasūtītāja pārstāvji – Līguma 16.1.punktā minētās personas.
2.12. Pieslēguma punkts – Izpildītāja Rīgas radio un televīzijas stacija (Rīgas RTS), Zaķusalas krastmala 1, Rīga, kur Pasūtītājs attiecīgo Programmu bloka Signālu nodod Tehniskajos līdzekļos un Izpildītājs to pieņem.
2.13. Programmu bloks (Multiplekss vai MUX) – maksas televīzijas programmu un servisu kopums, ko pārraida vienā Zemes ciparu televīzijas izplatīšanas tīklā.
2.14. Programmu bloka izplatīšana (Izplatīšana) – Programmu bloka pārraide līdz raidītājiem un tās sākotnējā izplatīšana ar zemes raidītāju palīdzību kodētā veidā publiskai uztveršanai.
2.15. Puse – Pasūtītājs vai Izpildītājs – katrs atsevišķi.
2.16. Puses - Pasūtītājs un Izpildītājs – abi kopā.
2.17. Radiofrekvenču spektra diapazons - radiofrekvenču spektra joslas, kurās Izpildītājs, saskaņā ar Elektronisko plašsaziņas līdzekļu likumu, ir saņēmis frekvences piešķīruma lietošanas atļaujas.
2.18. Rīkojums – Ministru kabineta 2013.gada _____._________________________ rīkojums "Par komersanta apstiprināšanu maksas televīzijas pakalpojuma nodrošināšanai zemes apraidē."
2.19. Signāls – dati, kas strukturēti atbilstoši ISO/IEC 13818-1 standartam.
2.20. Tehniskais brāķis – Tehnisko līdzekļu darbība ar novirzēm no attiecīgā Tīkla pieņemšanas – nodošanas aktā noteiktajām parametru normām (arī noviržu kopumu), kas ilgst ilgāk par 1 (vienu) minūti un rada Tehnisko līdzekļu raidītās informācijas (Signāla) izkropļojumu.
2.21. Tehniskais pārtraukums – Tehnisko līdzekļu darbības traucējums, kas ilgst ilgāk par 1 (vienu) minūti un rada Programmu bloka raidīšanas pārtraukumu.
2.22. Tehniskie līdzekļi – iekārtu, būvju un sistēmu kopums, kas pieder Izpildītājam vai ir Izpildītāja lietošanā un/vai valdījumā un ko Izpildītājs izmanto, lai nodrošinātu Programmu bloka saņemšanu Pieslēguma punktā un Programmu bloka izplatīšanu.
2.23. Tehnisko līdzekļu ārkārtas remonts – iepriekš neplānots pasākums vai pasākumu kopums Tehnisko līdzekļu normālas darbības atjaunošanai, kura ietvaros nepieciešams veikt Tehnisko līdzekļu sastāvdaļu nomaiņu vai atjaunināšanu un kas var ietekmēt Programmu bloka raidīšanu un tās kvalitāti.
2.24. Tehnisko līdzekļu ārkārtas tehniskā apkope – iepriekš neplānots pasākums vai pasākumu kopums Tehnisko līdzekļu darbības nodrošināšanai, kas var ietekmēt Programmu raidīšanu un tās kvalitāti.
2.25. Tehnisko līdzekļu plānotais remonts – iepriekš plānots pasākums vai pasākumu kopums Tehnisko līdzekļu normālas darbības atjaunošanai, kura ietvaros nepieciešams veikt Tehnisko līdzekļu sastāvdaļu nomaiņu vai atjaunināšanu un kas var ietekmēt Programmu bloka raidīšanu un tās kvalitāti.
2.26. Tehnisko līdzekļu plānotā tehniskā apkope – iepriekš plānots pasākums vai pasākumu kopums Tehnisko līdzekļu darbības nodrošināšanai, ieskaitot Tehnisko līdzekļu periodisko profilaktisko apkopi un regulēšanas darbus, kas var ietekmēt Programmu raidīšanu un tās kvalitāti.
2.27. Teritorija – Līguma Pielikumā Nr.1 aprakstītā Latvijas Republikas teritorija, atbilstoši Apraides zonu izvietojuma plānam.
2.28. Vienfrekvences tīkla zona – ģeogrāfiska teritorija, kurā dažādās raidošajās stacijās izvietotie raidītāji viena un tā paša programmu bloka raidīšanai izmanto vienu un to pašu frekvenču kanālu.
2.29. Zemes ciparu televīzijas izplatīšanas tīkls (Izplatīšanas tīkls) – Tehnisko līdzekļu kopums, kas nodrošina viena Programmu bloka izplatīšanu noteiktā teritorijā. Pēc ģeogrāfiskās teritorijas izplatīšanas tīkls var ietvert vienu vai vairākas vienfrekvenču tīklu zonas. Zemes ciparu maksas televīzijas izplatīšanas tīklu nosaka tīklā ietilpstošo raidošo staciju novietojums, raidītāju izejas jaudas un raidīšanai izmantotie frekvenču kanāli saskaņā ar Līguma Pielikumu Nr.1 "Teritorijas apraksts un Apraides zonu izvietojuma plāns".
2.30. Ženēvas plāns 2006 - "Starptautiskās telekomunikāciju savienības Reģionālais nolīgums par zemes ciparu apraides dienesta plānošanu 1.reģionā (1.reģiona daļas, kas atrodas uz rietumiem no 1700 E meridiāna un uz ziemeļiem no 400 S paralēles, izņemot Mongolijas teritoriju) un Irānas Islāma Republikā 174-230 MHz un 470-862 MHz frekvenču joslā", kas noteic kārtību un termiņus, kādā Starptautiskās Telekomunikāciju savienības (International Telecommunication Union) dalībvalstīs notiek pāreja no analogās uz ciparu apraidi 174-230 MHz un 470-862 MHz frekvenču joslā.
Līguma nodaļām nosaukumi ir doti vienīgi ērtības vai atsauces iespēju dēļ, un tie neietekmē un nemaina nevienu Līguma noteikumu.
3. Līguma priekšmets
3.1. Saskaņā ar šī Līguma noteikumiem Izpildītājs, izmantojot tā rīcībā esošo Izplatīšanas tīklu Infrastruktūru, Pasūtītāja uzdevumā nodrošina Līguma 3.1.punktā minēto Pakalpojumu sniegšanu maksas televīzijas programmu zemes apraides ciparformātā nodrošināšanai.
Pasūtītājs pasūta un apņemas pieņemt un Izpildītājs apņemas Līguma spēkā esamības laikā par atlīdzību sniegt Pasūtītājam šādus Pakalpojumus atbilstoši Līguma un visu tā pielikumu noteikumiem, kā arī atbilstoši Latvijas Republikā spēkā esošo nacionālo un starptautisko tiesību aktu prasībām:
3.1.1. Katra Programmu bloka Signāla saņemšana Pieslēguma punktā;
3.1.2. saņemto Programmu bloku Signālu diennakts izplatīšana Zemes ciparu televīzijas izplatīšanas tīklos Teritorijā;
3.1.3. Zemes ciparu televīzijas izplatīšanas tīklu tehniskā uzraudzība (monitorings) saskaņā ar Līguma noteikumiem.
3.2. Līguma 3.1.punktā minēto Pakalpojumu sniegšana tiek uzsākta pēc tam, kad Pušu starpā parakstīts akts par Signāla piegādi – saņemšanu Pieslēguma punktā, bet ne ātrāk kā brīdī, kad Pasūtītājam saskaņā ar Rīkojumā noteikto jāuzsāk maksas televīzijas pakalpojumu sniegšana galalietotājam.
4. Pakalpojumu sniegšanas kārtība
4.1. 10 (desmit) dienas pirms Pasūtītājam saskaņā ar Rīkojumā noteikto jāuzsāk maksas televīzijas pakalpojumu sniegšana, Pasūtītājs piegādā Signālu Pieslēguma punktā Signāla saņemšanas un kvalitātes pārbaudes veikšanai (Signāla pirmspārbaude).
4.2. Ja, veicot Signāla pirmspārbaudi, Izpildītājs konstatē, ka Signāls Pieslēguma punktā tiek saņemts un tā kvalitāte ir atbilstoša Līguma noteikumiem, Puses paraksta aktu par Signāla piegādi – saņemšanu Pieslēguma punktā.
4.3. Ja, veicot Signāla pirmspārbaudi, Izpildītājs konstatē, ka Signāls Pieslēguma punktā netiek saņemts vai netiek saņemts pienācīgā kvalitātē, Pasūtītājam ir pienākums konstatētos trūkumus novērst ne vēlāk kā līdz brīdim, kad Pasūtītājam saskaņā ar Rīkojumā noteikto jāuzsāk maksas televīzijas pakalpojumu sniegšana.
4.4. Līguma darbības laikā Pasūtītājs nodrošina Programmu bloku (Signāla) drošu, kvalitatīvu un nepārtrauktu piegādi Pieslēguma punktā saskaņā ar Pielikumu Nr.2 "Signāla kvalitāte un monitorings".
4.5. Izpildītājs nodrošina piegādāto Programmu bloku saņemšanu un nogādāšanu līdz raidītājiem tādējādi, lai, izmantojot Tehniskos Līdzekļus, nodrošinātu saņemto Programmu bloku diennakts raidīšanu Zemes ciparu televīzijas izplatīšanas tīklos, saskaņā ar Līguma Pielikumu Nr.2 "Signāla kvalitāte un monitorings".
4.6. Pasūtītājam ir pienākums informēt Izpildītāju par Programmu sarakstu pirms Pasūtītājs piegādā Programmu blokus Pieslēguma punktā, Programmu sarakstu, iesniedzot Izpildītājam 10 (desmit) kalendāra dienas pirms piegādes uzsākšanas.
4.7. Pasūtītājs paziņo Izpildītājam par visām izmaiņām, kas tiek veiktas Programmu bloku sastāvā, sniedzot visu informāciju par aktuālo situāciju, attiecīgo informāciju nosūtot Līguma 16.2.punktā norādītajai Izpildītāja kontaktpersonai ne vēlāk kā 10 (desmit) kalendāra dienas pirms izmaiņu veikšanas brīža.
4.8. Izpildītājs nav atbildīgs par programmu saturu.
5. Zemes ciparu televīzijas izplatīšanas tīklu darbība un tehniskā uzraudzība
5.1. Tehnisko līdzekļu darbības nodrošināšana.
Izpildītājam ir pienākums nodrošināt Tehnisko līdzekļu darbību un Programmu bloku kvalitatīvu izplatīšanu, pie nosacījuma, ka Pasūtītājs ir izpildījis Līguma 4.4. punkta noteikumus.
5.2. Zemes ciparu televīzijas izplatīšanas tīklu darbības tehniskā uzraudzība.
Izpildītājs veic Zemes ciparu televīzijas izplatīšanas tīklu darbības tehnisko uzraudzību (monitoringu). Pasūtītājs nodrošina Izpildītāju ar aktualizētām viedkartēm maksas televīzijas programmu dekodēšanai.
5.3. Tehnisko līdzekļu izslēgšana avārijas gadījumos.
Avārijas gadījumos Izpildītājam ir tiesības izslēgt Tehniskos līdzekļus. Šādā gadījumā Izpildītājam ir pienākums nekavējoties, bet ne ilgāk kā 30 (trīsdesmit) minūšu laikā no Tehnisko līdzekļu izslēgšanas jebkurā diennakts laikā paziņot Pasūtītāja Līguma 16.1.punktā norādītajām kontaktpersonām par Tehnisko līdzekļu izslēgšanu.
5.4. Mērījumi.
5.4.1. Līguma parakstīšanas brīdī Līguma pielikumā tiek pievienots katra Tīkla katras Vienfrekvences zonas pārbaudes 2013.gada protokols, kas sagatavots atbilstoši Līguma pielikumam Nr.4 "Tīklu aptveršanas zonu mērījumu veikšanas kārtība."
5.4.2. Turpmākos Raidītāju aptveršanas zonu mērījumus Tehnisko līdzekļu darbības un atbilstības pārbaudei veic vienu reizi katru 12 mēnešu periodā. Plānotos mērījumus veic Izpildītājs ar Pasūtītāju iepriekš saskaņota plānoto mērījumu veikšanas laika grafika ietvaros.
5.4.3. Pasūtītājs ir tiesīgs pilnvarot tā pārstāvi piedalīties mērījumu veikšanā un Izpildītājam tādā gadījumā ir pienākums nodrošināt Pasūtītāja pilnvarotajam pārstāvim iespēju piedalīties mērījumu veikšanā. Pasūtītāja pārstāvja nepiedalīšanās mērījumu veikšanā pati par sevi nevar būt pamats veikto mērījumu apšaubīšanai.
5.5. Strīdu risināšana par veiktajiem mērījumiem.
5.5.1. Ja starp Pasūtītāju un Izpildītāju rodas strīds par Raidītāju aptveršanas zonu mērījumiem, Puses apņemas šo strīdu atrisināt ne vēlāk kā 3 (trīs) darba dienu laikā pēc tā rašanās, bet, ja šajā termiņā Puses nepanāk vienošanos, tad Pusēm ir pienākums nākamo 3 (trīs) darba dienu laikā pieaicināt VAS ES ekspertus mērījumu veikšanai. VAS ES veikto mērījumu rezultāts ir Pusēm saistošs. VAS ES veiktā mērījuma izmaksas sedz Izpildītājs, ja pārraidīšanas kvalitātes pasliktināšanās radusies Izpildītāja rīcības rezultātā, vai Pasūtītājs, ja VAS ES mērījuma rezultāts liecina, ka pārraidīšanas kvalitātes pasliktināšanās nav notikusi. Šī Līguma 5.4.punktā minēto mērījumu rezultāts ir uzskatāms par pamatu Līguma Pielikumā Nr.3 "Pakalpojumu kvalitātes noteikumi" paredzēto Pakalpojumu kvalitātes kritēriju izpildes noteikšanai.
5.5.2. TV kanāla neatbilstība Līguma Pielikumā Nr.1 "Teritorijas apraksts un Apraides zonu izvietojuma plāns" norādītajam vai neatbilstība Pielikuma Nr.1 vēlāk izdarītos grozījumos pati par sevi nevar būt pamats Pasūtītāja iebildumiem par nekvalitatīvu Pakalpojumu sniegšanu.
6. TV kanālu aizstāšanas procedūra
6.1. Ievērojot Ženēvas plānu 2006, Eiropas Parlamenta un Padomes 2012.gada 14.marta lēmumu Nr. 243/2012/ES, kā arī faktu, ka daļā Latvijas kaimiņvalstu tiek turpināts zemes analogās televīzijas apraides pārtraukšanas process, Vienfrekvences tīkla zonās izmantotie TV kanāli var tikt aizvietoti ar citiem atbilstoši VAS ES izstrādātam plānam un koordinācijas procesam.
6.2. Par TV kanālu aizstāšanu Izpildītājs informē Pasūtītāju 60 (sešdesmit) kalendāra dienas iepriekš, nosūtot kanāla aizstāšanas paziņojumu.
6.3. TV kanālu aizstāšana, kas saistīta/pamatota ar ārējiem (ārpus līgumiskiem) faktoriem, Līguma kontekstā nevar būt par iemeslu strīdiem starp Pusēm, un Pasūtītājam nav tiesību to uzskatīt par nepienācīgu Līguma pildīšanu no Izpildītāja puses.
6.4. Ja TV kanāls tiek aizstāts, Izpildītājs veic jaunu attiecīgās Vienfrkevences Tīkla zonas mērījumu 2 mēnešu laikā no izmaiņu izdarīšanas brīža. Jaunais Vienfrekvences Tīkla zonas mērījuma protokols tiek pievienots Līgumam, aizstājot agrāk izdarītos atbilstošās Vienfrekvences tīkla zonas mērījumus.
7. Izmaiņas Vienfrekvences tīkla aptveršanas zonā un jauna Izplatīšanas tīkla izveide
7.1. Pēc Pakalpojumu sniegšanas uzsākšanas Pasūtītājs var prasīt palielināt noteikta Izplatīšanas tīkla aptveršanas zonu un/vai jauna Izplatīšanas tīkla izveidi, ja to pieļauj pieejamie frekvenču spektra resursi. Līguma darbības laikā Izplatīšanas tīkla aptveršanas zonu samazināšana netiek izskatīta.
7.2. Ja Pasūtītājs izsaka vēlmi palielināt noteikta Izplatīšanas tīkla aptveršanas zonu un/vai izveidot jaunu Izplatīšanas tīklu, Izpildītājs uzsāk faktiskas darbības tīkla aptveršanas zonas palielināšanai tikai pēc tam, kad starp Pusēm panākta galīga vienošanās par:
7.2.1. Izmaiņām Teritorijas aprakstā un Apraides zonu izvietojuma plānā, un Pasūtītājs tās akceptējis, parakstot atbilstošas izmaiņas Līguma pielikumā Nr.1. "Teritorijas apraksts un Apraides zonu izvietojuma plāns";
7.2.2. jaunā Pakalpojuma cenu;
7.2.3. datumu, no kura uzsākama raidīšana saistībā ar veiktajām izmaiņām;
7.2.4. citiem nosacījumiem, kurus kāda no Pusēm uzskatītu par būtiskiem.
7.3. Ievērojot Ženēvas plānu 2006, Eiropas Parlamenta un Padomes 2012.gada 14.marta lēmumu Nr. 243/2012/ES, kā arī faktu, ka daļā Latvijas kaimiņvalstu tiek turpināts zemes analogās televīzijas apraides pārtraukšanas process, Līguma darbības laikā Izplatīšanas tīkla aptveršanas zona var tikt samazināta tikai atbilstoši VAS ES izstrādātam plānam un koordinācijas procesam.
7.4. Ja Izplatīšanas tīkla aptveršanas zona tiek samazināta Līguma 7.3. punktā minēto iemeslu dēļ, Puses neatbild par zaudējumiem, kas tamdēļ radušies otrai Pusei. Tīkla aptveršanas zonas samazināšanas gadījumā jaunā pakalpojuma maksa tiek aprēķināta atbilstoši zemes raidīšanas tarifu aprēķināšanas metodikai.
7.5. Ja Izplatīšanas tīkla aptveršanas zona tiek samazināta, Izpildītājs veic jaunu attiecīgās Vienfrekvences Tīkla zonas mērījumu 2 (divu) mēnešu laikā no izmaiņu izdarīšanas brīža. Jaunais Vienfrekvences Tīkla zonas mērījuma protokols tiek pievienots Līgumam, aizstājot agrāk izdarītos atbilstošās Vienfrekvences tīkla zonas mērījumus.
8. Tehnisko līdzekļu tehniskā apkope un remonts
8.1. Tehnisko līdzekļu plānotā tehniskā apkope un remonts.
Izpildītājam ir pienākums 2 (divu) mēnešu laikā no Līguma noslēgšanas attiecībā uz 2014.gadu un līdz katra kalendārā gada 30.novembrim izstrādāt un iesniegt Pasūtītājam apstiprināšanai Tehnisko līdzekļu plānoto tehnisko apkopju un remonta plānu nākamajam kalendārajam gadam. Pasūtītājs 10 (desmit) kalendāra dienu laikā pēc Tehnisko līdzekļu plānoto tehnisko apkopju un remonta plāna nākamajam kalendārajam gadam saņemšanas no Izpildītāja, sniedz Izpildītājam saskaņojumu Tehnisko līdzekļu plānoto tehnisko apkopju un remonta plānam vai iesniedz Izpildītājam pamatotu paziņojumu par nepieciešamajā izmaiņām tajā. Gadījumā, ja šajā Līguma punktā norādītajā termiņā Pasūtītājs nav sniedzis Izpildītājam saskaņojumu Tehnisko līdzekļu plānoto tehnisko apkopju un remonta plānam nākamajam gadam vai nav iesniedzis Izpildītājam paziņojumu par nepieciešamajām izmaiņām, Izpildītāja iesniegtais Tehnisko līdzekļu plānoto tehnisko apkopju un remonta plāns nākamajam kalendārajam gadam stājas spēkā. Pusēm ir tiesības ne mazāk kā 7 (septiņas) kalendāra dienas iepriekš savstarpēji vienojoties veikt izmaiņas saskaņotajā Tehnisko līdzekļu plānoto tehnisko apkopju un remonta plānā.
8.2. Tehnisko līdzekļu ārkārtas tehniskā apkope un remonts.
8.2.1 Gadījumā, ja Tehnisko līdzekļu ārkārtas (ārpus plāna) tehniskās apkopes vai remonta ietvaros ir paredzēti Tehniskie pārtraukumi un / vai Tehniskie brāķi, Tehnisko līdzekļu ārkārtas tehniskā apkope/remonts Izpildītājam vismaz 7 (septiņas) darba dienas iepriekš jāsaskaņo ar Līguma 16.1.1. punktā norādīto Pasūtītāja pārstāvi, kurš 2 (divu) darba dienu laikā sniedz saskaņojumu iepriekšminēto darbu veikšanai. Iebildumu gadījumā, Pušu pārstāvji tehniskos jautājumos 2 (divu) darba dienu laikā saskaņo tuvāko iespējamo Tehnisko līdzekļu ārkārtas tehniskās apkopes/remonta veikšanas laiku; attiecībā uz šādiem Tehniskajiem pārtraukumiem un / vai Tehniskajiem brāķiem, Līguma Pielikumā Nr.3 “Pakalpojumu kvalitātes noteikumi" paredzētās sankcijas netiek piemērotas.
8.2.2 Neatliekamos gadījumos (tai skaitā, lai novērstu esošas vai iespējamas avārijas) Izpildītājam ir tiesības veikt Tehnisko līdzekļu ārkārtas tehnisko apkopi un/vai Tehnisko līdzekļu ārkārtas remontu, par to nekavējoties paziņojot Līguma 16.1.punktā norādītajai Pasūtītāja kontaktpersonai.
8.3. Ziņojumi par bojājumiem.
Pasūtītājs ziņo Izpildītājam par iespējamajiem bojājumiem tikai pēc tam, kad ir pārliecinājies, ka bojājums ir tieši Tehniskajos līdzekļos, nosūtot problēmziņojuma pieteikumu Izpildītājam un Izpildītāja pienākums ir nekavējoties, bet ne vēlāk kā 30 (trīsdesmit) minūšu laikā sniegt atbildi par bojājuma faktu, un bojājuma fakta apstiprinājuma gadījumā nekavējoties pēc bojājuma novēršanas informēt par bojājuma novēršanas faktu Līguma 16.1.1. punktā norādīto Pasūtītāja pārstāvi.
9. Pakalpojumu apmaksa un norēķinu kārtība
9.1. Par Pakalpojumu sniegšanu saskaņā ar Līguma noteikumiem un visu Līgumā paredzēto Izpildītāja saistību kvalitatīvu un savlaicīgu izpildi Pasūtītājs apņemas Līgumā noteiktajā apmērā, termiņā un kārtībā samaksāt Izpildītājam:
9.1.1. maksu par maksas televīzijas programmu izplatīšanu ciparformatā atbilstoši Līguma Pielikumā Nr.5 "Pakalpojumu cenas" norādītajām cenām;
9.1.2. maksu par iekārtām patērēto elektroenerģiju, atbilstoši skaitītāju rādījumiem un Izpildītājam piemērojamajiem elektroenerģijas piegādātāja tarifiem. Pasūtītājam tiek nodrošināta piekļuve attiecīgajiem elektroenerģijas patēriņa skaitītājiem;
9.1.3. maksu par radiofrekvenču piešķīruma lietošanas atļaujām un iekārtu elektromagnētiskās saderības nodrošināšanas pakalpojumiem saskaņā ar Latvijas Republikas Ministru kabineta noteikto cenrādi, atbilstoši VAS ES izrakstītajiem rēķiniem par sniegtajiem publiskajiem maksas pakalpojumiem;
9.1.4. papildus minētajiem maksājumiem, Pasūtītājs maksā pievienotās vērtības nodokli Latvijas Republikas normatīvajos aktos noteiktajā apmērā, ja konkrētais pakalpojums tiek aplikts ar pievienotās vērtības nodokli.
9.2. Samaksu par Izpildītāja sniegtajiem pakalpojumiem maksas televīzijas programmu izplatīšanai ciparformātā attiecīgajā mēnesī Pasūtītājs veic, pamatojoties uz atbilstoši Līguma Pielikumā Nr.6 "Kvalitatīvo pakalpojumu sniegšanas protokola paraugs" sastādītiem ikmēneša protokoliem par Pakalpojumu sniegšanu (Protokols).
9.3. Kvalitatīvo pakalpojumu sniegšanas protokolu saskaņošanas kārtība:
9.3.1. Izpildītājs sagatavo Kvalitatīvo pakalpojumu sniegšanas protokolu līdz katra nākamā mēneša 10. (desmitajam) datumam, paraksta to ar drošu elektronisko parakstu un nosūta Pasūtītāja akceptam uz e-pasta adresi ________________________________________;
9.3.2. ja Pasūtītājs piekrīt Kvalitatīvo pakalpojumu sniegšanas protokolā norādītajai informācijai, Pasūtītājs paraksta saņemto Protokolu ar drošu elektronisko parakstu un 5 (piecu) darba dienu laikā nosūta atpakaļ Izpildītājam uz e-pasta adresi ________________________________________ rēķina sagatavošanai;
9.3.3. Izpildītājs pēc Līguma 9.2.punktā minētā ikmēneša Protokola abpusējas parakstīšanas 5 (piecu) darba dienu laikā izraksta un iesniedz Pasūtītājam rēķinu par Pakalpojumu sniegšanu attiecīgajā mēnesī;
9.3.4. ja Pasūtītājam ir pamatoti iebildumi par kādu Kvalitatīvo pakalpojumu sniegšanas protokolā norādīto pozīciju, Pasūtītājs savus pamatotos iebildumus rakstiskā veidā nosūta Izpildītājam uz e-pasta adresi ________________________________________ 5 (piecu) darba dienu laikā no Protokola nosūtīšanas dienas;
9.3.5. ja Izpildītājs Pasūtītāja iebildumus atzīst par pamatotiem, viņš atbilstoši labo Protokolu un 5 (piecu) darba dienu laikā atkārtoti to nosūta Pasūtītāja akceptam Līguma 9.3.1.punktā norādītajā kārtībā;
9.3.6. ja Izpildītājs Pasūtītāja iebildumus atzīst par nepamatotiem vai Izpildītājs noteiktajā termiņā nav saņēmis parakstītu Protokolu vai iebildumus, Izpildītājs izraksta rēķinu pilnā Kvalitatīvo pakalpojumu sniegšanas protokolā ietvertajā apmērā, un Pasūtītājam ir pienākums apmaksāt atbilstoši izrakstīto rēķinu.
9.4. Pasūtītājs apmaksā Izpildītāja izrakstīto rēķinu par maksas televīzijas programmu izplatīšanu ciparformātā 30 (trīsdesmit) kalendāra dienu laikā no rēķina nosūtīšanas dienas, pārskaitot rēķinā norādīto summu uz rēķinā norādīto Izpildītāja norēķinu kontu kredītiestādē.
9.5. Maksu par iekārtām patērēto elektroenerģiju saskaņā ar Līguma 9.1.2.punktu, Pasūtītājs maksā 14 (četrpadsmit) kalendāra dienu laikā no rēķina nosūtīšanas dienas, pārskaitot rēķinā norādīto summu uz rēķinā norādīto Izpildītāja norēķinu kontu kredītiestādē.
9.6. Maksu par radiofrekvenču piešķīruma lietošanas atļaujām un iekārtu elektromagnētiskās saderības nodrošināšanas pakalpojumiem saskaņā ar Līguma 9.1.3.punktu Pasūtītājs maksā 14 (četrpadsmit) kalendāra dienu laikā no rēķina nosūtīšanas dienas, pārskaitot rēķinā norādīto summu uz rēķinā norādīto Izpildītāja norēķinu kontu kredītiestādē.
9.7. Izpildītājs rēķinus sagatavo elektroniskā veidā un paraksta ar drošu elektronisko parakstu, kas satur laika zīmogu. Izpildītājs apliecina, ka elektroniskais rēķins tiks sagatavots un iesniegts atbilstoši normatīvajiem aktiem par elektronisko dokumentu sagatavošanu.
9.8. Visus Līgumā paredzētos rēķinus Līgumā noteiktajos termiņos Puse sagatavo elektroniskā veidā pdf formātā. Izpildītājs elektroniski sagatavotos rēķinus nosūta elektroniskā veidā no Izpildītāja elektroniskā pasta adreses ________________________________________ uz Pasūtītāja elektroniskā pasta adresi ________________________________________. Pasūtītājs elektroniski sagatavotos rēķinus nosūta elektroniskā veidā no Pasūtītāja elektroniskā pasta adreses ________________________________________ uz Izpildītāja elektroniskā pasta adresi ________________________________________.
9.9. Pasūtītājs apmaksā Pakalpojumu sniegšanu arī Tehnisko pārtraukumu un Tehnisko brāķu gadījumā, kas radušies Pasūtītāja vainas dēļ, tai skaitā mērījumu laiku, kas veikti pēc Pasūtītāja pieprasījuma.
9.10. Sekojošos gadījumos, atbilstoši Līguma Pielikumam Nr.3 "Pakalpojumu kvalitātes noteikumi", Pasūtītājs neveic apmaksu par Pakalpojumiem un Izpildītājam tiek piemērotas Līguma Pielikumā Nr.3 "Pakalpojumu kvalitātes noteikumi" paredzētās sankcijas:
9.10.1. Tehniskos pārtraukumus un / vai Tehnisko brāķi, kas radušies Izpildītāja Tehnisko līdzekļu vai darbinieku vainas dēļ;
9.10.2. Tehniskos pārtraukumus, kas radušies Tehnisko līdzekļu Avārijas izslēgšanas vai Ārkārtas tehniskās apkopes gadījumos, kas nav tikuši saskaņoti ar Pasūtītāju.
9.11. Gadījumā, ja iestājas Tehniskie pārtraukumi Izpildītāja sniegtajos Pakalpojumos elektroenerģijas padeves pārtraukuma dēļ, Izpildītājs aprēķina maksu par Pakalpojumiem attiecīgajā mēnesī konkrētajā raidošajā stacijā (saskaņā ar Līguma Pielikumu Nr.5 "Pakalpojumu cenas"), to samazinot proporcionāli Tehniskā pārtraukuma faktiskajam laikam minūtēs.
9.12. Visus izdevumus, kas saistīti ar bankas pārskaitījumu apmaksu, sedz tā Puse, kura veic maksājumu.
9.13. Par maksājuma izdarīšanas datumu tiek uzskatīts bankas atzīmes datums maksātāja iesniegtajā maksājuma uzdevumā.
9.14. Izpildītājam ir tiesības vienpusēji saskaņā ar Ministru kabinetā apstiprināto tarifu aprēķināšanas metodiku pārskatīt maksu par maksas televīzijas programmu zemes izplatīšanu ciparformatā, pie nosacījuma, ka maksa tiek pārskatīta ne ātrāk kā 24 (divdesmit četrus) mēnešus pēc Līguma noslēgšanas un attiecīgās maksas izmaiņas tiek veiktas ne biežāk kā vienu reizi 2 (divu) gadu laikā pēc iepriekšējā tarifa izmaiņām, ja šajā 2 (divu) gadu periodā patēriņa cenu pārmaiņas (inflācijas indekss) kopā ir bijušas lielākas kā 6%. Šajā Līguma punktā noteiktais maksas palielinājums nepārsniedz 6% apmēru no iepriekšējā perioda maksas par maksas televīzijas programmu zemes izplatīšanu ciparformatā.
9.15. Līguma izbeigšana neatbrīvo Puses no parāda un līgumsoda apmaksas pilnā apjomā.
9.16. Attiecībā uz šajā Līgumā paredzētajiem maksājumiem, kurus atbilstoši Līguma noteikumiem Izpildītājs veic par labu Pasūtītājam (tai skaitā, bet ne tikai, Līgumā paredzēto līgumsodu), Izpildītājs apmaksā Pasūtītāja izrakstīto rēķinu 30 (trīsdesmit) kalendāra dienu laikā no rēķina nosūtīšanas dienas, pārskaitot rēķinā norādīto summu uz rēķinā norādīto Pasūtītāja norēķinu kontu kredītiestādē.
9.17. Pēc Latvijas Republikas pievienošanās eirozonai, Līgumā noteiktie maksājumi aprēķināmi un maksājami saskaņā ar normatīvajos aktos noteikto par eiro ieviešanu Latvijas Republikā.
10. Pušu atbildība un sankcijas
10.1. Pasūtītāja atbildības apjoms.
10.1.1. Pasūtītājs atbild vienīgi par tiešajiem zaudējumiem, ko tas nodarījis Izpildītājam ar no Līguma izrietošo pienākumu neizpildi vispār vai nepienācīgu izpildi, ar noteikumu, ka Pasūtītāja atbildība par attiecīgā mēneša ietvaros no Līguma izrietošo pienākumu neizpildes vispār vai nepienācīgas izpildes rezultātā Izpildītājam nodarīto atlīdzināmo zaudējumu apjoms nepārsniedz 10% (desmit procenti) no maksas par televīzijas programmu izplatīšanu ciparformātā pakalpojumu sniegšanu attiecīgajā mēnesī, saskaņā ar Līguma noteikumiem.
10.1.2. Pasūtītājs neatbild par Izpildītāja netiešajiem zaudējumiem, kā arī par negūto peļņu.
10.1.3. Pasūtītājs neatbild par no Līguma izrietošo saistību daļēju vai pilnīgu neizpildi, ja iestājas Līguma 11.punktā noteiktie nepārvaramas varas apstākļi.
10.2. Izpildītāja atbildības apjoms.
10.2.1. Izpildītājs atbild vienīgi par tiešajiem zaudējumiem, ko tas nodarījis Pasūtītājam ar no Līguma izrietošo pienākumu neizpildi vispār vai nepienācīgu izpildi ar noteikumu, ka Izpildītāja atbildība par attiecīgā mēneša ietvaros no Līguma izrietošo pienākumu neizpildes vispār vai nepienācīgas izpildes rezultātā Pasūtītājam nodarīto atlīdzināmo zaudējumu apjoms nepārsniedz 10% (desmit procenti) no maksas par televīzijas programmu izplatīšanas ciparformātā pakalpojumu sniegšanu attiecīgajā mēnesī, saskaņā ar Līguma noteikumiem.
10.2.2. Gadījumā, ja Pasūtītājam tiek nodarīti zaudējumi Tehniskā brāķa un / vai Tehniskā pārtraukuma dēļ saskaņā ar Līguma 8.1. un 8.2.1. punktu ar Izpildītāju saskaņotas Tehnisko līdzekļu apkopes ietvaros, Izpildītājs neatbild Pasūtītājam par šādiem zaudējumiem.
10.2.3. Izpildītājs neatbild par jebkādiem Galiekārtu bojājumiem un/vai darbības traucējumiem.
10.2.4. Izpildītājs neatbild par Pasūtītāja netiešiem zaudējumiem, kā arī par negūto peļņu.
10.2.5. Izpildītājs neatbild par no Līguma izrietošo saistību daļēju vai pilnīgu neizpildi, ja iestājas Līguma 11. sadaļā noteiktie nepārvaramas varas apstākļi.
10.3. Līgumsods par samaksas termiņu kavējumiem.
Par no Līguma izrietošo maksājumu nokavējumiem, Pusei ir pienākums maksāt otrai Pusei līgumsodu 0,1% (viena desmitdaļa procenta) no laikā nesamaksātās summas par katru nokavēto dienu, veicot līgumsoda samaksu 3 (trīs) darba dienu laikā pēc attiecīga otras Puses rēķina saņemšanas dienas. Puses vienojas, ka līgumsoda, kas izriet no Līguma, samaksa, neatbrīvo Puses no Līgumā noteikto saistību izpildes. Pusēm ir tiesības aprēķināto līgumsodu kā pirmās kārtas maksājumu ieturēt no otras Puses veiktajiem maksājumiem.
10.4. Līgumsods par neatļautu Signāla piegādes kavēšanu un pārtraukumu.
10.4.1. Ja brīdī, kad saskaņā ar Rīkojumā noteikto Pasūtītājam jāuzsāk maksas televīzijas pakalpojumu sniegšana, Pakalpojumu sniegšanas uzsākšana nav iespējama tamdēļ, ka Pasūtītājs nav nodrošinājis Signāla piegādi Pieslēguma punktā (Neatļauta Signāla piegādes kavēšana), Pasūtītājs maksā Izpildītājam līgumsodu par Neatļautu Signāla piegādes kavēšanu, kas aprēķināms, Līguma Pielikumā Nr.5 norādītās Pakalpojumu cenas reizinot ar faktisko nokavējuma laiku.
10.4.2. Ja Līguma darbības laikā Pakalpojumu sniegšana nav iespējama tamdēļ, ka Pasūtītājs nav nodrošinājis Signāla piegādi Pieslēguma punktā (Neatļauts Signāla piegādes pārtraukums), Pasūtītājs maksā Izpildītājam līgumsodu par Neatļautu Signāla piegādes pārtraukumu, kas aprēķināms, Līguma Pielikumā Nr.5 norādītās Pakalpojumu cenas reizinot ar faktisko Signāla piegādes pārtraukuma laiku.
Pierādījums Signāla piegādes pārtraukumam ir Izpildītāja sagatavota atbilstoša satura izdruka no monitorēšanas sistēmas. Pierādījums Signāla piegādes atjaunošanai ir abpusēji parakstīts akts par Signāla piegādi – saņemšanu Pieslēguma punktā.
10.5. Līguma izpildes nodrošinājums
10.5.1. Pasūtītājs pirms šī Līguma noslēgšanas Izpildītājam ir iesniedzis Latvijas Republikā, Eiropas Savienībā vai Eiropas Ekonomikas zonā reģistrētas bankas vai apdrošināšanas sabiedrības izsniegtu Līguma izpildes nodrošinājumu (bankas garantija, apdrošināšana polise) LVL 3 072 738 (trīs miljoni septiņdesmit divi tūkstoši septiņi simti trīsdesmit astoņi lati) apmērā.
10.5.2. Līguma izpildes nodrošinājumam paredzētajā apjomā (Līguma 10.5.1.punkts) ir jābūt spēkā visā Līguma darbības laikā līdz 2021.gada 31.decembrim, t.i., līdz brīdim, kad Pasūtītājs būs pilnā apmērā un pienācīgi izpildījis Līguma saistības, ko apliecina Izpildītāja paziņojums Līguma izpildes nodrošinājuma izsniedzējam. Līguma izpildes nodrošinājums var tikt nodrošināts pa daļām, ievērojot Līguma izpildes nodrošinājuma nepārtrauktību visā Līguma darbības laikā. Pasūtītājam ir pienākums attiecīgi pagarināt Līguma izpildes nodrošinājuma termiņu un 10 (desmit) darba dienas pirms nodrošinājumā norādītā termiņa beigām jauno (pagarināto) Līguma izpildes nodrošinājumu iesniegt Izpildītājam. Jaunā (pagarinātā) Līguma izpildes nodrošinājuma neiesniegšana norādītāja termiņā ir pamats Izpildītājam saņemt Līguma izpildes nodrošinājuma summu pilnā apmērā. Līguma izpildes nodrošinājums un visi tā pielikumi, t.sk. grozījumi par termiņu pagarinājumu, ir Līguma neatņemamas sastāvdaļas un tās pielikumi.
10.5.3. Līguma nodrošinājuma izsniedzējs galvo Pasūtītājam savlaicīgu un pienācīgu Līguma saistību izpildi un šo saistību neizpildes gadījumā uzņemas saistības attiecībā pret Pasūtītāju par Līgumā 10.5.1. punktā norādīto summu.
11. Nepārvarama vara
11.1. Nepārvaramas varas apstākļi.
Puses ir atbrīvotas no atbildības par no Līguma izrietošo saistību daļēju vai pilnīgu neizpildi, ja šo saistību izpilde kļuvusi neiespējama nepārvaramu un no Pusēm neatkarīgu apstākļu iestāšanās rezultātā, kurus Puses nevarēja saprātīgi paredzēt pie Līguma noslēgšanas un no kuriem vai to radītām sekām Puses nevarēja izvairīties ar saprātīgiem līdzekļiem, tai skaitā, bet ne tikai, ugunsgrēks, plūdi, vējš, vētra, zemestrīce, vandālisma akti, nemieri, kara darbība vai citi nepārvaramas varas apstākļi, ja šādi apstākļi tiešā veidā ietekmējuši no Līguma izrietošo saistību izpildi.
11.2. Paziņošana par nepārvaramas varas apstākļiem.
Puse, kas nokļuvusi nepārvaramas varas apstākļos, bez kavēšanās rakstiski informē par to otru Pusi pēc iespējas īsākā laikā pēc nepārvaramas varas apstākļu iestāšanās. Puses apņemas vienoties par to, vai šādi nepārvaramas varas apstākļi traucē vai padara Līguma saistību izpildi par neiespējamu, kā arī izlemt Līguma saistību turpināšanas būtiskos jautājumus.
11.3. Līguma izbeigšana nepārvaramas varas apstākļu dēļ.
Katrai Pusei ir tiesības vienpusēji izbeigt Līgumu un atkāpties no Līguma saistību turpmākas izpildes, ja nepārvaramas varas apstākļu dēļ otra Puse nespēj izpildīt un nepilda Līgumā noteiktās saistības ilgāk par 3 (trīs) kalendāra mēnešiem, par to paziņojot otrai Pusei ne vēlāk kā 30 (trīsdesmit) kalendāra dienas pirms Līguma izbeigšanas.
11.4. Maksājumu parādi.
Puses vienojas, ka nepārvaramas varas apstākļu esamība nav uzskatāma par tiesisku iemeslu uz Līguma pamata radušos no nepārvaramas varas apstākļiem neatkarīgu jebkādu Pušu maksājumu parādu nesegšanai.
12. Līguma spēkā esamības termiņš
12.1. Līgums stājas spēkā tā abpusējas parakstīšanas dienā un ir spēkā līdz pilnīgai saistību izpildei.
12.2. Pakalpojuma sniegšanas termiņš: no 2014.gada 1.janvāra, pie nosacījuma, ka Pasūtītājs ir izpildījis Līguma 3.2.punktā noteikto, līdz 2021.gada 31.decembrim.
13. Līguma vienpusēja izbeigšana
13.1. Pasūtītājam ir tiesības vienpusēji izbeigt Līgumu pirms tā termiņa beigām, ja Izpildītājs zaudē tam piešķirtās radiofrekvenču spektra lietošanas tiesības.
13.2. Izpildītājam ir tiesības vienpusēji izbeigt Līgumu pirms tā termiņa beigām, ja:
13.2.1. 30 (trīsdesmit) darba dienu laikā pēc rakstiska brīdinājuma saņemšanas, Pasūtītājs Līgumā noteiktajā kārtībā un apjomā, nav veicis samaksu Izpildītājam par Līgumā noteiktajā kārtībā un atbilstošā kvalitātē sniegtajiem Pakalpojumiem;
13.2.2. Pasūtītājs viena mēneša laikā pēc Konkursa rezultātu apstiprināšanas Ministru kabinetā nav saņēmis retranslācijas vai retranslācijas un apraides atļauju maksas televīzijas pakalpojuma sniegšanai;
13.2.3. Pasūtītājam ir anulētas maksas televīzijas pakalpojuma sniegšanas tiesības.
13.3. Ja Pasūtītājs vienpusēji atkāpjas no Līguma šajā Līgumā neminētos gadījumos (neatļauta atkāpšanās no Līguma), Pasūtītājam ir pienākums samaksāt Izpildītājam līgumsodu Līguma 9.1.punktā noteiktās pakalpojumu maksas 2 (divu) kalendāro gadu apmērā. Līgumsods par neatļautu atkāpšanos no Līguma aprēķināms atbilstoši Līguma Pielikumā Nr.5 norādītajām pakalpojumu cenām. Gadījumā, ja Līgums tiek izbeigts saskaņā ar šo Līguma punktu, nav piemērojams Līguma 10.1.1.punktā noteiktais zaudējumu aprobežojums.
14. Līgumam piemērojamais likums un strīdu risināšanas kārtība
14.1. Līgumam piemērojamais likums.
Šis Līgums ir izstrādāts atbilstoši un pakļaujas Latvijas Republikā spēkā esošajiem tiesību aktiem.
14.2. Strīdu risināšanas kārtība.
Visi strīdi, kuri varētu rasties sakarā ar Līguma izpildīšanu vai neizpildīšanu, jebkādā savādākā veidā būtu saistīti vai izrietētu no tā, ir risināmi Pušu sarunu ceļā. Ja šādās sarunās vienošanos panākt neizdodas, tad strīdi risināmi attiecīgās piekritības Latvijas Republikas tiesu iestādēs.
15. Konfidencialitāte
15.1. Ciktāl tas nav pretrunā ar Informācijas atklātības likumu un citiem normatīvajiem aktiem, kuri regulē Līguma Pušu un Pušu dalībnieku darbību, Puses apņemas ievērot konfidencialitāti attiecībā uz jebkādu informāciju, kas šī Līguma ietvaros ir sniegta pārējām Pusēm, tai skaitā, bet ne tikai, informāciju par šī Līguma noteikumiem un saturu, Līgumā iekļauto finansiālo informāciju, Pušu savstarpējām tiesībām un pienākumiem, kā arī jebkādu citu informāciju, ko Puses ir rakstiski vai mutiski paziņojušas vai nodevušas otrai Puses sakarā ar Līguma izpildi, un kas ir apzīmēta kā konfidenciāla.
15.2. Informācija nav Konfidenciālā informācija, ja a) tā ir vai kļūst publiski zināma un tas nav tiešs vai netiešs rezultāts informācijas izpaušanai, pārkāpjot Līgumu; vai b) Puses rakstiski vienojas, ka tā nav konfidenciāla.
15.3. Katra Puse vienmēr pieliek visas iespējamās pūles, lai turētu slepenībā un nodrošinātu, lai tās darbinieki, aģenti un citas saistītās personas turētu slepenībā jebkuru Konfidenciālo informāciju, kā arī neizmantotu un neizpaustu jebkuru Konfidenciālo informāciju.
15.4. Katra Puse informē jebkuru amatpersonu, darbinieku vai aģentu, vai jebkuru profesionālu konsultantu, kam tā sniedz Konfidenciālo informāciju, par to, ka šāda informācija ir konfidenciāla, un pieprasa tiem: a) turēt to slepenībā; un b) neizpaust to nevienai trešajai personai (izņemot tās personas, kurām tā jau ir izpausta saskaņā ar šī Līguma noteikumiem).
15.5. Līguma 15.nodaļā paredzētās Konfidencialitātes saistības ir spēkā 3 (trīs) gadus pēc Līguma darbības termiņa beigām neatkarīgi no šī Līguma izbeigšanas iemesliem.
15.6. Šim Līgumam izbeidzoties, katra Puse 3 (trīs) mēnešu laikā no Līguma izbeigšanas dienas var pieprasīt otrai Pusei nodot tai atpakaļ jebkurus dokumentus, kas ietver konfidenciālo informāciju saistībā ar pirmo Pusi, ar rakstisku paziņojumu. Šī pieprasījuma neizpilde vai nepilnīga izpilde ir uzskatāma par konfidencialitātes noteikuma pārkāpumu, ja vien attiecīgajai Pusei saskaņā ar saistošiem normatīviem aktiem vai fondu biržas noteikumiem nav saistošs pienākums saglabāt attiecīgo informāciju vai dokumentus.
15.7. Konfidenciālas informācijas izpaušana normatīvajos aktos noteiktajā kārtībā, gadījumos un apjomā nav uzskatāma par šajā Līguma 15.nodaļā paredzēto saistību pārkāpumu.
16. Pušu pārstāvji, paziņojumi un cita veida saziņa
16.1. Pasūtītāja pārstāvji.
Attiecībā uz šī Līguma izpildi Pasūtītājs par tā pilnvarotajiem pārstāvjiem nozīmē:
16.1.1. ___________________________________ (attiecībā uz tehniskajiem jautājumiem),
16.1.2. ___________________________________ (attiecībā uz pārējiem jautājumiem),
kā arī citas Izpildītājam pienācīgā kārtā paziņotas personas, ko Pasūtītājs pilnvarojis rīkoties Pasūtītāja vārdā Līguma izpildes sakarā. Pasūtītājs ir tiesīgs atsaukt pilnvarojumu jebkurai personai, kas iepriekš apstiprināta par Pasūtītāja pilnvaroto pārstāvi, par to rakstveidā paziņojot Izpildītājam.
16.2. Izpildītāja pārstāvji.
Attiecībā uz šī Līguma izpildi Izpildītājs par tā pilnvarotajiem pārstāvjiem nozīmē
16.2.1. ___________________________________ (attiecībā uz tehniskajiem jautājumiem),
16.2.2. ___________________________________ (attiecībā uz pārējiem jautājumiem),
16.2.3. ___________________________________ (attiecībā uz operatīvajiem jautājumiem).
kā arī citas Izpildītājam pienācīgā kārtā paziņotas personas, ko Pasūtītājs pilnvarojis rīkoties Pasūtītāja vārdā Līguma izpildes sakarā. Izpildītājs ir tiesīgs atsaukt pilnvarojumu jebkurai personai, kas iepriekš apstiprināta par Izpildītāja pilnvaroto pārstāvi, par to rakstveidā paziņojot Pasūtītājam.
16.3. Paziņojumi.
Jebkuram paziņojumam vai saziņai, kas jāsniedz saskaņā ar Līgumu, ir jābūt rakstiskā veidā latviešu valodā un to var nosūtīt elektroniskā veidā, parakstot ar drošu elektronisko parakstu, nodot personīgi vai arī ar kurjeru piegādes dienestu, izņemot, ja Līgumā noteikts savādāk, šādā veidā:
16.3.1. ja Pasūtītājam, tad uz viņa adresi:
Kam: ___________________________________
16.3.2. ja Izpildītājam, tad uz viņa adresi:
Kam: ___________________________________
vai uz tādu citu adresi, kādu attiecīgā Puse šādām vajadzībām ir paziņojusi otrai Pusei saskaņā ar šo Līguma 16.3. un 16.5.punktu noteikumiem.
16.4. Paziņojumu saņemšana.
Jebkurš paziņojums vai cita saziņa tiek uzskatīta par saņemtu:
16.4.1. Nosūtot ar drošu elektronisko parakstu – 24 stundu laikā no nosūtīšanas brīža;
16.4.2. nosūtot ar kurjeru piegādes dienestu - septiņas dienas pēc nosūtīšanas (pasta zīmogs) vai
16.4.3. nogādājot personīgi - piegādes brīdī.
16.5. Pušu rekvizītu maiņa.
Katrai Pusei ir pienākums nekavējoties paziņot otrai Pusei par jebkurām izmaiņām Līguma norādītajos attiecīgās Puses rekvizītos.
16.6. Cita veida saziņa.
Lai starp Pusēm nodrošinātu operatīvu saziņu, Līguma 16.3.-16.5.punktu noteikumi neizslēdz iespēju informācijas apmaiņu veikt ar citu, abām Pusēm pieejamu saziņas līdzekļu starpniecību, piemēram, mobilo tālruni un e-pastu.
17. Nobeiguma noteikumi
17.1. Tiesības slēgt Līgumu.
Puses apliecina, ka tās ir tiesīgas slēgt Līgumu, uzņemties visas ar to noteiktās saistības un tās būs spējīgas izpildīt Līguma noteikumus.
17.2. Cesijas Ierobežojumi.
Puses vienojas, ka neviena no Pusēm nav tiesīga nodot savas tiesības, kas izriet no Līguma, trešajām personām bez otras Puses iepriekšējas rakstiskas piekrišanas, tai skaitā, neviena no Pusēm nav tiesīga cedēt savus prasījumus, kas izriet no Līguma, jebkurai trešajai personai bez otras Puses iepriekšējas rakstiskas piekrišanas.
17.3. Līgums kopumā.
Šis Līgums, ieskaitot tā pielikumus, ir pilnīgs, atspoguļo visu vienošanos starp Pusēm attiecībā uz tā priekšmetu un aizstāj visas iepriekšējās Pušu rakstiskās vai mutiskās vienošanās, apņemšanās un dokumentus attiecībā uz Līguma priekšmetu.
Tāda pienākuma neminēšana Līgumā, kas par Puses pienākumu noteikts ar nacionālo vai starptautisko tiesību aktu, neatbrīvo attiecīgo Pusi no šī pienākuma izpildes.
17.4. Līguma grozīšana un papildināšana.
Līgumu var grozīt un/vai papildināt, Pusēm par to savstarpēji rakstveidā vienojoties un Pušu atbilstoši pilnvarotiem pārstāvjiem parakstot Līguma grozījumu dokumentu. Jebkuri grozījumi un papildinājumi tiek pievienoti Līgumam kā tā pielikumi, kas ir tā neatņemamas sastāvdaļas.
17.5. Tiesību pārņēmēji.
Līgums ir saistošs arī Pušu tiesību un pienākumu pārņēmējiem.
17.6. Līguma valoda un eksemplāri.
Līgums sastādīts latviešu valodā un parakstīts 2 (divos) eksemplāros, kas visi tiek uzskatīti par oriģināliem. Izpildītājs saņem 1 (vienu) šī Līguma eksemplāru un Pasūtītājs saņem 1 (vienu) šī Līguma eksemplāru.
18. Līguma pielikumi
Līgumam ir pievienoti šādi pielikumi, kas ir tā neatņemamas sastāvdaļas:
Pielikums Nr.1 – Teritorijas apraksts un Apraides zonu izvietojuma plāns (saskaņā ar Konkursa Nolikuma 1a pielikumu);
Pielikums Nr.2 – Signāla kvalitāte un monitorings;
Pielikums Nr.3 – Pakalpojumu kvalitātes noteikumi;
Pielikums Nr.4 – Tīklu aptveršanas zonu mērījumu veikšanas kārtība;
Pielikums Nr.5 – Pakalpojumu cenas;
Pielikums Nr.6 – Kvalitatīvo pakalpojumu sniegšanas protokola paraugs.
19. Pušu pārstāvju paraksti
| Pasūtītājs: | Izpildītājs: VAS "Latvijas Valsts radio un televīzijas centrs"
|
|
Satiksmes ministrs A.Matīss
Satiksmes ministrijas iesniegtajā redakcijā
7.pielikums
Ministru kabineta
2013.gada 10.aprīļa
rīkojumam Nr.144
5.pielikums
konkursa "Maksas televīzijas pakalpojuma
nodrošināšana zemes apraidē" nolikumam
visizdevīgākā piedāvājuma noteikšanas kārtība un kritēriji
Komisija, izvērtējot konkursam "Maksas televīzijas pakalpojuma nodrošināšana zemes apraidē " (turpmāk – Konkurss) pretendentu iesniegtos piedāvājumus, nosaka visizdevīgāko piedāvājumu, un pretendentu, kurš atzīstams par Konkursa uzvarētāju.
1. Piedāvājuma vērtējums tiek veikts saskaņā ar šā pielikuma tabulu "Vērtēšanas kritēriji un vērtēšanas metodika". Maksimālais iegūstamo punktu skaits ir 100. Par visizdevīgāko piedāvājumu Komisija atzīs piedāvājumu, kurš iegūs visaugstāko galīgo vērtējumu (punktu skaitu).
2. Vērtēšanā tiek izmantota pretendenta Piedāvājumā ietvertā informācija, kuru Komisijas locekļi vērtē individuāli. Pretendenta piedāvājuma punktu skaits tiek noteikts kā vidējais aritmētiskais no visiem Komisijas locekļu vērtējumos norādītajiem piedāvājuma kvalitātes vērtēšanas punktiem. Punktus aprēķina līdz punkta simtdaļai. Noapaļojot ņem vērā nākamo zīmi aiz pēdējās atstājamās zīmes aiz komata. Ja nākamā zīme ir no 0 līdz 4, tad pēdējās atstājamās zīmes vērtība nemainās. Ja nākamā zīme aiz komata ir no 5 līdz 9, tad pēdējā atstājamā zīme tiek noapaļota par vienu vienību uz augšu. Komisijas locekļi, individuāli vērtējot piedāvājumus, rakstiski pamato savu lēmumu.
3. Vērtējot piedāvājuma kvalitāti un veicot funkcionālo novērtējumu, tiks vērtēta piedāvājuma atbilstība normatīvajos aktos un nolikumā un tā pielikumos noteiktajām prasībām.
4. Piedāvājuma novērtēšana katrā vērtēšanas kritērijā tiek veikta atbilstoši šī pielikuma tabulā aprakstītajai pieejai, ņemot vērā tabulā norādītos vērtēšanas kritērijus.
Vērtēšanas kritēriji un vērtēšanas metodika
|
Vērtēšanas kritēriji |
Kritērija vērtēšanas pieeja (metodika) |
Maksimālais punktu skaits |
|||||||||||||||||||
| 1. Maksas TV papildpakalpojumi un papildu iespējas visā pakalpojuma sniegšanas laikā |
Tiek vērtēts papildu iespēju un papildpakalpojumu piedāvājums: 1.1. par elektroniskā programmu gida (EPG) nodrošināšanu Pretendents saņem 7 punktus; 1.2. par valodu izvēles nodrošināšanu: – vismaz 80% no piedāvātajām TV programmām, kurām TV kanāla īpašnieki nodrošina valodu izvēli, Pretendents saņem 3 punktus; – vismaz 60% no piedāvātajām TV programmām, kurām TV kanāla īpašnieki nodrošina valodu izvēli, Pretendents saņem 2 punktus, – vismaz 40% no piedāvātajām TV programmām, kurām TV kanāla īpašnieki nodrošina valodu izvēli, Pretendents saņem 1 punktu. 1.3. par subtitru izvēles nodrošināšanu: – vismaz 80% no piedāvātajām TV programmām pretendents saņem 3 punktus, – vismaz 60% no piedāvātajām TV programmām pretendents saņem 2 punktus, – vismaz 40% no piedāvātajām TV programmām pretendents saņem 1 punktu. 1.4. par subtitru valsts valodā izvēles nodrošināšanu 7 un vairāk TV programmām Pretendents saņem 2 punktus. 1.5. citi papildpakalpojumi vai papildu iespējas, kas vērsti uz maksas televīzijas pakalpojuma lietošanas ērtumu un pakalpojuma funkcionalitāti (izņemot 1.1.–1.3. punktā norādītās): 1 papildpakalpojums vai papildu iespēja 1punkts; 2 papildpakalpojumi vai papildu iespējas 2 punkti; 3 papildpakalpojumi vai papildu iespējas 3 punkti; 4 un vairāk papildpakalpojumi vai papildu iespējas 4 punkti. |
19 |
|||||||||||||||||||
| 2. Maksas TV programmu komplektēšanas (pakošanas) stratēģija |
Tiek vērtēts maksas TV programmu paku skaits, cenu gradācija, papildu pakas. Tiek vērtēta pamata pakas cena* un kanālu skaits tajā atbilstoši šādai matricai:
Tiek piešķirti punkti par papildu paku** skaitu: 2 pakas 1punkts; 3 pakas 3 punkti; 4 pakas 5 punkti; 5 un vairāk pakas 7 punkti. Pamata paka – minimālais pretendenta piedāvātais pakalpojumu apjoms galalietotājiem.* Cena, kādu pretendents piedāvā piedāvājuma iesniegšanas brīdī, jānodrošina vismaz vienu gadu no pakalpojuma sniegšanas uzsākšanas brīža. ** Minimālais TV programmu skaits pakā 4 programmas. Pieļaujamas 2 pakas ar mazāk kā 4 programmām. |
16 |
|||||||||||||||||||
| 3. Maksas TV klienta galaiekārtu (TV dekoderi, TV antenas, viedkartes u.c.) izplatīšanas stratēģija |
Tiek vērtēts TV galaiekārtu pieejamības nodrošināšanas modelis klientiem visā Latvijas teritorijā (atbilstoši pārklājumam), piegādes veidi, atbalsts TV galaiekārtu uzstādīšanā. Maksimālo punktu skaitu saņem Pretendents, kurš nodrošina visplašāko galaiekārtu piegādi visā Latvijas teritorijā (atbilstoši pārklājumam) un uzstādīšanu. 3.1. Galaiekārtu piegādes teritoriālais nodrošinājums: – Par piegādes nodrošināšanu visā Latvijas teritorijā (atbilstoši pārklājumam) Pretendents saņem 3 punktus. – Par uzstādīšanas nodrošināšanu visā Latvijas teritorijā (atbilstoši pārklājumam) Pretendents saņem 3 punktus. 3.2. Par TV iekārtu nodrošināšanas veidiem: – Iegādājoties tās Pretendenta veikalu tīklā un/vai Pretendenta sadarbības partnera veikalu tīklā. Pretendents, kurš nodrošina iekārtu iegādi visvairāk Latvijas novados, saņem 3 punktus (maksimālais punktu skaits), pārējiem punktu skaits tiek noteikts proporcionāli: Punkti (P) =(Px / Py)*3, kur Px – novadu skaits vērtējamā piedāvājumā; Py – novadu skaits piedāvājumā ar visizvērstāko veikalu tīklu. – ar kurjerpastu visā Latvijas teritorijā – 1 punkts |
10 |
|||||||||||||||||||
| 4. Maksas TV programmu paku apmaksas un norēķinu iespējas |
Tiek vērtētas priekšapmaksas un pēcapmaksas pakalpojumu iespējas (no 2014. gada 1. janvāra); norēķināšanās par maksas televīzijas pakalpojuma lietošanu (turpmāk – norēķināšanās) iespējas/veidi. 4.1. Ja Pretendents nodrošina gan priekšapmaksas, gan pēcapmaksas iespējas, tas saņem 7 punktus. – ja Pretendents nodrošina tikai priekšapmaksas iespēju, Pretendents saņem 4 punktus; – ja Pretendents nodrošina tikai pēcapmaksas iespēju, Pretendents saņem 4 punktus. 4.2. Par katru nodrošināto norēķināšanās veidu (iespēju) Pretendents saņem 1 punktu: – Pretendenta interneta mājas lapā, izmantojot tiešsaisti ar internetbanku; – Pretendenta un/vai tā sadarbības partneru tirdzniecības vietās, veikalos; – Nosūtot paaugstinātas maksas SMS īsziņu; – Par citiem nodrošinātajiem norēķināšanās veidiem, pretendents saņem 1 punktu par katru veidu. Maksimālais punktu skaits par visu 4.2. punktā paredzēto un pieļauto norēķināšanās veidu nodrošināšanu ir 4 punkti. |
12 |
|||||||||||||||||||
| 5. Maksas TV klientu apkalpošanas servisa pieejamība un apkalpošanas līmenis |
Tiek vērtēts Pretendenta klientu apkalpošanas līmenis (diennakts klientu apkalpošanas tālrunis, klientu apkalpošanas jautājumu risināšana elektroniski – e-pasts, problēmu/bojājumu risināšana maksas TV klienta adresē) un klientu apkalpošanas servisa (pakalpojuma tehniskais atbalsts galaklientiem) pieejamība. 5.1. Par klienta apkalpošanu – maksas televīzijas pakalpojuma ierīkošanu un problēmu novēršanu – klienta norādītajā adresē Pretendents saņem 6 punktus. 5.2. Par diennakts klientu apkalpošanas tālruņa nodrošināšanu, kuru apkalpo klientu konsultanti, (iespēja pieteikt maksas televīzijas pakalpojumu, konsultācijas par pakalpojumu, iespēja noskaidrot TV pakalpojuma pieejamību, iespēja pieteikt bojājumu utt.) Pretendents saņem 4 punktus. 5.3. Par klientu apkalpošanas jautājumu risināšanu elektroniski, vai nodrošinot tālruni ar automātisko atbildētāju problēmas pieteikšanai, Pretendents saņem 2 punktus. |
12 |
|||||||||||||||||||
| 6. Biznesa plāna 2014.–2021.gadam pamatotība, ticamība, detalizācija |
Maksimālais punktu skaits – 16 punkti tiek piešķirti pamatotākajam, ticamākajam un detalizētākajam piedāvājumam. – Biznesa plānā pakalpojuma sniegšana ir skaidri un detalizēti definēta, ietverot nepieciešamo informāciju par pakalpojuma saturu un izpildi. Būtiski papildu skaidrojumi nav nepieciešami. Komisijai ir iespējams pārliecināties par piedāvātā pakalpojuma sekmīgas realizēšanas iespēju – Pretendents saņem 16 punktus; – Biznesa plānā pakalpojuma sniegšana ir definēta vispārīgi, norādītā informācija nav pietiekami detalizēta, atsevišķas pakalpojuma pozīcijas nav paskaidrotas. Pieeja daļēji ļauj pārliecināties par piedāvātā pakalpojuma sekmīgas realizēšanas iespēju – Pretendents saņem 10 punktus; – Biznesa plānā pakalpojuma sniegšana ir definēta vispārīgi. Norādītā informācija nav pietiekami detalizēta, atsevišķas pozīcijas vispār nav paskaidrotas. Pieeja neļauj Komisijai pārliecināties par Projekta sekmīgas realizēšanas iespēju – Pretendents saņem 3 punktus. |
16 |
|||||||||||||||||||
| 7. Izplatīšanas tīkla aptveršanas zonu paplašināšana |
Maksimālo punktu skaitu iegūst Pretendents, kurš piedāvā iespējas paplašināt Izplatīšanas tīklu aptveršanas zonas, izmantojot VAS "Latvijas Valsts radio un televīzijas centrs" raidošās stacijas (Dundaga, Embute, Evarži, Lielauce, Limbaži, Dagda). – Ja Pretendents paplašina no 1 līdz 2 Izplatīšanas tīkliem, Pretendents saņem 7 punktus; – Ja Pretendents paplašina no 3 līdz 4 Izplatīšanas tīkliem, Pretendents saņem 10 punktus; – Ja Pretendents paplašina no 5 līdz 6 Izplatīšanas tīkliem, Pretendents saņem 15 punktus. |
15 |
|||||||||||||||||||
Satiksmes ministrs A.Matīss
Satiksmes ministrijas iesniegtajā redakcijā
8.pielikums
Ministru kabineta
2013.gada 10.aprīļa
rīkojumam Nr.144
6.pielikums
konkursa "Maksas televīzijas pakalpojuma
nodrošināšana zemes apraidē" nolikumam
KONKURSS
MAKSAS TELEVĪZIJAS PAKALPOJUMA NODROŠINĀŠANA ZEMES APRAIDĒ
PIEDĀVĀJUMA NODROŠINĀJUMS*
1. Ievērojot to, ka [pretendenta nosaukums, reģ. Nr. un juridiskā adrese] (turpmāk – Pretendents) ir iesniedzis savu piedāvājumu konkursam "Maksas televīzijas pakalpojuma sniegšana" (tekstā – Piedāvājums), mēs [sabiedrības nosaukums, reģ. Nr. un juridiskā adrese] (tekstā – Sabiedrība), apņemamies nodrošināt Sabiedrības galvojumu konkursa "Maksas televīzijas pakalpojuma nodrošināšana zemes apraidē" komisijai (tekstā – Konkursa Komisija) LVL 256 062 (divi simti piecdesmit seši tūkstoši sešdesmit divi lati) apmērā, kas atbilst viena mēneša maksai par maksas televīzijas programmu izplatīšanu ciparformatā (bez PVN) saskaņā ar līguma par maksas televīzijas programmu izplatīšanu ar zemes ciparu televīzijas raidošajiem tīkliem 5.pielikumu (tekstā – piedāvājuma nodrošinājums).
2. Piedāvājuma nodrošinājums ir spēkā un Sabiedrība izmaksā Konkursa Komisijai piedāvājuma nodrošinājuma summu, ja attiecībā uz Pretendentu izpildās kāds no zemāk norādītajiem gadījumiem:
2.1. Pretendents atsauc savu piedāvājumu laikā, kamēr ir spēkā piedāvājuma nodrošinājums;
2.2. Pretendents, kurš atzīts par uzvarētāju Konkursā, neiesniedz Līguma izpildes nodrošinājumu Konkursa nolikumā noteiktajā termiņā;
2.3. Pretendents, kurš atzīts par uzvarētāju Konkursā, iesniedz Līguma izpildes nodrošinājumu; bet neparaksta Līgumu Konkursa nolikumā noteiktajā termiņā.
3. Sabiedrība apņemas samaksāt piedāvājuma nodrošinājuma summu pēc Konkursa Komisijas pirmā rakstiskā pieprasījuma uz tajā norādīto norēķinu kontu 5 (piecu) darba dienu laikā pēc Konkursa Komisijas pieprasījuma saņemšanas, neprasot Konkursa Komisijai pamatot savu prasību, pie nosacījuma, ka Konkursa Komisija norāda, ka viņas pieprasītā summa attiecas uz vienu vai vairākiem 2.punktā minēto nosacījumu spēkā stāšanos.
4. Piedāvājuma nodrošinājums stājas spēkā <gads>.gada <datums>.<mēnesis> un ir spēkā līdz <gads>.gada <datums>.<mēnesis>.
/Piedāvājuma nodrošinājumam ir jābūt spēkā (ņemot vērā apstākli, kurš iestājas pirmais):
– Līdz dienai, kad tiek noslēgts līgums par maksas televīzijas programmu izplatīšanu ar zemes ciparu televīzijas raidošajiem tīkliem (tekstā – Līgums), un Pretendents, kura piedāvājums izraudzīts saskaņā ar piedāvājuma izvēles kritēriju, nolikumā un Līgumā paredzētajā kārtībā iesniedz Līguma izpildes nodrošinājumu;
– Četrus mēnešus, skaitot no piedāvājumu atvēršanas dienas./
Piedāvājuma nodrošinājumam ir piemērojami Starptautiskās tirdzniecības kameras noteikumi "The ICC Uniform Rules for Demand Guarantees" (ICC Publication Nr.758). Visi strīdi, kas radušies saistībā ar piedāvājuma nodrošinājumu, izskatāmi Latvijas Republikas tiesā saskaņā ar Latvijas Republikas normatīvajiem tiesību aktiem.
Sabiedrības vārdā personas ar pārstāvības tiesībām vai pilnvarotās personas:
(paraksts, parakstītāja vārds, uzvārds un amats)
Vieta, datums
* Piedāvājuma nodrošinājuma forma var atšķirties no šajā pielikumā norādītās formas, savukārt piedāvājuma nodrošinājums nedrīkst saturēt papildus nosacījumus un vai garantijas summas izmaksu ierobežojošus nosacījumus, kas atšķiras no šajā pielikumā norādītā satura.
Satiksmes ministrs A.Matīss
Satiksmes ministrijas iesniegtajā redakcijā
9.pielikums
Ministru kabineta
2013.gada 10.aprīļa
rīkojumam Nr.144
7.pielikums
konkursa "Maksas televīzijas pakalpojuma
nodrošināšana zemes apraidē" nolikumam
KONKURSS
MAKSAS TELEVĪZIJAS PAKALPOJUMA NODROŠINĀŠANA ZEMES APRAIDĒ
APLIECINĀJUMS/GARANTIJAS VĒSTULE PAR LĪGUMA IZPILDES NODROŠINĀJUMU*
Mēs [sabiedrības nosaukums, reģ. Nr. un juridiskā adrese] (tekstā – Sabiedrība), garantējam/apliecinām, ka pretendentam (nosaukums, reģ. Nr. un juridiskā adrese) (tekstā – Pretendents) tiks izsniegts līguma par maksas televīzijas programmu izplatīšanu ar zemes ciparu televīzijas raidošajiem tīkliem (tekstā – Līgums) izpildes nodrošinājums gadījumā, ja Pretendents tiks atzīts par uzvarētāju konkursā "Maksas televīzijas pakalpojuma nodrošināšana zemes apraidē" (tekstā – Konkurss) un ar Pretendentu tiks noslēgts Līgums. Līguma izpildes nodrošinājums tiks paredzēts ar sekojošiem noteikumiem:
1. Ievērojot 2013.gada _____._________________________ noslēgto līgumu par maksas televīzijas programmu izplatīšanu ar zemes ciparu televīzijas raidošajiem tīkliem (tekstā – Līgums, kas noslēgts starp [pretendenta nosaukums, reģ. Nr. un juridiskā adrese] kā Pasūtītāju un VAS "Latvijas Valsts radio un televīzijas centrs" kā Izpildītāju, mēs [sabiedrības nosaukums, reģ. Nr. un juridiskā adrese] (tekstā – Sabiedrība), apņemamies nodrošināt ar Sabiedrības galvojumu VAS "Latvijas Valsts radio un televīzijas centrs" LVL 3 072 738 (trīs miljoni septiņdesmit divi tūkstoši septiņi simti trīsdesmit astoņi lati) apmērā (turpmāk – Līguma izpildes nodrošinājums).
2. Sabiedrība apņemas veikt maksājumus pēc VAS "Latvijas Valsts radio un televīzijas centrs" pirmās prasības, ko parakstījusi VAS "Latvijas Valsts radio un televīzijas centrs" persona ar pārstāvības tiesībām vai pilnvarots pārstāvis, saņemšanas, kur paziņots, ka Pasūtītājs [nosaukums] nepilda Līguma saistības, norādot, kādas saistības nav izpildītas, vai arī Līguma izbeigšanas gadījumā Pasūtītāja [nosaukums] saistību neizpildes dēļ, un bez jebkādiem iebildumiem par jebkuru summu (-ām) iepriekš noteiktajās robežās. VAS "Latvijas Valsts radio un televīzijas centrs" nav pienākuma pierādīt saistību neizpildi, Sabiedrībai nav tiesību prasīt šādu pierādīšanu, un Pasūtītājam [nosaukums] nav tiesību Sabiedrībā apstrīdēt šo prasību. Sabiedrība apņemas maksāt VAS "Latvijas Valsts radio un televīzijas centrs" pēc VAS "Latvijas Valsts radio un televīzijas centrs" prasības, kas izdarīta pirms Līguma izpildes nodrošinājuma termiņa beigām.
3. Sabiedrība apņemas samaksāt Līguma izpildes nodrošinājuma summu pēc VAS "Latvijas Valsts radio un televīzijas centrs" pirmā rakstiskā pieprasījuma uz VAS "Latvijas Valsts radio un televīzijas centrs" norādīto norēķinu kontu 5 (piecu) darba dienu laikā pēc VAS "Latvijas Valsts radio un televīzijas centrs" pieprasījuma saņemšanas.
4. Līguma izpildes nodrošinājums stājas spēkā <gads>.gada <datums>.<mēnesis>. Pasūtītājs nodrošina, ka Līguma izpildes nodrošinājums paredzētajā apjomā ir spēkā visu Līguma darbības laiku līdz 2021.gada 31.decembrim, t.i., līdz brīdim, kad Pasūtītājs [nosaukums] būs pilnā apmērā un pienācīgi izpildījis līguma saistības, ko apliecina VAS "Latvijas Valsts radio un televīzijas centrs" paziņojums Sabiedrībai. Līguma izpildes nodrošinājums var tikt nodrošināts pa daļām, ievērojot Līguma izpildes nodrošinājuma nepārtrauktību visā Līguma darbības laikā. Pasūtītājam ir pienākums attiecīgi pagarināt Līguma izpildes nodrošinājuma termiņu un 10 (desmit) darba dienas pirms nodrošinājumā norādītā termiņa beigām jauno (pagarināto) Līguma izpildes nodrošinājumu iesniegt VAS "Latvijas Valsts radio un televīzijas centrs". Jaunā (pagarinātā) Līguma izpildes nodrošinājuma neiesniegšana norādītāja termiņā ir pamats VAS "Latvijas Valsts radio un televīzijas centrs" saņemt Līguma izpildes nodrošinājuma summu pilnā apmērā.
5. Līguma izpildes nodrošinājums un visi tā pielikumi, t.sk. grozījumi par termiņu pagarinājumu, ir Līguma neatņemamas sastāvdaļas un ir tā pielikumi.
Šai garantijai ir piemērojami Starptautiskās tirdzniecības kameras noteikumi "The ICC Uniform Rules for Demand Guarantees" (ICC Publication Nr.758), bet jautājumos, ko minētie noteikumi neregulē – Latvijas Republikas normatīvie akti. Visi strīdi, kas radušies saistībā ar Līguma izpildes nodrošinājumu, izskatāmi Latvijas Republikas tiesā.
Sabiedrības vārdā personas ar pārstāvības tiesībām vai pilnvarotās personas:
(paraksts, parakstītāja vārds, uzvārds un amats)
* Piedāvājuma nodrošinājuma forma var atšķirties no šajā pielikumā norādītās formas, savukārt piedāvājuma nodrošinājums nedrīkst saturēt papildus nosacījumus un vai garantijas summas izmaksu ierobežojošus nosacījumus, kas atšķiras no šajā pielikumā norādītā satura.
Satiksmes ministrs A.Matīss
Satiksmes ministrijas iesniegtajā redakcijā
10.pielikums
Ministru kabineta
2013.gada 10.aprīļa
rīkojumam Nr.144
Pielikums Nr.2
_______________________ Līgumam Nr._____________
par maksas televīzijas programmu izplatīšanu ar zemes ciparu
televīzijas raidošajiem tīkliem, kas noslēgts
starp VAS "Latvijas Valsts radio un televīzijas centrs"
un _______________________________________________
Signāla kvalitāte un monitorings
1. Signāla tehniskā uzraudzība (monitorings), ko veic Pasūtītājs
1.1. Pasūtītājs veic kvalitatīvu, nepārtrauktu un patstāvīgu Signāla, kas tiek padots uz pieslēguma punktu, tehnisko uzraudzību (monitoringu), un no antenu sistēmas atpakaļ uztvertā TV signāla monitoringu.
1.2. Pasūtītājs veic Signāla tehnisko uzraudzību (monitoringu), izmantojot šī Pielikuma 2.2. punktā minēto piekļuvi Izpildītāja tīkla monitoringa sistēmai, vietā, kur Signāls iziet no konkrētā raidītāja – Monitoringa punkts Nr.2 šajā Pielikumā iekļautajā shēmā "Signāla monitoringa shēma".
2. Signāla tehniskā uzraudzība (monitorings), ko veic Izpildītājs
2.1. Izpildītājs veic kvalitatīvu, nepārtrauktu un patstāvīgu Signāla tehnisko uzraudzību (monitoringu) sekojošos punktos:
2.1.1. Pieslēguma punktā – Monitoringa punkts Nr.1 šajā Pielikumā iekļautajā shēmā "Signāla monitoringa shēma".
2.1.2. Vietā, kur Signāls iziet no konkrētā raidītāja – Monitoringa punkts Nr.2 šajā Pielikumā iekļautajā shēmā "Signāla monitoringa shēma".
2.2. Izpildītājs nodrošina Pasūtītājam nepārtrauktu, informatīvu reālā laika attālinātu piekļuvi Izpildītāja tīkla monitoringa sistēmai, datorizēti atainojošu šī Pielikuma 2.1. punktā minēto monitoringa punktu stāvokli.
3. Pielietojamie Signāla tehniskās uzraudzības (monitoringa) standarti
Puses veic Signāla tehnisko uzraudzību (monitoringu) atbilstoši standartam ETSI TR 101 290 (Digital Video Broadcasting (DVB); Measurement guidelines for DVB systems)
4. Signāla kvalitāte
Izpildītājs nodrošina saņemtā Signāla kvalitatīvu, nepārtrauktu un patstāvīgu pārraidi.
| Pasūtītājs: | Izpildītājs: VAS "Latvijas Valsts radio un televīzijas centrs" |
|
Satiksmes ministrs A.Matīss
Satiksmes ministrijas iesniegtajā redakcijā
11.pielikums
Ministru kabineta
2013.gada 10.aprīļa
rīkojumam Nr.144
Pielikums Nr.3
_______________________ Līgumam Nr._____________
par maksas televīzijas programmu izplatīšanu ar zemes ciparu
televīzijas raidošajiem tīkliem, kas noslēgts
starp VAS "Latvijas Valsts radio un televīzijas centrs"
un _______________________________________________
Pakalpojumu kvalitātes noteikumi
1. Pakalpojumu kvalitātei tiek noteikti sekojoši kritēriji:
1.1. Signāla kvalitāte
1.2. Signāla nepārtrauktība laikā
1.3. Minimālās Vēlamā elektromagnētiskā lauka intensitātes vērtības
2. Pakalpojumu sniegšanas faktiskā kvalitāte tiek noteikta, atbilstoši sekojošai metodoloģijai:
|
# |
Pakalpojumu kvalitātes parametri |
Mērvienība |
Pieļaujamā novirze |
Līgumsods |
|
2.1. |
Signāla kvalitāte. Izpildītājs saskaņā ar Darba Uzdevumu izplata no Pasūtītāja saņemto Signālu (programmu paketi) bez kvalitātes zuduma, t.i., atbilstoši 2. Pielikumā "Signāla kvalitāte un monitoringa shēma" norādītajiem kvalitātes kritērijiem. |
Faktiskās nekvalitatīvās apraides minūtes (Tehniskais brāķis) katrā raidītājā | Ne vairāk kā 0.1% no apraides minūšu kopsummas, neskaitot nekvalitatīvās minūtes Plānoto apkopju un remontu ietvaros, kā arī neskaitot nekvalitatīvās minūtes Izpildītāja elektroenerģijas pakalpojumu piegādātāju vainas dēļ | Izpildītājs maksā Pasūtītājam Līgumsodu LVL
5 (pieci lati) par katru Tehniskā brāķa minūti, kura pārsniedz
pieļaujamo novirzi. Ja Tehniskais brāķis ilgst nepārtraukti no 72 (septiņdesmit divas) līdz 120 (viens simts divdesmit) stundām, Izpildītājs maksā Pasūtītājam līgumsodu LVL 15 (piecpadsmit lati) par katru Tehniskā pārtraukuma minūti. |
|
2.2. |
Signāla nepārtrauktība laikā. Izpildītājs saskaņā ar Darba Uzdevumu izplata no Pasūtītāja saņemto TV signālu (programmu paketi) nepārtraukti, t.i., 24 stundas dienā, 7 dienas nedēļā |
Faktiskās apraides pārtraukuma minūtes (Tehniskais pārtraukums) katrā raidītājā | Ne vairāk kā 0.05% no apraides minūšu kopsummas neskaitot pārtraukuma minūtes Plānoto apkopju un remontu ietvaros, kā arī neskaitot pārtraukuma minūtes Izpildītāja elektroenerģijas pakalpojumu piegādātāju vainas dēļ. | Izpildītājs maksā Pasūtītājam Līgumsodu LVL 10 (desmit lati) par katru Tehniskā pārtraukuma minūti, kura pārsniedz pieļaujamo novirzi. Ja Tehniskais pārtraukums ilgst nepārtraukti no 48 (četrdesmit astoņas) līdz 120 (viens simts divdesmit) stundām, Izpildītājs maksā Pasūtītājam līgumsodu LVL 25 (divdesmit pieci lati) par katru Tehniskā pārtraukuma minūti. |
| Minimālās Vēlamā elektromagnētiskā lauka intensitātes vērtības | E_min equiv., dBuV/m |
|
TV kanāls |
16QAM CR=3/4 |
64QAM CR=2/3 |
64QAM CR=3/4 |
|
21 |
48.6 |
52.7 |
54.2 |
|
22 |
48.7 |
52.8 |
54.3 |
|
23 |
48.9 |
53.0 |
54.5 |
|
24 |
49.0 |
53.1 |
54.6 |
|
25 |
49.1 |
53.2 |
54.7 |
|
26 |
49.2 |
53.3 |
54.8 |
|
27 |
49.3 |
53.4 |
54.9 |
|
28 |
49.4 |
53.5 |
55.0 |
|
29 |
49.6 |
53.7 |
55.2 |
|
30 |
49.7 |
53.8 |
55.3 |
|
31 |
49.8 |
53.9 |
55.4 |
|
32 |
49.9 |
54.0 |
55.5 |
|
33 |
50.0 |
54.1 |
55.6 |
|
34 |
50.1 |
54.2 |
55.7 |
|
35 |
50.2 |
54.3 |
55.8 |
|
36 |
50.3 |
54.4 |
55.9 |
|
37 |
50.4 |
54.5 |
56.0 |
|
38 |
50.5 |
54.6 |
56.1 |
|
39 |
50.6 |
54.7 |
56.2 |
|
40 |
50.7 |
54.8 |
56.3 |
|
41 |
50.8 |
54.9 |
56.4 |
|
42 |
50.9 |
55.0 |
56.5 |
|
43 |
51.0 |
55.1 |
56.6 |
|
44 |
51.2 |
55.2 |
56.7 |
|
45 |
51.3 |
55.4 |
56.9 |
|
46 |
51.4 |
55.5 |
57.0 |
|
47 |
51.5 |
55.7 |
57.2 |
|
48 |
51.6 |
55.8 |
57.3 |
|
49 |
51.7 |
55.9 |
57.4 |
|
50 |
51.8 |
56.0 |
57.5 |
|
51 |
51.9 |
56.1 |
57.6 |
|
52 |
52.0 |
56.2 |
57.7 |
|
53 |
52.1 |
56.3 |
57.8 |
|
54 |
52.2 |
56.4 |
57.9 |
|
55 |
52.3 |
56.5 |
58.0 |
|
56 |
52.4 |
56.6 |
58.1 |
|
57 |
52.5 |
56.7 |
58.2 |
|
58 |
52.6 |
56.9 |
58.4 |
|
59 |
52.8 |
57.0 |
58.5 |
|
60 |
52.9 |
57.1 |
58.6 |
|
61 |
53.0 |
57.2 |
58.7 |
|
62 |
53.1 |
57.3 |
58.8 |
|
63 |
53.2 |
57.4 |
58.9 |
|
64 |
53.3 |
57.5 |
59.0 |
|
65 |
53.4 |
57.6 |
59.1 |
|
66 |
53.5 |
57.7 |
59.2 |
|
67 |
53.6 |
57.8 |
59.3 |
|
68 |
53.7 |
57.9 |
59.4 |
|
69 |
53.8 |
55.7 |
57.2 |
|
Vēlamā EML intensitātes vērtības mērījuma sasniedzamā
precizitāte, atbilstoši |
|||
3. Līguma spēkā esamības laikā Izpildītājam ir pienākums nepārtraukti (tas ir, katru gadu, katru dienu bez pārtraukumiem, 24 stundas diennaktī), izņemot saskaņotos Tehniskos pārtraukumus, nodrošināt (izmantojot Tehniskos līdzekļus) Programmbloka saņemšanu (uztveršanu) Pieslēguma punktā un kvalitatīvu (atbilstoši televīzijas signāla kvalitātei, kāda tam bijusi Saņemšanas punktā) Programmbloka raidīšanu. Kvalitatīvs Signāls ir signāls, kas atbilst Pielikumā Nr.3 "Signāla kvalitāte un monitorings" noteiktajām signāla kvalitātes prasībām. Pasūtītājs ir atbildīgs par kvalitatīva signāla nodošanu Izpildītājam pieslēguma punktā. Izpildītājs ir atbildīgs par saņemtā signāla transportu un apraidi, nesamazinot saņemtā signāla kvalitāti.
4. Izpildītājs neatbild par Tehniskiem pārtraukumiem un Tehniskiem brāķiem, ja tie radušies Pasūtītāja piegādātā Signāla neatbilstības ISO/IEC 13818-1 standartam dēļ. Puses patstāvīgi veic atbilstošus Signāla atbilstības mērījumus Pieslēguma punktā, saskaņā ar Līguma Pielikumu Nr.3 "Signāla kvalitāte un monitorings".
5. Signāla nepārtrauktība, nesējfrekvences precizitāte, kļūdu skaits, raidītāja izejas jaudas jāmēra katram raidītājam atsevišķi.
6. Signāla nepārtrauktība laikā jāmēra katram raidītājam atsevišķi un tīkliem kopumā.
7. Katra mēneša kvalitatīvas Programmbloku raidīšanas faktiskais apjoms, tas ir, laika posms, kurā notikusi Programmbloku raidīšana bez Tehniskajiem brāķiem un Tehniskajiem pārtraukumiem, ņemot vērā, t.i. norādot laika posmus, kuros konstatēti Tehniskie brāķi un Tehniskie pārtraukumi, attiecīgajā mēnesī pieļautos Tehniskos brāķus un Tehniskos pārtraukumus, tiek saskaņots Protokolā par kvalitatīvas Programmbloku raidīšanas faktisko apjomu attiecīgajā mēnesī, ko paraksta abas Puses. Kvalitatīvas Programmbloku raidīšanas faktisko apjomu izsaka minūtēs. Nepilnas minūtes līdz 30. (trīsdesmitajai) sekundei izsaka, noapaļojot uz iepriekšējo minūti, bet nepilnas minūtes no 31. (trīsdesmit pirmās) sekundes izsaka, noapaļojot uz nākamo minūti. Pēc šādas metodikas aprēķina arī Tehniskā brāķa un Tehniskā pārtraukuma faktisko apjomu. Protokola paraug forma ir pievienota šī Līguma Pielikumā Nr.6 "Kvalitatīvo pakalpojumu sniegšanas protokola paraugs".
8. Izpildītājam ir pienākums saglabāt monitoringa datus kopumā par iepriekšējo mēnesi vismaz 30 (trīsdesmit) kalendārās dienas pēc attiecīgā mēneša beigām.
9. Šis Līguma Pielikums stājas spēkā vienlaikus ar Līguma spēkā stāšanos un paliek spēkā tik ilgi, cik ilgi ir spēkā Līgums, ja vien Puses nevienojas savādāk.
10. Šajā Līguma Pielikumā lietotajiem specifiskajiem terminiem ir tāda pat nozīme, kāda tiem definēta Līgumā.
11. Pušu paraksti:
| Pasūtītājs: | Izpildītājs: VAS "Latvijas Valsts radio un televīzijas centrs" |
|
Satiksmes ministrs A.Matīss
Satiksmes ministrijas iesniegtajā redakcijā
12.pielikums
Ministru kabineta
2013.gada 10.aprīļa
rīkojumam Nr.144
Pielikums Nr.4
_______________________ Līgumam Nr._____________
par maksas televīzijas programmu izplatīšanu ar zemes ciparu
televīzijas raidošajiem tīkliem, kas noslēgts
starp VAS "Latvijas Valsts radio un televīzijas centrs"
un _______________________________________________
Tīklu aptveršanas zonu mērījumu veikšanas kārtība
1. Zemāk aprakstītā kārtība nosaka zemes ciparu televīzijas izplatīšanas tīklu (tālāk tekstā – tīkls vai tīkli) aptveršanas zonu mērījumu, t.i. radiosignāla elektromagnētiskā lauka intensitātes (EML) mērījumu veikšanas kārtību.
2. Radiosignāla elektromagnētiskā lauka intensitātes mērījumi tiek veikti saskaņā ar CEPT rekomendāciju CEPT/ERC/REC 74-02 E.
3. Tīkla mērījumi notiek pa daļām. Mazākā iespējamā tīkla daļa ir 1 (viena) vienfrekvences tīkla zona. Atbilstoši VAS "Elektroniskie sakari " veiktajiem frekvences piešķīrumiem Latvijas teritorija ir sadalīta 8 (astoņās) vienfrekvences tīklu zonās.
4. Katras vienfrekvences zonas EML mērījumi tiek noformēti sastādot atbilstošu mērījumu protokolu, kurā tiek fiksēta konkrētā tīkla mērāmā vienfrekvences zona, mērījumu datums, mēraparatūra, mērāmā raidošā stacija un tās parametri, mērījumu vietas ar koordinātēm, minimālā vēlamā EML intensitātes vērtība, kontrolmērījumu EML intensitātes vērtības, mērījumu atbilstība minimālai vēlamā radiosignāla EML intensitātes vērtībai.
5. EML mērījumi katrā vienfrekvences tīklā tiek veikti vietās, kas, atkarībā no reālās vides apstākļiem, pēc iespējas vienmērīgi izvietotas pa konkrētā tīkla perimetru tuvu aprēķinātajām aptveršanas zonu robežām. Vietas izvēlas tā, lai, konkrēto vienfrekvences tīklu no iedomāta centra sadalot vienādos 30° sektoros, katrā sektorā atrastos viena mērījumu veikšanas vieta. Nepieciešamības gadījumā vietu skaits var tikt palielināts.
6. Mērījumu veikšanas laikā katrai izvēlētai vietai tiek fiksētas ģeogrāfiskās koordinātes, izmantojot GPS.
7. Katrā vietā EML mērījumi tiek atzīti par atbilstošiem, ja nomērītā radiosignāla lauka intensitātes mediānas vērtība nav mazāka par vēlamo lauka intensitāti, kuras vērtība noteikta saskaņā ar Reģionālās radiokonferences Ženēva-2006 materiāliem un ITU rekomendāciju Rec. ITU-R BT.1368-7.
8. Katra izvēlētā vieta ar tās mērījumu rezultātiem turpmākajā Līguma izpildes gaitā tiek izmantota kā etalondati iespējamo strīdu gadījumā.
| Pasūtītājs: | Izpildītājs: VAS "Latvijas Valsts radio un televīzijas centrs" |
|
Satiksmes ministrs A.Matīss
Satiksmes ministrijas iesniegtajā redakcijā
13.pielikums
Ministru kabineta
2013.gada 10.aprīļa
rīkojumam Nr.144
Pielikums Nr.5
_______________________ Līgumam Nr._____________
par maksas televīzijas programmu izplatīšanu ar zemes ciparu
televīzijas raidošajiem tīkliem, kas noslēgts
starp VAS "Latvijas Valsts radio un televīzijas centrs"
un _______________________________________________
Pakalpojumu cenas*
1. Pakalpojumu cenas:
|
Nr.p.k. |
Raidošās stacijas nosaukums |
TV kanāla numurs |
Raidītāja jauda, kW |
Pakalpojumu maksa mēnesī LVL |
|
CTV 2.tīkls |
||||
|
1. |
Ventspils NRTS |
0,1 |
||
|
2. |
Alūksnes NRTS |
0,5 |
||
|
3. |
Viesītes NRTS |
1,0 |
||
|
4. |
Liepājas RTS |
2,0 |
||
|
5. |
Valmieras RTS |
5,0 |
||
|
6. |
Kuldīgas RTS |
5,0 |
||
|
7. |
Cesvaines RTS |
5,0 |
||
|
8. |
Rēzeknes RTS |
5,0 |
||
|
9. |
Daugavpils RTS |
5,0 |
||
|
10. |
Rīgas RTS |
5,0 |
||
|
11. |
Pakalpojums "CTV programmu diennakts raidīšana ar raidītājiem" 2.tīkls, kopā | |||
|
12. |
Pakalpojums "CTV programmu diennakts pārraidīšana pa RRL kanāliem" 2.tīkls- (832,8 kan.km* 7LVL) | |||
|
13. |
Pakalpojums "MUX izdalīšana" 2.tīkls (11.p.*40LVL) | |||
|
14. |
CTV 2.tīkls, kopā |
49 465 |
||
|
|
|
|
|
|
|
CTV 3.tīkls |
||||
|
1. |
Ventspils NRTS |
0,1 |
||
|
2. |
Alūksnes NRTS |
0,5 |
||
|
3. |
Viesītes NRTS |
1,0 |
||
|
4. |
Liepājas RTS |
2,0 |
||
|
5. |
Valmieras RTS |
5,0 |
||
|
6. |
Kuldīgas RTS |
5,0 |
||
|
7. |
Cesvaines RTS |
5,0 |
||
|
8. |
Rēzeknes RTS |
5,0 |
||
|
9. |
Daugavpils RTS |
5,0 |
||
|
10. |
Rīgas RTS |
5,0 |
||
|
11. |
Pakalpojums "CTV programmu diennakts raidīšana ar raidītājiem" 3.tīkls, kopā | |||
|
12. |
Pakalpojums "CTV programmu diennakts pārraidīšana pa RRL kanāliem" 3.tīkls- (832,8 kan.km* 7LVL) | |||
|
13. |
Pakalpojums "MUX izdalīšana" 3.tīkls (11.p.*40LVL) | |||
|
14. |
CTV 3.tīkls, kopā |
49 465 |
||
|
|
|
|
|
|
|
CTV 4.tīkls |
||||
|
1. |
Ventspils NRTS |
0,1 |
||
|
2. |
Alūksnes NRTS |
0,5 |
||
|
3. |
Viesītes NRTS |
1,0 |
||
|
4. |
Liepājas RTS |
2,0 |
||
|
5. |
Valmieras RTS |
5,0 |
||
|
6. |
Kuldīgas RTS |
5,0 |
||
|
7. |
Cesvaines RTS |
5,0 |
||
|
8. |
Rēzeknes RTS |
5,0 |
||
|
9. |
Daugavpils RTS |
5,0 |
||
|
10. |
Rīgas RTS |
5,0 |
||
|
11. |
Pakalpojums "CTV programmu diennakts raidīšana ar raidītājiem" 4.tīkls, kopā | |||
|
12. |
Pakalpojums "CTV programmu diennakts pārraidīšana pa RRL kanāliem" 4.tīkls- (832,8 kan.km* 7LVL) | |||
|
13. |
Pakalpojums "MUX izdalīšana" 4.tīkls (11.p.*40LVL) | |||
|
14. |
CTV 4.tīkls, kopā |
49 465 |
||
|
|
|
|
|
|
|
CTV 5.tīkls |
||||
|
1. |
Ventspils NRTS |
0,1 |
||
|
2. |
Alūksnes NRTS |
0,5 |
||
|
3. |
Viesītes NRTS |
1,0 |
||
|
4. |
Liepājas RTS |
2,0 |
||
|
5. |
Valmieras RTS |
5,0 |
||
|
6. |
Kuldīgas RTS |
5,0 |
||
|
7. |
Cesvaines RTS |
5,0 |
||
|
8. |
Rēzeknes RTS |
5,0 |
||
|
9. |
Daugavpils RTS |
5,0 |
||
|
10. |
Rīgas RTS |
5,0 |
||
|
11. |
Pakalpojums "CTV programmu diennakts raidīšana ar raidītājiem" 5.tīkls, kopā | |||
|
12. |
Pakalpojums "CTV programmu diennakts pārraidīšana pa RRL kanāliem" 5.tīkls- (832,8 kan.km* 7LVL) | |||
|
13. |
Pakalpojums "MUX izdalīšana" 5.tīkls (11.p.*40LVL) | |||
|
14. |
CTV 5.tīkls, kopā |
49 465 |
||
|
|
|
|
|
|
|
CTV 6.tīkls |
||||
|
1. |
Ventspils NRTS |
0,1 |
||
|
2. |
Alūksnes NRTS |
0,5 |
||
|
3. |
Viesītes NRTS |
1,0 |
||
|
4. |
Liepājas RTS |
2,0 |
||
|
5. |
Valmieras RTS |
5,0 |
||
|
6. |
Kuldīgas RTS |
5,0 |
||
|
7. |
Cesvaines RTS |
5,0 |
||
|
8. |
Rēzeknes RTS |
5,0 |
||
|
9. |
Daugavpils RTS |
5,0 |
||
|
10. |
Rīgas RTS |
5,0 |
||
|
11. |
Pakalpojums "CTV programmu diennakts raidīšana ar raidītājiem" 6.tīkls, kopā | |||
|
12. |
Pakalpojums "CTV programmu diennakts pārraidīšana pa RRL kanāliem" 6.tīkls- (832,8 kan.km* 7LVL) | |||
|
13. |
Pakalpojums "MUX izdalīšana" 6.tīkls (11.p.*40LVL) | |||
|
14. |
CTV 6.tīkls, kopā |
49 465 |
||
|
|
|
|
|
|
|
CTV 7.tīkls |
||||
|
1. |
Rīgas RTS |
5,0 |
||
|
2 |
CTV 7.tīkls, kopā |
8 737 |
||
|
Pavisam, kopā |
256 062 |
|||
2. Papildus maksājumiem Pasūtītājs maksā pievienotās vērtības nodokli Latvijas Republikas normatīvajos aktos noteiktajā apmērā.
3. Pakalpojumu cenā nav ietvertas šādas izmaksas: pakalpojuma nodrošināšanā izmantoto raidīšanas iekārtu elektroenerģijas patēriņa izmaksas, kas aprēķinātas atbilstoši elektroenerģijas komercuzkaites mēraparātu rādījumiem un pakalpojumu sniedzējam piemērojamajiem elektroenerģijas tarifiem un pakalpojuma nodrošināšanā izmantoto raidīšanas iekārtu elektromagnētiskās saderības nodrošināšanas izmaksas, kas aprēķinātas saskaņā ar valsts akciju sabiedrības "Elektroniskie sakari" publisko pakalpojumu cenrādi.
* Pakalpojuma cenas norādītas ņemot vērā 2013.gada 2.aprīļa Ministru kabineta noteikumus Nr.178 "Tarifu aprēķināšanas metodika elektronisko plašsaziņas līdzekļu televīzijas programmu izplatīšanai ar zemes raidītājiem".
| Pasūtītājs: | Izpildītājs: | |
Satiksmes ministrs A.Matīss
14.pielikums
Ministru kabineta
2013.gada 10.aprīļa
rīkojumam Nr.144
Pielikums Nr.6
_______________________ Līgumam Nr._____________
par maksas televīzijas programmu izplatīšanu ar zemes ciparu
televīzijas raidošajiem tīkliem, kas noslēgts
starp VAS "Latvijas Valsts radio un televīzijas centrs"
un _______________________________________________
Kvalitatīvo pakalpojumu sniegšanas protokola paraugs
VAS “Latvijas Valsts radio un televīzijas centrs"
Protokols Nr. __________
Maksas TV programmu izplatīšana ar zemes ciparu televīzijas raidošajiem tīkliem apjoms un apmaksa
200___.gada _______________
saskaņā ar 20______.gada ______. ________________________ līgumu Nr.________________________________________
| Rīgā, | 20_____. g. _____.______________________________ |
|
Nr. |
Struktūrvienības nosaukums |
TV kanāla numurs |
Raidītāja jauda, kW |
Stundas mēnesī |
Tehniskie pārtraukumi un /vai tehniskie brāķi Izpildītāja vainas dēļ, st.,min*. |
Tehniskie pārtraukumi, kas radušies tehnisko līdzekļu avārijas izslēgšanas vai ārkārtās tehniskās apkopes gadījumos, kas nav tikuši saskaņoti ar Pasūtītāju, st.min. |
Tehniskie pārtraukumi elektroenerģijas piegādātāja padeves pārtraukuma dēļ, st.min. |
Apmaksājamais raidīšanas laiks, st.min. (5-6-7-8) |
Apmaksājamais raidīšanas laiks (9), st.,min. |
Pakalpojumu cena mēnesī par diennakts maksas TV programmu izplatīšanu, LVL |
Summa pakalpojumu apmaksai mēnesī, LVL |
|
1 |
2 |
3 |
4 |
5 |
6 |
7 |
8 |
9 |
10 |
11 |
12 |
| Maksa par maksas TV programmu izplatīšanu, kopā | |||||||||||
| Pievienotās vērtības nodoklis (PVN) __% | |||||||||||
| Maksa par maksas TV programmu izplatīšanu, ieskaitot PVN | |||||||||||
| Piezīmes | |||||||||||
st.,min.* = uzskaites mērvienība, ar kuru pilnas stundas tiek izteiktas stundās un nepilnās stundas tiek izteiktas minūtēs. Piem., 90 stundas un 20 minūtes = 90, 20 /st., min./
| Pasūtītājs: | Izpildītājs: VAS "Latvijas Valsts radio un televīzijas centrs" |
|
Satiksmes ministrs A.Matīss