
Ministru kabineta noteikumi: Šajā laidienā 7 Pēdējās nedēļas laikā 40 Visi
Ministru kabineta noteikumi Nr. 680
Rīgā 2023. gada 28. novembrī (prot. Nr. 59 12. §)
Dzelzceļa ekspluatācijas noteikumi
Izdoti saskaņā ar Dzelzceļa likuma
36. panta otro daļu
I. Vispārīgie jautājumi
1. Noteikumi nosaka nacionālās prasības attiecībā uz:
1.1. kritiskajiem parametriem dzelzceļa infrastruktūras tehniskajai ekspluatācijai;
1.2. B klases signalizācijas sistēmas darbības pamatprincipiem;
1.3. kritiskajiem parametriem ritekļu tehniskajai ekspluatācijai;
1.4. satiksmes organizācijas principiem manevru kustībā un ārkārtas situācijās;
1.5. nestandarta pārvadājumiem;
1.6. sliežu ceļa mašīnām un mehānismiem.
2. Noteikumos lietotie termini:
2.1. aizliedzošs signāls – signāls, kas aizliedz dzelzceļa satiksmi;
2.2. atļaujošs signāls – signāls, kas atļauj dzelzceļa satiksmi;
2.3. blokposms – posma sliežu ceļa daļa, kas aprīkota ar automātiskās bloķēšanas sistēmu, kuras signālierīces aizliedz ritošajam sastāvam iebraukt šajā sliežu ceļa daļā, ja tajā atrodas cits ritošais sastāvs;
2.4. bremzēšanas ceļš – attālums, kuru ritošais sastāvs nobrauc no bremžu iedarbināšanas brīža līdz pilnīgas apstāšanās brīdim;
2.5. būvju tuvinājuma gabarīts – vismazākā līdz ceļa asij pieļaujamā attāluma kontūra, par kuru tuvāk nedrīkst atrasties nekādas būvju un ierīču daļas, izņemot ierīces, kas paredzētas tiešai mijiedarbībai ar ritošo sastāvu;
2.6. centralizētā pārmija – pārmija, kuras asmeņus un krusteņa kustīgo serdi pārved ar ierīci, ko darbina no vienas centrālās vadības ierīces;
2.7. dzelzceļa satiksme – vilcienu kustība un manevri;
2.8. galvenais ceļš – posma ceļš, kā arī stacijas ceļš, kas ir stacijai piegulošā posma ceļa tiešs turpinājums;
2.9. manevri – ritošā sastāva pārvietošana ar vilces līdzekļiem vai bez tiem, lai saformētu un izformētu vilcienu, pārvietotu ritošo sastāvu uz iekraušanas, izkraušanas, remonta un apkopes vietām vai stāvvietām, kā arī atsevišķu vilces līdzekļu pārvietošanās pa ceļiem;
2.10. maršruts – noteikts pārmiju stāvoklis vilcienu pieņemšanai vai nosūtīšanai vai manevru veikšanai;
2.11. naidīgi maršruti – maršruti, kurus dzelzceļa satiksmes drošības apsvērumu dēļ nedrīkst izveidot vienlaikus;
2.12. necentralizētā pārmija – pārmija, kuras asmeņus pārved ar pārvedierīci, kas atrodas tieši pie pārmijas;
2.13. nepareizais ceļš – divceļu posma ceļš, kuram nosūtāmā vilciena kustības virziens neatbilst šim ceļam normāli noteiktajam kustības virzienam;
2.14. pasažieru apkalpošanai paredzētā infrastruktūra – staciju vai pieturas punktu ēkas, nojumes, pasažieru platformas, gājēju pārejas, tuneļi vai tiltiņi, kā arī citas būves un iekārtas (tostarp iekārtas biļešu pārdošanai un informācijas sniegšanai), kas nodrošina ātru un drošu ar pasažieru pārvadāšanu saistītu operāciju izpildi;
2.15. platsliežu dzelzceļš – 1520 mm sliežu ceļa platuma dzelzceļš;
2.16. posms – ceļš starp diviem blakus esošiem sadales punktiem;
2.17. riteņpāris – ritošā sastāva slodzi nesošie riteņi, kas konstruktīvi savienoti ar kopēju asi;
2.18. signāls – redzams vai dzirdams noteikts rīkojums vai norādījums, kas ir saistošs dzelzceļa darbiniekiem un citām personām, kas atrodas dzelzceļa zemes nodalījuma joslā vai tieši piedalās dzelzceļa satiksmē;
2.19. sliežu ceļa platums – noteiktā veidā mērīts attālums starp sliežu galviņu iekšējām šķautnēm platsliežu dzelzceļam – 13 mm, bet šaursliežu dzelzceļam – 7 mm zemāk par sliedes galviņas virsmu;
2.20. šaursliežu dzelzceļš – 750 mm sliežu ceļa platuma dzelzceļš;
2.21. vilcienu kustība – saformētu un sakabinātu vagonu vai cita ritošā sastāva, kam piešķirts vilciena numurs un kas aprīkots ar vilciena signālierīcēm, kustība ar vienu vai vairākiem vilces līdzekļiem.
3. Mērīšanas līdzekļi, ar kuriem tiek veikti šajos noteikumos noteiktie mērījumi, ir darbderīgi un pārbaudīti saskaņā ar normatīvajiem aktiem par atbilstības novērtēšanu.
4. Dzelzceļa infrastruktūras pārvaldītājs izstrādā un dara pieejamu dzelzceļa sistēmas dalībniekiem dzelzceļa infrastruktūras un tās tehnisko iekārtu aprakstu un dzelzceļa satiksmes organizēšanu atbilstoši šo noteikumu 1. pielikumā noteiktajam saturam, ko attiecībā uz stacijām iekļauj tehniskās rīcības aktā, bet attiecībā uz pievedceļiem – vietējā instrukcijā. Ja starp pievedceļu un staciju notiek dzelzceļa satiksme, pievedceļa dzelzceļa infrastruktūras pārvaldītājs, izstrādājot vietējo instrukciju, ņem vērā stacijas dzelzceļa infrastruktūras pārvaldītāja norādījumus.
5. Dzelzceļa infrastruktūras pārvaldītājs izstrādā un dara pieejamas dzelzceļa sistēmas dalībniekiem prasības, kas ir obligātas vilcieniem, kuriem ir atļauta kustība tā pārvaldītajā infrastruktūrā, ņemot vērā atsevišķu dzelzceļa līniju īpatnības, tehnisko aprīkojumu un dzelzceļa satiksmes organizēšanu.
II. Kritiskie parametri dzelzceļa infrastruktūras tehniskajai ekspluatācijai
6. Dzelzceļa sistēmas dalībnieki, ekspluatējot būves un ierīces, ievēro būvju tuvinājuma gabarīta robežas, kuras ir noteiktas:
6.1. platsliežu dzelzceļam – valsts standartā LVS 282:2021 "Dzelzceļa būvju tuvinājuma un ritošā sastāva gabarīti";
6.2. šaursliežu dzelzceļam – šo noteikumu 2. pielikumā.
7. Dzelzceļa infrastruktūras pārvaldītājs nodrošina dzelzceļa būvju, iekārtu un ierīču (tai skaitā dzelzceļa pārbrauktuvju un pāreju segumu un signalizācijas ierīču) pastāvīgu uzturēšanu kārtībā un bojājumu novēršanu.
8. Gājēju pārejas, tuneļus, tiltiņus starp platformām un pasažieru apkalpošanai paredzēto infrastruktūru dzelzceļa infrastruktūras pārvaldītājs uztur tehniski drošus un tīrus.
9. Sliežu ceļus, pārmijas un citas inženiertehniskās būves dzelzceļa infrastruktūras pārvaldītājs uztur tā, lai to tehniskais stāvoklis atbilstu tām paredzētajai funkcijai, pārvadājumu intensitātei, ritošā sastāva asu slodzēm un dzelzceļa satiksmes ātrumam.
10. Pievedceļa pievienojumu galvenajam ceļam posmā un stacijā aprīko ar aizsargierīci – aizsargstrupceļu, aizsargpārmiju, nosviedējpārmiju, nosviedējasmeņiem vai nosviedējkurpi. Lai novērstu ritošā sastāva aizripošanas draudus, pievedceļa pievienojumu citam stacijas ceļam aprīko ar aizsargierīci, ja tas:
10.1. atrodas horizontālā plaknē;
10.2. ir ar kritumu stacijas virzienā;
10.3. ir ar kāpumu stacijas virzienā, kas mazāks par 1,5 mm/m.
11. Dzelzceļa infrastruktūras pārvaldītājs pārmiju uztur tā, lai tās kustīgo elementu stāvokļa kontroles un noslēgšanas ierīces un mehānismi nodrošinātu šo elementu stāvokļa drošu fiksāciju un kontroli.
12. Dzelzceļa infrastruktūras pārvaldītājs sliežu ceļam nodrošina tā noturību pret šķērsnobīdēm.
13. Sliežu ceļus, pārmijas, citas inženiertehniskās būves un sistēmas dzelzceļa infrastruktūras pārvaldītājs uztur tā, lai to tehniskie parametri nepārsniegtu šo noteikumu 3. pielikumā norādītos kritiskos lielumus.
14. Bojājumu gadījumā dzelzceļa signalizācijas iekārtu elektroapgādes sistēmas pārslēdzas uz rezerves barošanas avotu, un pārslēgšanās laiks no elektroapgādes pamatsistēmas uz rezerves barošanas avotu un otrādi nedrīkst būt lielāks par 1,3 sekundēm.
15. Ja automātiskās un pusautomātiskās bloķēšanas sistēmas iekārtām rezerves elektroapgādes avots ir akumulatoru baterija, tā atrodas pastāvīgā darbderīgā stāvoklī un nodrošina signalizācijas, centralizācijas, bloķēšanas un pārbrauktuvju signalizācijas ierīču nepārtrauktu darbību ne mazāk par astoņām stundām, ja elektroapgāde nav pārtraukta iepriekšējo 36 stundu laikā.
16. Vienas stacijas vai viena stacijas parka robežās vienādus numurus ceļiem, pārmijām un posteņiem nepiešķir.
17. Dienesta telpas, kas ir paredzētas ar vilcienu kustību saistīta personāla darbībai vai aprīkojuma izvietošanai, izmanto tikai šim nolūkam paredzētām darbībām un nepieļauj citu personu brīvu piekļuvi tām.
18. Dzelzceļa infrastruktūras būvniecības, remonta un uzturēšanas darbus neuzsāk:
18.1. kamēr šķērslis vai darbu izpildes vieta, kas ir bīstama dzelzceļa satiksmei, nav norobežota vai attiecīgajā posma ceļā nav pārtraukta vilcienu kustība;
18.2. bez būvniecības, remonta un uzturēšanas darbu vadītāja iepriekšēja paziņojuma noformēšanas par darbu veikšanu;
18.3. ja darbu vadītājs nav saņēmis dzelzceļa infrastruktūras pārvaldītāja atbildīgā darbinieka piekrišanu darbu uzsākšanai.
19. Kamēr nav novērsts šķērslis, nav pilnīgi pabeigti darbi, nav pārbaudīts dzelzceļa infrastruktūras tehniskais stāvoklis un nav nodrošināts būvju tuvinājuma gabarīts, šķēršļa vai darbu izpildes vietas norobežošanu neatceļ.
20. Dzelzceļa speciālists, kurš apkalpo signalizācijas, centralizācijas un bloķēšanas iekārtas:
20.1. neuzsāk darbu bez tā darbinieka atļaujas, kurš ir atbildīgs par šo ierīču vadību;
20.2. neatjauno ierīču darbību pēc ierīces bojājuma novēršanas bez ierīču darbderīguma pārbaudes kopā ar darbinieku, kurš ir atbildīgs par šo ierīču vadību, un šī darbinieka atļaujas.
21. Pārmiju ieslēdzot centralizācijā, pārbauda pārmijas faktiskā stāvokļa atbilstību rādījumiem uz vadības ierīcēm.
22. Atslēgatkarības ierīces stacijās, kurās nav centralizācijas iekārtu, ar kontrolslēdzeņu palīdzību nodrošina pārmiju un signālu savstarpēju noslēgšanos. Šādu staciju bloķēšanas ierīces nodrošina:
22.1. iespēju stacijas dežurantam kontrolēt, vai posteņi ir pareizi sagatavojuši vilcienu pieņemšanas un nosūtīšanas maršrutus, kā arī dzelzceļa satiksmes maršrutus stacijas robežās;
22.2. no dažādiem posteņiem vadāmo pārmiju un signālu savstarpēju noslēgšanos.
23. Pārmiju kontrolslēdzenes:
23.1. ļauj izņemt atslēgu tikai tad, ja pārmija ir noslēgta;
23.2. noslēdz pārmiju tikai tajā stāvoklī, kāds norādīts no slēdzenes izņemtajā atslēgā, un tikai tad, ja asmens cieši piegulst rāmjsliedei;
23.3. novērš iespēju noslēgt pārmiju, ja atstarpe starp piespiesto asmeni un rāmjsliedi ir 4 mm un vairāk platsliežu ceļam vai 3 mm un vairāk šaursliežu ceļam.
24. Vienas stacijas robežās nelieto vienas un tās pašas sērijas pārmiju kontrolslēdzenes, bet stacijā, kurā ir vairāki pārmiju rajoni, vienas un tās pašas sērijas pārmiju kontrolslēdzenes nelieto viena pārmiju rajona posteņa un tam blakus esošo pārmiju rajonu posteņu robežās.
25. Ar pārmiju kontrolslēdzenēm aprīko necentralizētu pārmiju, kas:
25.1. atrodas galvenajā ceļā vai vilcienu pieņemšanas un nosūtīšanas ceļā;
25.2. ir aizsargpārmija;
25.3. ved uz ceļu, kas paredzēts ar sprāgstvielām piekrautu vagonu stāvēšanai;
25.4. ved uz ceļu, kas paredzēts palīdzības un ugunsdzēsības vilcienu, kā arī defektoskopijas vagonu, ceļa mērvagonu un ceļa mašīnu stāvēšanai;
25.5. ved uz aizsargstrupceļu vai uztvērējstrupceļu;
25.6. nav pārredzama no pārmiju posteņa.
26. Ja pārtraukta visu signalizācijas un sakaru līdzekļu darbība, vilcienu kustība ir aizliegta.
III. Kritiskie parametri ritekļu tehniskajai ekspluatācijai
27. Ritekļu tehniskās ekspluatācijas kritiskos parametrus, kuru dēļ nedrīkst izmantot ritekli, nosaka pārvadātājs, manevru darbu veicējs un ritekļa turētājs.
28. Pārvadātājs vai manevru darbu veicējs nodrošina:
28.1. pārbaudi ritekļa savietojamībai ar maršrutu;
28.2. ritekļa drošu integrāciju vilciena sastāvā;
28.3. ritekļa drošu ekspluatāciju atbilstoši noteiktajām prasībām.
29. Ritekļu kritiskie parametri ir norādīti šo noteikumu 4. pielikumā.
IV. B klases signalizācijas sistēmas darbības pamatprincipi
30. Signalizācijas pamatā ir savstarpējā atkarībā saslēgti signāli un kustības vadības ierīces, radiosakari, kā arī citas iekārtas un signāli, kas nodrošina drošu vilcienu kustību un kontroli. Kustības vadības ierīces sevī iekļauj iecirkņu dispečercentralizācijas, staciju centralizācijas un posmu pusautomātiskās vai automātiskās bloķēšanas sistēmas, automātisko lokomotīvju signalizāciju, kā arī pārbrauktuvju signalizāciju un uzkalna centralizāciju.
31. Dispečercentralizācijas iekārtas nodrošina:
31.1. noteiktā vilcienu kustības virziena kontroli vienceļa posmam un divceļu posmam ar divvirzienu bloķēšanas sistēmu;
31.2. ieejas, maršrutu un izejas luksoforu signālrādījumu atkārtošanu;
31.3. iespēju no viena vadības punkta darbināt pārmijas un signālierīces vairākās stacijās un posmos;
31.4. iespēju ar vadības ierīci kontrolēt pārmiju stāvokli un aizņemtību, kā arī posmu, blokposmu, stacijas ceļu aizņemtību;
31.5. iespēju pārslēgt staciju uz rezerves vai sezonas vadību vilcienu pieņemšanai, nosūtīšanai un manevru veikšanai;
31.6. iespēju pārslēgt atsevišķas pārmijas uz vietējo vadību manevru veikšanai.
32. Staciju centralizācijas ierīces nodrošina:
32.1. pārmiju un luksoforu rādījumu savstarpēju sasaisti un noslēgšanos;
32.2. kontroli pārmijas uzgriešanai, kas ir pārmijas asmens vai krusteņa kustīgās serdes mehāniska atspiešana ar riteņiem ritošā sastāva paasmens izbraukšanas gadījumā pa nesagatavotu maršrutu, un šādas pārmijas maršrutu norobežojoša luksofora vienlaicīgu pārslēgšanos uz aizliedzošu signālu (šāda prasība neattiecas uz pārmiju krusteņiem ar kustīgo serdeni ar ārējo noslēdzēju);
32.3. iespēju ar vadības ierīcēm kontrolēt pārmiju stāvokli, ceļu un pārmiju sekciju aizņemtību;
32.4. iespēju darbināt pārmijas un luksoforus, lietojot organizēto maršrutu vadību vai dalīto vadību;
32.5. iespēju veikt manevrus pēc manevru luksoforu signālrādījumiem;
32.6. pārmiju pārlikšanas nodošanu vietējai vadībai.
33. Centralizācijas ierīces nodrošina, ka pārmijas, kas ietilpst vilcienu pieņemšanas un nosūtīšanas maršrutos, kā arī to aizsargpārmijas ir saistītas savstarpējā atkarībā ar ieejas, izejas un maršruta luksoforiem, kas nepieļauj:
33.1. ieejas luksofora atvēršanu, ja maršruts sagatavots uz aizņemta ceļa;
33.2. pārmijas pārlikšanu, ja uz tās atrodas ritošais sastāvs;
33.3. maršruta sagatavošanu un maršrutam atbilstošā luksofora atvēršanu, ja pārmijas nav pārliktas vajadzīgajā stāvoklī vai naidīgo maršrutu luksofori ir atvērti;
33.4. maršrutā ietilpstošo pārmiju, kā arī aizsargpārmiju pārlikšanu vai naidīga maršruta luksofora atvēršanu, ja ir atvērts luksofors, kas norobežo sagatavoto maršrutu;
33.5. savstarpēji naidīgu maršrutu vienlaicīgu veidošanu stacijās vai pretēja virziena luksoforu vienlaicīgu atvēršanu posmos.
34. Šķirošanas uzkalnu pārmiju centralizācijas iekārtas papildus nodrošina:
34.1. individuālu pārmiju vadību;
34.2. automātisku pārmiju vadību uzkalna sadales zonā vagonu nolaišanas procesa programmētajā vai maršrutizētajā darba režīmā;
34.3. automātisku pārmijas pārlikšanu atpakaļ kontrolējamā stāvoklī, līdz vagonu grupa būs iebraukusi izolētajā pārmijas sekcijā, ja pārmijas pārlikšanas procesa programmētajā vai maršrutizētajā darba režīmā rodas traucēklis starp pārmijas asmeni un rāmjsliedi.
35. Signalizācijas un sakaru līdzekļi vilcienu kustības organizācijā ir pusautomātiskās vai automātiskās bloķēšanas sistēma, bet, ja šie līdzekļi ir bojāti vai tos nevar izmantot, tad vilcienu kustību var organizēt arī, lietojot:
35.1. elektrozižļu sistēmu;
35.2. telefona sakaru līdzekļus;
35.3. mobilo telefonu sakarus vai radiosakarus vilciena dispečera reģistrētā rīkojuma nodošanai vilces līdzekļa vadītājam (mašīnistam);
35.4. vienu zizli;
35.5. vienu vilces līdzekli.
36. Katrā starpstaciju posma ceļā vienlaikus var darboties tikai viens signalizācijas un sakaru līdzeklis vai vilcienu kustības organizācijas veids.
37. Posmu pusautomātiskās bloķēšanas sistēma ļauj nosūtīt vilcienu posmā tikai tad, ja bloķēšanas sistēma saņēmusi signālu, ka iepriekš nosūtītais vilciens ir atbrīvojis posmu un ir saņemta nākamās stacijas dežuranta piekrišana.
38. Posmu automātiskās bloķēšanas sistēmā posms ir sadalīts blokposmos, kurus norobežo ar luksoforiem un kuru aizņemtība tiek kontrolēta automātiski, nodrošinot drošu intervālu starp vilcieniem.
39. Automātiskās bloķēšanas sistēmu papildina ar automātisko lokomotīvju signalizāciju un dispečerkontroles ierīcēm.
40. Automātiskā lokomotīvju signalizācija kopā ar autostopa un modrības kontroles ierīcēm nodrošina vilces līdzekļa vadītāja (mašīnista) modrības kontroli un automātiski aptur vilces līdzekli, ja vilces līdzekļa vadītājs (mašīnists) ir zaudējis spēju to vadīt, kā arī ja vilces līdzekļa vadītājs (mašīnists) neievēro ātrumu, kāds noteikts, tuvojoties vai braucot garām luksoforam ar aizliedzošu signālu.
41. Bloķēšanas sistēmas nedrīkst pieļaut izejas vai garāmejas luksofora atvēršanu, ja ritošais sastāvs nav atbrīvojis blokposmu (starpstaciju posmu), ko norobežo šis signāls, kā arī nepieļauj luksofora pašaizvēršanos (pārslēgšanos uz aizliedzošu signālu), ja tā elektroapgādi pārslēdz no pamatsistēmas uz rezerves sistēmu vai otrādi.
42. Automātiskās bloķēšanas sistēma nodrošina, ka luksofors automātiski pārslēdzas uz aizliedzošu signālu, ja vilciens iebrauc luksofora norobežotajā blokposmā vai ja pārtrūkst blokposma sliežu ķēde.
43. Informāciju par dzelzceļa infrastruktūras bojājumiem, kas ietekmē vilcienu kustību un manevru darbu, reģistrē un arhivē.
44. Signalizācijas sistēmā lieto redzes un skaņas signālus, kas nodrošina dzelzceļa satiksmes drošību, kā arī vilcienu kustības un manevru precīzu organizāciju.
45. Redzes signālus iedala šādi:
45.1. dienas signāli, ko padod diennakts gaišajā laikā (dienā). Šo signālu padošanai lieto signālzīmes, signālkarodziņus un signālrādītājus;
45.2. nakts signāli, ko padod diennakts tumšajā laikā (naktī). Šo signālu padošanai lieto rokas un vilcienu signāllukturus, signāllukturus kārtīs un noteiktas krāsas signālrādītāju ugunis;
45.3. diennakts signāli, ko vienādi padod dienā un naktī. Šo signālu padošanai lieto noteiktas krāsas luksoforu ugunis, maršrutu un citus gaismas signālrādītājus un signālzīmes.
46. Nakts redzes signālus lieto dienā, ja dienas apstāšanās signālu redzamība ir mazāka par 1000 m, ātruma samazināšanas signālu redzamība mazāka par 400 m un manevru signālu redzamība mazāka par 200 m.
47. Redzes signāla rīkojuma vai norādījuma nozīme ir atkarīga no tā krāsas, veida, stāvokļa un signālrādījumu skaita. Signalizācijā lieto šādas signālu pamatkrāsas:
47.1. zaļā – atļauj vilcienu kustību ar noteikto ātrumu;
47.2. dzeltenā – atļauj vilcienu kustību ar gatavību apstāties;
47.3. sarkanā – pavēl apstāties;
47.4. mēnessbaltā – atļauj veikt manevrus;
47.5. zilā – aizliedz veikt manevrus.
48. Signālierīces var būt stacionāras vai pārnēsājamas, un tās nodrošina skaidrus un nepārprotamus padodamos signālus.
49. Pārnēsājamās signālierīces redzes signālu padošanai ir signālzīmes, signāllukturi un signālkarodziņi.
50. Redzes signālus izvieto tā, lai tie nepasliktinātu citu signālu redzamību. Dzelzceļa infrastruktūras tuvumā aizliegts novietot priekšmetus, kas var būt saprasti kā signāli vai var traucēt signālu pareizu uztveri.
51. Skaņas signāla rīkojuma vai norādījuma nozīme ir atkarīga no signālu skaita un ilguma, kā arī no dažāda skaita un ilguma skaņu kombinācijas. Skaņas signālus izmanto diennakts gaišajā un tumšajā laikā un padod saskaņā ar šo noteikumu 5. pielikumā noteiktajām prasībām.
52. Skaņas signālus padod, izmantojot svilpi vai signāltauri, bet vilces līdzekļa vadītājs – vilces līdzekļa signālierīces.
53. Vilces līdzekļa vadītājs (mašīnists) skaņas signālus padod ar mazā skaļuma svilpēm. Ja ir draudi uzbraukt cilvēkiem vai šķērslim, lieto liela skaļuma signālus.
54. Dzelzceļa speciālists, kam tika adresēts skaņas signāls, to apstiprina, atkārtojot signālu (ar skaņas vai rokas signālu vai izmantojot radiosakarus).
55. Luksoforus iedala šādi:
55.1. ceļa luksofori, ko uzstāda ceļa labajā pusē dzelzceļa satiksmes virzienā, izņemot šajos noteikumos minētos gadījumus, vai virs ceļa ass, ko šie luksofori norobežo;
55.2. lokomotīvju luksofori, ko uzstāda vilces līdzekļu vadības kabīnē tā, lai to rādījumi ir skaidri redzami vilces līdzekļa vadītājam un viņa palīgam.
56. Pēc konstrukcijas veida ceļa luksoforus iedala šādi:
56.1. mastu luksofori;
56.2. pundurluksofori;
56.3. luksofori, ko novieto uz tiltiņiem un konsolēm.
57. Ceļa luksoforu signālu pamatnozīme:
57.1. viena zaļa uguns – atļauts braukt ar noteikto ātrumu, ceļš priekšā brīvs, nākamais luksofors atvērts;
57.2. divas zaļas ugunis – atļauts braukt vienā no noteiktajiem virzieniem vai pa nepareizo ceļu;
57.3. viena dzeltena uguns – atļauts braukt ar gatavību apstāties, nākamais luksofors slēgts;
57.4. viena dzeltena un viena zaļa uguns – atļauts braukt, nākamais luksofors prasa ātruma samazinājumu;
57.5. viena dzeltena un viena zaļa mirgojoša uguns – atļauts braukt ar samazinātu ātrumu, vilciens novirzās uz sānu ceļu pa lēzeno pārmiju, nākamais luksofors atvērts;
57.6. divas dzeltenas ugunis, augšējā mirgojoša – atļauts braukt ar samazinātu ātrumu, vilciens novirzās uz sānu ceļu, nākamais luksofors atvērts;
57.7. divas dzeltenas ugunis – atļauts braukt ar samazinātu ātrumu un gatavību apstāties, vilciens novirzās uz sānu ceļu, nākamais luksofors slēgts;
57.8. trīs dzeltenas ugunis – motorvagonu vilcienam, atsevišķai lokomotīvei, nenoceļamā tipa drezīnai atļauts braukt pa brīvo ceļa daļu ar ātrumu, ne lielāku par 20 km/h, ar gatavību nekavējoties apstāties, ja radīsies šķēršļi tālākai kustībai;
57.9. viena zaļa mirgojoša uguns – atļauts braukt ar noteikto ātrumu, nākamais luksofors atļauj braukt garām ar samazinātu ātrumu, vilciens tiks novirzīts uz sānu ceļu pa lēzeno pārmiju;
57.10. viena dzeltena mirgojoša uguns – atļauts braukt ar noteikto ātrumu, nākamais luksofors atļauj braukt garām ar samazinātu ātrumu, vilciens tiks novirzīts uz sānu ceļu;
57.11. viena dzeltena mirgojoša uguns un viena mēnessbalta uguns – atļauts braukt divceļu posmā pa nepareizo ceļu, vadoties pēc automātiskās lokomotīvju signalizācijas rādījumiem;
57.12. viena sarkana uguns – stāt! Aizliegts braukt garām signālam;
57.13. viena mēnessbalta uguns:
57.13.1. atļauts braukt garām signālam, turpmākai kustībai nepieciešama atļauja;
57.13.2. atļauts veikt manevrus;
57.14. divas mēnessbaltas ugunis – atļauts veikt manevrus, ceļš, ko norobežo šis luksofors, ir brīvs;
57.15. viena zila uguns – aizliegts veikt manevrus un manevru sastāvam braukt garām signālam;
57.16. viena mēnessbalta mirgojoša uguns atsevišķā luksofora galviņā (ja ir aizliedzošs vai nestrādājošs pamatsignāls) – aicinājuma signāls, atļauj braukt garām luksoforam līdz nākamajam luksoforam vai līdz ceļa kontrolstabiņam ar ātrumu, kas nepārsniedz 20 km/h, ar paaugstinātu modrību un gatavību apstāties, ja rodas šķērslis turpmākai kustībai;
57.17. viena zaļa signālsvītra – papildina luksofora rādījumus, informējot par novirzi pa lēzeno pārmiju, kas atļauj kustību uz sānu ceļa ar palielinātu ātrumu.
58. Ja signālugunis ir nodzisušas vai nesaprotamas, vilcienu vai manevru sastāvu nekavējoties apstādina, izņemot aizsprostluksoforus, to brīdinājuma luksoforus un atkārtotājluksoforus, kuriem šajā stāvoklī nav signālnozīmes.
59. Lai sniegtu papildinformāciju, kopā ar luksoforu vai arī atsevišķi tiek izmantoti gaismas rādītāji un papildapzīmējumi.
60. Detalizēts luksoforu signālu skaidrojums noteikts šo noteikumu 6. pielikumā.
61. Ceļa luksoforus atkarībā no lietošanas veida iedala šādi:
61.1. ieejas luksofori, kas atļauj vai aizliedz vilces līdzekļa vadītājam (mašīnistam) no posma iebraukt stacijā;
61.2. izejas luksofori, kas atļauj vai aizliedz vilces līdzekļa vadītājam (mašīnistam) izbraukt no stacijas uz posmu;
61.3. maršruta luksofori, kas atļauj vai aizliedz vilces līdzekļa vadītājam (mašīnistam) braukt no viena stacijas rajona uz otru;
61.4. garāmejas luksofori, kas atļauj vai aizliedz vilces līdzekļa vadītājam (mašīnistam) braukt no viena blokposma uz otru;
61.5. aizsega luksofori, kas norobežo dzelzceļu krustojumus vienā līmenī ar citiem dzelzceļiem, tramvaja sliežu ceļiem un trolejbusu līnijām, kā arī norobežo paceļamos tiltus;
61.6. aizsprosta luksofori, kas vilces līdzekļa vadītājam (mašīnistam) liek apstāties, ja ir apdraudēta kustības drošība uz pārbrauktuvēm un uz lielām dzelzceļa inženiertehniskām būvēm, kā arī stacijās norobežo vagonu sastāvus apskates un remonta laikā;
61.7. brīdinājuma luksofori, kas brīdina par pamatluksofora (ieejas, garāmejas, aizsprosta un aizsega) rādījumu;
61.8. atkārtojuma luksofori, kas informē par izejas vai maršruta luksofora atļaujošu signālu un uzkalna luksofora signālu, ja vietējo apstākļu dēļ pamatluksofora redzamība nav nodrošināta;
61.9. manevru luksofori, kas atļauj vai aizliedz veikt manevrus;
61.10. uzkalnu luksofori, kas atļauj vai aizliedz vagonu nolaišanu no uzkalna.
62. Viens ceļa luksofors var veikt vairāku ceļa luksoforu funkcijas.
63. Ceļa luksoforus apzīmē šādi:
63.1. ieejas luksoforu atkarībā no vilciena kustības virziena apzīmē ar burtu "N" (nepāra) vai "P" (pāra);
63.2. izejas luksoforu atkarībā no vilciena kustības virziena apzīmē ar burtu "N" (nepāra) vai "P" (pāra) un ciparu, kas norāda ceļa numuru, ko luksofors norobežo;
63.3. maršruta luksoforu atkarībā no vilcienu kustības virziena apzīmē ar burtiem "NM" (nepāra maršruta) vai "PM" (pāra maršruta) un ciparu, kas norāda ceļa numuru, ko luksofors norobežo;
63.4. garāmejas luksoforu atkarībā no vilcienu kustības virziena apzīmē ar pāra vai nepāra cipariem, kas norāda luksofora kārtas numuru katrā blokposmā un secībā, sākot no ieejas luksofora;
63.5. manevru luksoforu apzīmē ar burtu "M" un atkarībā no atrašanās vietas stacijas pāra vai nepāra daļā – ar pāra vai nepāra ciparu.
64. Ja stacijā vilcienus var pieņemt no dažādiem vilcienu kustības virzieniem, ieejas luksofora apzīmējumu papildina ar burtu, kas norāda virzienu, no kura vilciens tiek pieņemts stacijā.
65. Ja ir bojāta vadības sistēma, luksofors automātiski pārslēdzas uz aizliedzošo signālu, bet brīdinājuma luksofors uz tādu signāluguni, kas atbilst pamatluksofora aizliedzošajam signālam.
66. Ceļa luksoforus uzstāda kustības virziena labajā pusē tādā veidā, lai no vilciena to signālugunis nevarētu uztvert kā signālugunis, kas attiecas uz blakus ceļiem.
67. Aizsprosta luksoforus un to brīdinājuma luksoforus, kurus uzstāda divceļu posmā vilcienam, kas brauc pa nepareizo ceļu, var novietot vilcienu kustības virziena kreisajā pusē.
68. Ja būvju tuvinājuma gabarīts neļauj uzstādīt kādu luksoforu labajā pusē, to izvieto kreisajā pusē, apzīmējot ar speciālu zīmi (6. pielikuma 72. punkts). Ja šādi izvietotais luksofors atrodas pie vienīgā vai malējā sliežu ceļa, šo zīmi nelieto.
69. Ceļa luksofori viens no otra atrodas tādā attālumā, kas nodrošina iespēju apturēt vilcienu no maksimālā vilcienam atļautā kustības ātruma, nepabraucot garām luksoforam. Ja attālumu nav iespējams nodrošināt, tad luksoforus papildus apzīmē ar baltas krāsas gaismas rādītāju (6. pielikuma 70. punkts).
70. Rokas signālus padod saskaņā ar šo noteikumu 7. pielikumu. Vilces līdzekļa vadītājs rokas signāla uztveršanu apstiprina ar atbilstošu skaņas signālu.
71. Signālzīmju un signālrādītāju nozīme un uzstādīšanas nosacījumi ir noteikti šo noteikumu 8. pielikumā.
72. Vilcienu kustības organizēšanai izmanto:
72.1. vilcienu dispečera sakarus starp vilcienu dispečeru un stacijas dežurantu, vilces līdzekļa vadītāju (mašīnistu) un citu tehnisko personālu, kas iesaistīts vilcienu kustības organizēšanā;
72.2. stacijas dežuranta sakarus starp stacijas dežurantu un vilcienu dispečeru, vilces līdzekļa vadītāju (mašīnistu) un citu tehnisko personālu, kas iesaistīts vilcienu kustības organizēšanā;
72.3. staciju savstarpējos sakarus starp divu blakus esošo staciju dežurantiem;
72.4. vilcienu radiosakarus starp vilciena dispečeru, stacijas dežurantu un vilces līdzekļa vadītāju (mašīnistu).
73. Dzelzceļa satiksmes rīkojumus vai norādījumus pārraida, izmantojot vilcienu radiosakarus un vilciena dispečera sakarus. Vilcienu radiosakarus un vilciena dispečera sakarus neizmanto sarunām, kas nav saistītas ar vilcienu kustību.
74. Vilcienu radiosakaru ierīces nodrošina nepārtrauktus un drošus divpusējus vilces līdzekļu vadītāja (mašīnista) sakarus ar vilcienu dispečeru dispečeriecirkņa robežās, staciju dežurantiem stacijai piegulošo posmu robežās un citiem vilces līdzekļu vadītājiem (mašīnistiem), kuri atrodas vienā posmā, kā arī var tikt izmantotas saziņai ar citu pārvadātāju vai dzelzceļa infrastruktūras pārvaldītāja dienesta personālu. Infrastruktūras pārvaldītājs nodrošina sarunu automātisku reģistrāciju.
V. Satiksmes organizācijas principi manevru kustībā un ārkārtas situācijās
75. Dzelzceļa speciālists ir tiesīgs patstāvīgi veikt pienākumus tikai pēc tam, kad viņš ir iepazinies ar dzelzceļa infrastruktūras un tās tehnisko iekārtu aprakstu un izmantošanas kārtību, kā arī drošas dzelzceļa satiksmes kārtību un darba aizsardzības prasībām.
76. Ikviens iecirknis, stacija un vilciens vienlaikus atrodas tikai viena dzelzceļa speciālista tiešā vadībā:
76.1. dispečercentralizācijas iecirknis – vilcienu dispečera vadībā;
76.2. stacija (stacijas parks) – stacijas (stacijas parka) dežuranta vadībā;
76.3. vilciens – priekšējā vilces līdzekļa vadītāja (mašīnista) vadībā.
77. Manevrus organizē tikai viena persona:
77.1. stacijā, kas atrodas ar dispečercentralizāciju aprīkotā iecirknī, – vilcienu dispečers vai cita dzelzceļa infrastruktūras pārvaldītāja noteikta persona, ja stacija nodota sezonas vai rezerves vadībā;
77.2. citās stacijās un pievedceļos – šo noteikumu 4. punktā minētajā tehniskās rīcības aktā vai vietējā instrukcijā noteiktā persona;
77.3. dzelzceļa infrastruktūras apkopes un uzturēšanas darbu veikšanas vietā – darbu vadītājs.
78. Manevru darbus vada manevru darbu vadītājs – dzelzceļa speciālists, kurš ir apguvis vilcienu sastādīšanu un manevru darbu vadīšanu un kurš ir atbildīgs par manevru pareizu izpildi.
79. Ja stacijā no vilciena sastāva atkabina bojātu vagonu un nav manevru vadītāja, vilces līdzekļa pārvietošanos vada stacijas dežurants. Stacijas dežurants pārliek pārmijas un dod rīkojumu vai norādījumu vilces līdzekļa vadītājam (mašīnistam) veikt manevrus. Dzelzceļa speciālists, kuram ir tiesības rīkot manevrus konkrētajā stacijas rajonā, pēc stacijas dežuranta norādījuma atkabina vagonus un nostiprina ar stacijas bremzes kurpēm.
80. To personu rīkojumi vai norādījumi, kas organizē un vada manevru darbus, ir saistoši visiem dzelzceļa speciālistiem, kuri ir tieši saistīti ar vilcienu kustības nodrošināšanu, un ir izpildāmi bez ierunām. Bez šo personu atļaujas ir aizliegts dot rīkojumus vai norādījumus par dzelzceļa satiksmi.
81. Rīkojumus vai norādījumus par dzelzceļa satiksmi dod skaidri (konkrēti) un īsi. Darbinieks, kas devis rīkojumu vai norādījumu, uzklausa rīkojuma vai norādījuma atkārtojumu un pārliecinās, ka tas ir saprasts pareizi.
82. Bez manevru vadītāja drīkst veikt šādus manevrus:
82.1. uzbīdīt vagonu uz šķirošanas uzkalna;
82.2. ar manevru vilces līdzekli pa centralizētām pārmijām vilkt manevru sastāvu no viena manevru rajona uz otru;
82.3. vilces līdzeklim braukt pie sastāva vai no tā;
82.4. veikt manevrus pievedceļos ar manevru vilces līdzekli, kas ir aprīkots ar tālvadības pulti.
83. Dzelzceļa sistēmas dalībnieki, veicot manevrus, nodrošina dzelzceļa satiksmes un ar manevriem saistīto personu drošību, ritošā sastāva un kravas saglabātību, kā arī apkārtējās vides aizsardzību.
84. Manevrējošu vilces līdzekli apzīmē ar vienu baltu uguni buferu brusas signāllukturī priekšā un aizmugurē tajā vilces līdzekļa pusē, kurā atrodas vadības pults, no kuras vada vilces līdzekli.
85. Vilces līdzekļa kustībai no viena manevru rajona uz otru manevru rajonu vai izbraukšanai aiz stacijas robežas manevru vadītājs saņem rīkojumus vai norādījumus no dzelzceļa speciālista, kurš organizē manevrus. Pirms tiek dota atļauja manevru vilces līdzekli ar vagoniem vai bez tiem pārvietot no viena manevru rajona uz otru, nepieciešama tā dzelzceļa speciālista atļauja, kurš vada manevrus otrajā rajonā. Ja nav centralizācijas ierīču vai tās ir bojātas, viena manevru rajona robežās kustībā vienlaikus var atrasties tikai viens manevru sastāvs vai viens vilces līdzeklis.
86. Kamēr nav saņemts manevru vadītāja rīkojums, norādījums vai rokas signāls, nekādas manevru darbības neuzsāk. Manevros vilces līdzekļa vadītājs (mašīnists), vadot vilces līdzekli bez vagoniem vai velkot vagonus pa stacijas ceļiem, ņem vērā stacijas dežuranta, centralizācijas posteņu dežurantu (operatoru), pārmijnieku un citu stacijas dzelzceļa speciālistu signālus (rīkojumus vai norādījumus) vai manevru luksoforu signālus. Manevrējot vilces līdzekļa vadītājs (mašīnists) ar vilces līdzekļa svilpieniem atkārto manevru signālu vai pa radiosakariem ar īsu rīkojuma vai norādījuma atkārtojumu apstiprina, ka sapratis manevru signālu vai pa sakariem saņemto manevru rīkojumu vai norādījumu. Ja vilces līdzekļa vadītājs (mašīnists) nav pārliecināts, ka manevru signālu, rīkojumu vai norādījumu ir sapratis pareizi vai nezina manevru darba plānu, viņš aptur vilces līdzekli.
87. Manevros ņem vērā ritošā sastāva un kravas īpatnības un stāvokli, kā arī ceļa un meteoroloģiskos apstākļus (īpaši redzamību braukšanas virzienā) un nepārsniedz šādu ātrumu:
87.1. 60 km/h – vilces līdzeklis, kas velk vagonus pa brīviem ceļiem ar ieslēgtām un pārbaudītām automātiskajām bremzēm, kā arī vilces līdzeklis bez vagoniem;
87.2. 40 km/h – vilces līdzeklis, kas velk vagonus pa brīviem ceļiem;
87.3. 25 km/h – vilces līdzeklis, kas stumj vagonus pa brīviem ceļiem, kā arī palīdzības un ugunsdzēsības vilcieni;
87.4. 15 km/h, manevrējot ar vagoniem, kuros ir cilvēki, un vagoniem, kas piekrauti ar sānu vai apakšējā negabarīta kravām;
87.5. 5 km/h – vagonu atkabēm sakabinoties ar citiem vagoniem;
87.6. 3 km/h – vilces līdzeklis (ar vagoniem vai bez tiem), sakabinoties ar citiem ritekļiem.
88. Atsevišķus vagonus stumt ar rokām atļauts tikai uz horizontāliem ceļiem, ja ir novērsta iespēja vagoniem izripot uz citiem ceļiem un darbinieku rīcībā ir bremzes kurpes. Aizliegts stumt ar rokām vagonus uz galvenajiem ceļiem, pieņemšanas un nosūtīšanas ceļiem, kā arī vagonus, kuros ir cilvēki vai iekrautas bīstamas kravas.
89. Pabeidzot manevrus, ja nepieciešams, starp vagonu vai vagonu grupu atstāj attālumu vismaz 5 metri un pārliecinās, ka vagoni ir droši nostiprināti, lai neaizripotu no varbūtēja grūdiena.
90. Manevros iesaistītā personāla detalizētu pienākumu aprakstu nosaka dzelzceļa infrastruktūras pārvaldītāja, pārvadātāja vai manevru darbu veicēja drošības pārvaldības sistēmā.
91. Publiskās lietošanas dzelzceļa infrastruktūras pārvaldītājs, pārvadātājs vai manevru darbu veicējs nosaka rīcības kārtību ārkārtas situācijās atbilstoši tieši piemērojamiem Eiropas Savienības tiesību aktiem par kopīgām drošības metodēm, kas attiecas uz prasībām drošības pārvaldības sistēmām, un savstarpējas izmantojamības tehnisko specifikāciju, kas attiecas uz Eiropas Savienības dzelzceļa sistēmas satiksmes nodrošināšanas un vadības apakšsistēmu.
92. Pievedceļu dzelzceļa infrastruktūras pārvaldītāji vietējā instrukcijā nosaka rīcību ārkārtas situācijās, kā arī situācijās, ja pēkšņi rodas dzelzceļa infrastruktūras vai ritekļu bojājumi.
93. Vietu, kurā ir šķēršļi vilcienu satiksmei, norobežo atbilstoši šo noteikumu 9. pielikumam, un ierobežojumus nekavējoties atceļ, ja novērsti to iemesli.
VI. Prasības nestandarta pārvadājumiem
94. Nestandarta pārvadājumi ir:
94.1. visi braucieni, kuros vilciens, atsevišķs riteklis vai tā vestā krava savas konstrukcijas, izmēru vai svara dēļ neatbilst maršruta parametriem un tā kustībai var būt nepieciešami īpaši apstākļi visā braucienā vai kādā tā daļā;
94.2. ritekļu un dzelzceļa infrastruktūras saderības pārbaudes;
94.3. ritekļu darbības pārbaudes braucieni;
94.4. pārvadātāju vai manevru darbu veicēju – dzelzceļa speciālistu – iepazīšanās braucieni dzelzceļa infrastruktūras tīklā vai tā daļā.
95. Nestandarta pārvadājumiem dzelzceļa infrastruktūras pārvaldītājs izsniedz īpašu atļauju un tajā nosaka nosacījumus dzelzceļa infrastruktūras izmantošanai šādiem pārvadājumiem.
96. Pārvadātājs un manevru darbu veicējs nosaka nestandarta pārvadājumu veikšanas kārtību, ierobežojumus un piesardzības pasākumus, ņemot vērā infrastruktūras pārvaldītāja nosacījumus.
97. Lai vilces līdzekļa vadītāja (mašīnista) instruktors varētu apmācīt vilces līdzekļa vadītājus (mašīnistus) un pārbaudīt viņu praktiskās iemaņas tādā sliežu ceļa iecirknī, kuru viņi nepārzina, instruktors veic iepazīšanās braucienu pa šo iecirkni. Dzelzceļa infrastruktūras pārvaldītājs šim braucienam norīko dzelzceļa speciālistu, kas iepazīstina ar sliežu ceļa profilu, signālierīču izvietojumu un citiem ekspluatācijas apstākļiem.
VII. Prasības sliežu ceļa mašīnām un mehānismiem
98. Sliežu motortransporta vienībām ir apzīmējumi vai norādījumi par visiem šīs vienības un tās darba mehānismu lietošanas drošības nosacījumiem un ierobežojumiem, kuru ievērošana ir obligāta.
99. Ar automātiskajām bremzēm neaprīkotas sliežu motortransporta vienības drīkst braukt sakabē ne vairāk par divām, un katrai vienībai ir savs vilces līdzekļa vadītājs (mašīnists).
100. Sliežu motortransporta vienības, kas brauc ar piekabēm, kurām nav automātisko bremžu, aprīko ar ierīcēm, kas nepieļauj piekabes pašatkabināšanos.
101. Ja sliežu motortransporta vienībai ir divas asis un slodze uz asi ir mazāka par 11 t, to aprīko ar palīgierīcēm, kas nodrošina drošu sliežu elektriskās ķēdes šuntēšanu.
102. Sliežu motortransports, kas nav paredzēts vai nenodrošina tā uztveršanu ar vilcienu vadības sistēmas palīdzību, drīkst darboties tikai pilnībā vilcienu kustībai slēgtā posmā.
103. Sliežu motortransporta ekspluatācijas nosacījumus dzelzceļa sistēmas dalībnieks izstrādā atbilstoši izgatavotājrūpnīcas prasībām, motortransporta veidam, stāvoklim un darba apstākļiem.
VIII. Noslēguma jautājumi
104. Noteikumi stājas spēkā 2024. gada 1. janvārī.
105. Atzīt par spēku zaudējušiem Ministru kabineta 2010. gada 3. augusta noteikumus Nr.724 "Dzelzceļa tehniskās ekspluatācijas noteikumi" (Latvijas Vēstnesis, 2010, 125. nr.; 2011, 67. nr.; 2014, 185. nr.; 2018, 157. nr.; 2022, 129. nr.).
Ministru prezidente E. Siliņa
Satiksmes ministrs K. Briškens
1. pielikums
Ministru kabineta
2023. gada 28. novembra
noteikumiem Nr. 680
Dzelzceļa infrastruktūras un tās tehnisko iekārtu apraksta un dzelzceļa satiksmes organizēšanas saturs
1. Dzelzceļa infrastruktūras aprakstā iekļauj dzelzceļa infrastruktūras ceļa garenprofilu, mēroga plānu un shematisko plānu.
2. Dzelzceļa infrastruktūras aprakstā norāda:
2.1. ceļa pilno garumu;
2.2. ceļa lietderīgo garumu, kas ir ceļa daļa, kura ir norobežota ar kontrolstabiņiem, luksoforiem vai izolētām salaidnēm (bet strupceļam – arī ar strupceļa prizmu) un uz kuras var novietot ritošo sastāvu, netraucējot normālu dzelzceļa satiksmi pa blakus ceļu;
2.3. ceļa garumu, kuru var izmantot vagonu iekraušanai un izkraušanai;
2.4. informāciju par sliežu ceļa šķērsojumiem;
2.5. signalizācijas ierīces;
2.6. elektroapgādes iekārtas, kur tās ir pieejamas;
2.7. pasažieru un kravu apkalpošanai paredzēto infrastruktūru un iekārtas;
2.8. vietas, kurās nav nodrošināta dzelzceļa speciālistu uzturēšanās drošība telpā starp ritošo sastāvu un būvēm vai iekārtām, vai ritošiem sastāviem, kas atrodas uz blakusceļiem.
3. Dzelzceļa infrastruktūras aprakstam pievieno:
3.1. kontakttīkla, automātiskās bloķēšanas līniju un elektroapgādes garenlīniju strāvas piegādes un sekcionēšanas shēmas;
3.2. informāciju par pasažieru apkalpošanai paredzēto infrastruktūru;
3.3. informāciju par kravu apkalpošanai paredzēto infrastruktūru un iekārtām;
3.4. informāciju par ritekļu apkopei, remontam un ekipēšanai paredzēto infrastruktūru un iekārtām.
4. Dzelzceļa satiksmes organizācijas aprakstā norāda:
4.1. dzelzceļa satiksmes organizācijas principus;
4.2. sliežu ceļu sadalījumu savstarpēji nodalītos manevru rajonos;
4.3. signalizācijas, centralizācijas un bloķēšanas ierīču izmantošanu normālā režīmā un bojājumu gadījumos;
4.4. atbildības sadalījumu par vilcienu kustības un manevru darba organizāciju un vadību;
4.5. manevru vilces līdzekļu un sastāvu kustības kārtību starp pievedceļiem un stacijas ceļiem vai starp manevru rajoniem;
4.6. sakaru lietošanas kārtību un personas, kurām ir tiesības lietot sakaru ierīces;
4.7. dzelzceļa satiksmes kustības ātrumus;
4.8. vagonu pārvietošanas kārtību, lietojot manevros vinču vai citus mehāniskos līdzekļus;
4.9. drošības prasības kravu izkraušanas un iekraušanas operācijām;
4.10. ritošā sastāva novietošanas un nostiprināšanas nosacījumus un kārtību, kā arī kārtību, kādā ziņo par ritošā sastāva nostiprināšanu;
4.11. bremžu izmantošanas kārtību manevros;
4.12. dzelzceļa speciālistu darba aizsardzības pasākumus;
4.13. dzelzceļa speciālistu rīcību, ja nepieciešams ievērot īpašus kustības noteikumus ārkārtas situācijās vai plānoto remontu laikā;
4.14. citu informāciju, kas ir būtiska attiecīgās dzelzceļa infrastruktūras ekspluatācijai.
2. pielikums
Ministru kabineta
2023. gada 28. novembra
noteikumiem Nr. 680
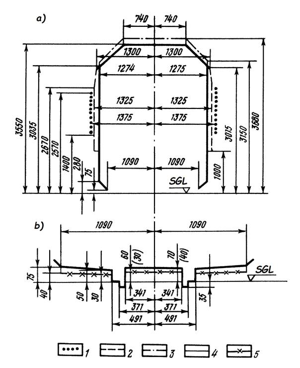
Šaursliežu dzelzceļa gabarīti
1. attēls. Būvju un ierīču tuvinājuma gabarīta robežas
1. Paskaidrojumi 1. attēlam:
1.1. visi izmēri ir norādīti milimetros;
1.2. visus horizontālos izmērus nosaka no sliežu ceļa ass, un visus vertikālos izmērus nosaka no sliedes galviņas virsmas līmeņa;
1.3. kontūra kreisā puse – piemēro sliežu ceļiem dzelzceļa stacijās, apstāšanās/stāvēšanas vietās un sliežu ceļu nozarojumiem/rūpnieciskajiem sliežu ceļiem;
1.4. kontūra labā puse – piemēro sliežu ceļiem posmā.
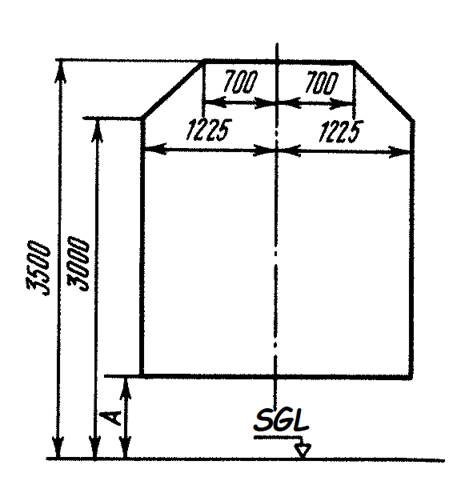
2. attēls. Ritošā sastāva gabarīta robežas
2. Paskaidrojumi 2. attēlam:
2.1. visi izmēri ir norādīti milimetros;
2.2. visus horizontālos izmērus nosaka no sliežu ceļa ass, un visus vertikālos izmērus nosaka no sliedes galviņas virsmas līmeņa (SGL);
2.3. iekavās norādītos izmērus nepiemēro jaunbūvējamam ritošajam sastāvam;
2.4. a) – gabarīta augšējā kontūra, b) – gabarīta apakšējā kontūra;
2.5. marķējums: 1 – tikai signālierīcēm, 2 – izvirzītām ritošā sastāva nesvarīgajām daļām, 3 – strāvas noņēmējiem nolaistā stāvoklī un lokomotīvju kabīnēm, 4 – ritošā sastāva atsperotajām daļām, 5 – ritošā sastāva neatsperotajām daļām.
3. attēls. Iekrautās kravas gabarīta robežas
3. Paskaidrojumi 3. attēlam:
3.1. visi izmēri ir norādīti milimetros;
3.2. visus horizontālos izmērus nosaka no sliežu ceļa ass, un visus vertikālos izmērus nosaka no sliedes galviņas virsmas līmeņa (SGL);
3.3. izmērs A tiek noteikts atkarībā no izmantojamā ritošā sastāva grīdas augstuma un pārvadājamās kravas masas.
3. pielikums
Ministru kabineta
2023. gada 28. novembra
noteikumiem Nr. 680
Dzelzceļa infrastruktūras kritiskie lielumi
I. Platsliežu dzelzceļam
1. Aizliegts ekspluatēt sliežu ceļus, kuru ceļa platums ir lielāks par 1548 mm un mazāks par 1511 mm.
2. Aizliegts ekspluatēt pārmiju un ceļu krustojumu, ja ir kaut viens no šādiem bojājumiem:
2.1. atvienoti pārmijas asmeņi un krusteņa kustīgās serdes vilktņi;
2.2. pārmijas asmens nepiegulst rāmjsliedei vai krusteņa kustīgā serde nepiegulst spārnsliedei 4 mm un vairāk (asmens un serdes nepiegulšana mērāma pretim pārmijas pirmajam vilktnim, bet, ja smailā krusteņa kustīgās serdes vilktņa stiprinājums atrodas pirms krusteņa serdes smailes, – krusteņa serdes smailē);
2.3. izdrupis pārmijas asmens vai krusteņa kustīgā serde, kas var izraisīt riteņa uzmalas uzbraukšanu sliedei;
2.4. pārmijas asmens vai krusteņa kustīgās serdes izdrupuma garums ir:
2.4.1. galvenajā ceļā – 200 mm un vairāk;
2.4.2. vilcienu pieņemšanas un nosūtīšanas ceļā – 300 mm un vairāk;
2.4.3. pārējos ceļos – 400 mm un vairāk;
2.5. asmens pazeminājums pret rāmjsliedi vai kustīgās serdes pazeminājums pret spārnsliedi ir 2 mm un vairāk, mērot griezumā, kur asmens galviņas vai kustīgās serdes virsmas platums ir 50 mm un vairāk;
2.6. ja attālums starp krusteņa serdes darba šķautni un pretsliedes galviņas darba šķautni ir mazāks par 1472 mm;
2.7. ja attālums starp pretsliedes un spārnsliedes galviņu darba šķautnēm ir lielāks par 1435 mm;
2.8. asmens vai rāmjsliedes lūzums un krusteņa (serdes, spārnsliedes vai pretsliedes) lūzums;
2.9. pārrauta pretsliedes bultskrūve (vienbultas ieliktnī) vai abas bultskrūves (divbultu ieliktnī);
2.10. otrā asmens atgājiens no rāmjsliedes ir mazāks par 125 mm.
3. Sliežu ceļu taisnēs un līknēs sliežu ceļa platums, plāns un profils atbilst infrastruktūras ekspluatācijas nosacījumiem un normām, nepieļaujot straujas sliežu ceļa platuma, plāna un profila ģeometrisko izmēru izmaiņas, kas rada ritošā sastāva nobraukšanas apdraudējumu.
4. Gulšņu skaits ir atbilstošs satiksmes ātrumam, ritošā sastāva slodzēm un sliežu ceļa konstrukcijai, bet ne mazāks par 1840 gulšņiem uz vienu kilometru galvenajiem sliežu ceļiem un ne mazāks par 1600 gulšņiem uz vienu kilometru – pārējiem ceļiem.
5. Minimālais zemes klātnes augšmalas platums platsliežu ceļam ir 400 mm no katras ceļa puses.
6. Ārējās sliedes paaugstinājumu sliežu ceļa līknēs uztur atbilstoši līknes rādiusam un dzelzceļa satiksmes ātrumam, bet ne lielāku par 150 mm.
7. Taisnos posmos sliežu ceļam renes minimālais platums starp sliedes iekšējo šķautni un autoceļa vai pārejas segumu ir 54 mm, līknēs renes platumu palielina, lai ritošā sastāva riteņu iekšējā šķautne nesaskaras ar autoceļa vai pārejas segumu. Maksimālais renes platums ir 110 mm. Renes minimālais dziļums ir 45 mm.
8. Pārbūvēto pasažieru platformu ekspluatācijā taisnē tiek nodrošināti šādi nominālizmēri:
8.1. no sliežu galviņas līmeņa līdz platformas virsmai – 550 mm;
8.2. no ceļa ass līdz platformas malai – 1920 mm.
9. Ekspluatācijā esošajām pasažieru platformām līdz to pārbūvei taisnē var būt šādi nominālizmēri:
9.1. no sliežu galviņas līmeņa līdz platformas virsmai – 200 mm;
9.2. no ceļa ass līdz platformas malai – 1745 mm.
10. Ekspluatācijā luksoforu rādījumi ir skaidri saredzami no vilces līdzekļa vadības kabīnes attālumā, kas nav mazāks par:
10.1. 1000 m – ceļa taisnajā iecirknī ieejas, brīdinājuma un garāmejas luksofora, aizsprosta luksofora un aizsega luksofora sarkanā, dzeltenā un zaļā signāluguns;
10.2. 400 m – ceļa līknē ieejas, brīdinājuma un garāmejas luksofora, aizsprosta luksofora un aizsega luksofora sarkanā, dzeltenā un zaļā signāluguns, kā arī luksoforu signālsvītras. Stipri šķēršļotā apvidū (dziļas ieraktnes) ir pieļaujams, ka minētie signāli redzami vismaz 200 m attālumā, un dzelzceļa infrastruktūras pārvaldītājs dara pieejamu informāciju par šādu luksoforu atrašanās vietām;
10.3. 400 m – galvenā ceļa izejas un maršruta luksofora signāluguns;
10.4. 200 m – sānceļu izejas un maršruta luksofora, kā arī aicinājuma signālu un manevru luksofora uguns;
10.5. 100 m – maršruta rādītāji un citi gaismas rādītāji.
11. Attālums no signalizācijas, centralizācijas, bloķēšanas un sakaru gaisa līniju vadu zemākā punkta līdz zemei, ja vadu nokare ir maksimāla, nedrīkst būt mazāks par:
11.1. 2,5 m – posmā;
11.2. 3 m – stacijā;
11.3. 5,5 m – krustojumā ar autoceļu (esošajās līnijās līdz to pārbūvei atļauts saglabāt 4,5 m attālumu).
12. Uz kontakttīkla un elektropārvades balstiem piekārta optiskās šķiedras kabeļa attālums, ja kabeļa nokare ir maksimāla, no tā zemākā punkta:
12.1. līdz zemes virsmai nedrīkst būt mazāks par:
12.1.1. 6 m – apdzīvotā vietā;
12.1.2. 5 m – neapdzīvotā vietā;
12.1.3. 4 m – kabeļa enkurošanas vietā;
12.2. līdz autoceļu klātnei uz pārbrauktuves nedrīkst būt mazāks par 6 m;
12.3. līdz pasažieru platformas virsmai nedrīkst būt mazāks par 4,5 m.
13. Vietā, kur gaisa sakaru līnijas vadi šķērso ceļu, attālums no gaisa sakaru līniju vadiem un piekārtā optiskās šķiedras kabeļa zemākā punkta līdz sliedes galviņas virsmas līmenim nedrīkst būt mazāks par 7,5 m. Elektrificētajā iecirknī atkarībā no sprieguma lieluma un kontakttīkla vadu piekares augstuma šo attālumu nosaka atbilstoši tehniskajiem noteikumiem.
14. Kontakttīkla kontaktvadu piekares augstums virs sliedes galviņas virsmas līmeņa nedrīkst būt lielāks par 6800 mm un mazāks par:
14.1. 5750 mm – posmā un stacijā;
14.2. 6000 mm – uz pārbrauktuves;
14.3. 5550 mm – inženierbūves robežās vai remonta darbu vietā.
15. Attālums no elektropārvades gaisa līnijas (ar spriegumu virs 1000 V) vadu zemākā punkta, ja vadu nokare ir maksimāla, līdz zemei nedrīkst būt mazāks par:
15.1. 6 m – posmā;
15.2. 5 m – posma grūti pieejamās vietās;
15.3. 7 m – krustojumā ar autoceļiem, stacijās un apdzīvotās vietās.
16. Vietā, kur ceļu šķērso gaisa vadu līnijas, attālums no elektropārvades gaisa līniju vadu zemākā punkta līdz neelektrificēta ceļa sliedes galviņas virsmas līmenim nedrīkst būt mazāks par 7,5 m. Elektrificētajās līnijās attālumu no elektropārvades gaisa līniju vadu zemākā punkta līdz kontakttīkla vadiem nosaka saskaņā ar elektroiekārtu ierīkošanas tehniskajām prasībām.
17. Izkrautās vai iekraušanai sagatavotās kravas ceļa tuvumā aizliegts novietot. Novietotā krava nedrīkst atrasties:
17.1. tuvāk par 2000 mm no sliežu ceļa malējās sliedes galviņas ārējās šķautnes, ja tās augstums ir līdz 1200 mm;
17.2. tuvāk par 2500 mm no sliežu ceļa malējās sliedes galviņas ārējās šķautnes, ja tās augstums ir lielāks par 1200 mm.
II. Šaursliežu dzelzceļam
18. Minimālais zemes klātnes augšmalas platums šaursliežu ceļam ir 200 mm no katras ceļa puses.
19. Aizliegts ekspluatēt šaursliežu ceļu, ja ceļa platums ir lielāks par 768 mm un mazāks par 746 mm.
20. Ārējās sliedes paaugstinājumu šaursliežu ceļa līknēs nosaka atbilstoši līknes rādiusam un dzelzceļa satiksmes ātrumam. Šis paaugstinājums nedrīkst pārsniegt 60 mm.
21. Aizliegts ekspluatēt šaursliežu pārmiju un ceļu krustojumu, kuriem ir kaut viens no šādiem bojājumiem:
21.1. atvienoti pārmiju asmeņi un krusteņu kustīgās serdes vilktņi;
21.2. pārmijas asmens nepiegulst rāmjsliedei vai krusteņa kustīgā serde nepiegulst spārnsliedei 3 mm un vairāk (asmens un serdes nepiegulšana mērāma pretim pirmajam vilktnim, bet, ja smailā krusteņa kustīgās serdes vilktņa stiprinājums atrodas pirms krusteņa serdes smailes, – krusteņa serdes smailē);
21.3. izdrupis pārmiju asmens vai kustīgā serde, kas var izraisīt riteņa uzmalas uzbraukšanu sliedei;
21.4. pārmiju asmens vai kustīgās serdes izdrupuma garums ir:
21.4.1. galvenajos ceļos – 125 mm un vairāk;
21.4.2. pārējos ceļos – 150 mm un vairāk;
21.5. asmens pazeminājums pret rāmjsliedi vai kustīgās serdes pazeminājums pret spārnsliedi ir 2 mm un vairāk, mērot griezumā, kur sākas asmens galviņas virsmas vertikālais noēvelējums;
21.6. attālums starp krusteņa serdes darba šķautni un pretsliedes galviņas darba šķautni ir mazāks par 716 mm;
21.7. attālums starp pretsliedes un spārnsliedes galviņu darba šķautnēm ir lielāks par 680 mm;
21.8. asmens vai rāmjsliedes lūzums un krusteņa (serdes, spārnsliedes vai pretsliedes) lūzums;
21.9. pārrauta pretsliedes bultskrūve (vienbultas ieliktnī) vai abas bultskrūves (divbultu ieliktnī).
22. Aizliegts ekspluatēt šaursliežu pārmiju un ceļu krustojumu:
22.1. ja 19 kg uz vienu metru un vieglāku sliežu rāmjsliedes vertikālais nodilums:
22.1.1. galvenajā ceļā ir lielāks par 4 mm;
22.1.2. vilcienu pieņemšanas un nosūtīšanas ceļā ir lielāks par 5 mm;
22.1.3. pārējos ceļos ir lielāks par 6 mm;
22.2. ja 19 kg uz vienu metru un vieglāku sliežu krusteņa serdes vertikālais nodilums vietā, kur tās šķērsgriezuma platums ir 40 mm:
22.2.1. galvenajā un vilcienu pieņemšanas un nosūtīšanas ceļā ir lielāks par 4 mm;
22.2.2. pārējos ceļos ir lielāks par 5 mm;
22.3. ja 24 kg uz vienu metru un smagāku sliežu rāmjsliedes vertikālais nodilums:
22.3.1. galvenajā ceļā ir lielāks par 6 mm;
22.3.2. vilcienu pieņemšanas un nosūtīšanas ceļā ir lielāks par 7 mm;
22.3.3. pārējos ceļos ir lielāks par 8 mm.
23. Sliežu ceļam ir vismaz 1320 gulšņi uz vienu kilometru.
24. Šaursliežu ceļam renes minimālais platums starp sliedes iekšējo šķautni un autoceļa vai pārejas segumu ir 60 mm, bet maksimālais – 80 mm. Šādas renes minimālais dziļums ir 35 mm.
25. Izkrautās vai iekraušanai sagatavotās kravas ceļa tuvumā aizliegts novietot, ja kravas augstums ir:
25.1. līdz 760 mm, tā nedrīkst atrasties tuvāk par 1500 mm no sliežu ceļa malējās sliedes galviņas ārējās šķautnes;
25.2. lielāks par 760 mm, tā nedrīkst atrasties tuvāk par 2000 mm no sliežu ceļa malējās sliedes galviņas ārējās šķautnes.
4. pielikums
Ministru kabineta
2023. gada 28. novembra
noteikumiem Nr. 680
Ritekļu kritiskie parametri
I. Platsliežu dzelzceļa ritekļi
1. Ritekļa riteņpāri atbilst riteņpāru formēšanas, apskates, remonta un uzturēšanas tehniskajām prasībām. Ritekļa ekspluatācijā tiek nodrošināts, ka riteņpārim nav:
1.1. plaisu jebkurā ass daļā, riteņa lokā, diskā vai rumbā;
1.2. bandāžas atslābuma uz riteņa diska;
1.3. riteņa rumbas atslābuma uz riteņpāra ass vai viengabalvelmējuma riteņa atslābuma uz ass;
1.4. zobrata atslābuma uz ass vai atslābuma vilces piedziņas pirksta riteņa diska urbumā;
1.5. riteņa rumbas nobīdes uz riteņpāra ass.
2. Aizliegts izmantot ritekli, ja:
2.1. attālums starp nenoslogota riteņpāra riteņu iekšējām šķautnēm lielāks par 1443 mm vai mazāks par 1437 mm;
2.2. riteņa uzmalas asšķautņainais uzvelmējums uzmalas darba virsmas zonā ir starp 2 mm no riteņpāra uzmalas virsējās šķautnes un 13 mm no velšanās virsmas;
2.3. uzmalas biezums (uzmalas augstums 30 mm un 32 mm, mērot 20 mm attālumā no uzmalas virsējās šķautnes, bet ritošajam sastāvam – 28 mm, mērot 18 mm attālumā no uzmalas virsējās šķautnes):
2.3.1. lokomotīvei, motorvagonu ritošajam sastāvam pasažieru vagonam lielāks par 33 mm vai mazāks par 25 mm;
2.3.2. kravas vagonam, sliežu motortransportam lielāks par 33 mm vai mazāks par 24 mm (ja ir publiskās lietošanas parka kravas vagoni, tad Latvijā var pieņemt vagonus, kuriem viena riteņpāra divu riteņu summārais uzmalu biezums nav mazāks par 48 mm, turklāt viena riteņa uzmalas biezums nav mazāks par 23 mm);
2.3.3. ČME3 tipa dīzeļlokomotīves otrajam un piektajam riteņpārim (ja lokomotīves otro un piekto riteņpāri apvirpo pēc profila ar samazinātu uzmalas biezumu par 10 mm, velšanās virsmas profilam ar samazinātu uzmalas biezumu par 10 mm, mērot 16,25 mm attālumā no uzmalas virsējās šķautnes) lielāks par 23 mm vai mazāks par 21 mm;
2.4. bandāžas, viengabalvelmējuma riteņa loka biezums:
2.4.1. lokomotīvei un motorvagonu ritošajam sastāvam bandāžas biezums:
2.4.1.1. lokomotīvei ar ass slodzi 23 t un vairāk – mazāks par 40 mm;
2.4.1.2. lokomotīvei ar ass slodzi, mazāku par 23 t, – mazāks par 36 mm;
2.4.1.3. motorvagonu ritošā sastāva motorvagona motorratiņiem – mazāks par 35 mm;
2.4.1.4. tvaika lokomotīvei – mazāks par 26 mm;
2.4.2. lokomotīvei un motorvagonu ritošajam sastāvam viengabalvelmējuma riteņa loka biezums:
2.4.2.1. lokomotīvei un motorvagonu ritošā sastāva motorvagonu motorratiņiem – mazāks par 30 mm;
2.4.2.2. motorvagonu ritošā sastāva piekabvagonam un motorvagonu balstratiņiem – mazāks par 25 mm;
2.4.2.3. ja ražotājs bandāžā vai riteņa lokā iespiež kontrolspiedzīmi, tad, pārkāpjot to;
2.4.3. pasažieru vagonam:
2.4.3.1. mazāks par 30 mm;
2.4.3.2. vagonam, kas ir apgrozībā kravas vilcienos tikai Latvijā, ar kustības ātrumu līdz 80 km/h – mazāks par 25 mm;
2.4.3.3. ja ražotājs bandāžā vai riteņa lokā iespiež kontrolspiedzīmi, tad, pārkāpjot to;
2.4.4. kravas vagonam, sliežu motortransportam:
2.4.4.1. viengabalvelmējuma – mazāks par 22 mm;
2.4.4.2. bandāžas – mazāks par 35 mm;
2.4.4.3. ja ražotājs bandāžā vai riteņa lokā iespiež kontrolspiedzīmi, tad, pārkāpjot to;
2.5. velšanās loka nodilums:
2.5.1. lokomotīvei un motorvagonu ritošajam sastāvam:
2.5.1.1. starptautiskajā satiksmē – lielāks par 7 mm;
2.5.1.2. motorvagonu ritošajam sastāvam vietējā satiksmē – lielāks par 8 mm;
2.5.2. pasažieru vagonam:
2.5.2.1. starptautiskajā satiksmē – lielāks par 7 mm;
2.5.2.2. vietējā un piepilsētas satiksmē – lielāks par 8 mm;
2.5.2.3. pasažieru vagonos, kas ir apgrozībā kravas vilcienos tikai Latvijā, ar kustības ātrumu līdz 80 km/h – lielāks par 9 mm;
2.5.3. kravas vagonam, sliežu motortransportam lielāks par 9 mm;
2.6. vietējā vai vispārējā bandāžas vai viengabalvelmējuma riteņa loka paplašināšanās:
2.6.1. lokomotīvei un motorvagonu ritošajam sastāvam vairāk par 6 mm;
2.6.2. pasažieru vagonam, kravas vagonam, sliežu motortransportam vairāk par 5 mm;
2.7. izdrupums, dobums vai iespiedums uz velšanās virsmas:
2.7.1. lokomotīvei un motorvagonu ritošajam sastāvam:
2.7.1.1. dziļāks par 3 mm vai garāks par 10 mm;
2.7.1.2. motorvagonu ritošā sastāva piekabvagonam – dziļāks par 3 mm vai garāks par 25 mm;
2.7.1.3. ja dziļums līdz 1 mm neatkarīgi no garuma – riteņpārus nebrāķē;
2.7.2. pasažieru vagonam:
2.7.2.1. dziļāks par 10 mm vai garāks par 25 mm;
2.7.2.2. ja dziļums līdz 1 mm neatkarīgi no garuma – riteņpārus nebrāķē;
2.7.3. kravas vagonam, sliežu motortransportam:
2.7.3.1. dziļāks par 10 mm vai garāks par 50 mm;
2.7.3.2. ja dziļums līdz 1 mm neatkarīgi no garuma – riteņpārus nebrāķē;
2.8. izrāvums vai uzmetinājums velšanās loka virsmā:
2.8.1. lokomotīvei un motorvagonu ritošajam sastāvam:
2.8.1.1. ar bukšu rullīšu gultņiem – lielāks par 1 mm;
2.8.1.2. ar slīdgultņiem – lielāks par 2 mm;
2.8.2. pasažieru vagonam:
2.8.2.1. izrāvums – lielāks par 1 mm;
2.8.2.2. uzmetinājums – lielāks par 0,5 mm;
2.8.3. kravas vagonam, sliežu motortransportam:
2.8.3.1. ar bukšu rullīšu gultņiem – lielāks par 1 mm;
2.8.3.2. ar slīdgultņiem – lielāks par 2 mm;
2.9. uzmalas vertikālais nogriezums augstumā lielāks par 18 mm.
3. Aizliegts braukt ar ritošo sastāvu platsliežu ceļos ātrāk par 120 km/h:
3.1. ja attālums starp nenoslogota riteņpāra riteņu iekšējām šķautnēm ir lielāks par 1443 mm vai mazāks par 1439 mm;
3.2. ja riteņa uzmalas biezums (ar uzmalas augstumu 30 mm, mērot 20 mm attālumā no uzmalas virsējās šķautnes, un ritošajam sastāvam ar uzmalas augstumu 28 mm, mērot 18 mm attālumā no uzmalas virsējās šķautnes) ir lielāks par 33 mm vai mazāks par 28 mm;
3.3. ja riteņa loka biezums ir 35 mm un mazāks;
3.4. ja riteņa velšanās loka nodilums lielāks par 5 mm.
4. Aizliegts izmantot vilces ritošo sastāvu, ja ceļtīra augstums no sliedes galviņas virsmas ir mazāks par:
4.1. 140 mm platsliežu lokomotīvēm, kuras veic manevru darbu uz šķirošanas uzkalna;
4.2. 100 mm pārējam platsliežu vilces ritošajam sastāvam.
5. Ritekļiem nodrošina šādu automātiskās sakabes ass augstumu virs sliežu galviņas virsmas līmeņa:
5.1. sakabinātu motorvagonu un ceļa mašīnu vienību ārējām sakabēm, lokomotīvēm, sliežu motortransportam, pasažieru un kravas vagoniem – ne lielāku par 1080 mm;
5.2. sakabinātu motorvagonu un ceļa mašīnu vienību ārējām sakabēm, lokomotīvēm, sliežu motortransportam, pasažieru vagoniem un tukšiem kravas vagoniem – ne mazāku par 980 mm;
5.3. piekrautiem kravas vagoniem – ne mazāku par 950 mm.
6. Augstuma starpība starp automātisko sakabju gareniskajām asīm nedrīkst pārsniegt:
6.1. kravas vilcienā un sakabinātām ceļa mašīnām – 100 mm;
6.2. starp lokomotīvi un pirmo piekrauto vagonu kravas vilcienā – 110 mm;
6.3. pasažieru un motorvagonu vilcienā, kas kursē ar ātrumu līdz 120 km/h – 70 mm;
6.4. pasažieru un motorvagonu vilcienā, kas kursē ar ātrumu virs 120 km/h – 50 mm;
6.5. starp lokomotīvi un pirmo vagonu pasažieru vilcienā – 100 mm.
7. Aizliegts izmantot ritekli, ja sakabes iekārtai ir plaisa vai sakabes mehānisma detaļas lūzums.
II. Šaursliežu dzelzceļa ritekļi
8. Aizliegts izmantot vilces ritošo sastāvu, ja ceļtīra augstums no sliedes galviņas virsmas ir mazāks par 70 mm.
9. Ritekļu (izņemot motordrezīnas) sakabes bufera ass augstums virs sliežu galviņas virsmas līmeņa ir:
9.1. ne mazāks par 550 mm un ne lielāks par 640 mm – vilces līdzekļiem;
9.2. ne mazāks par 510 mm un ne lielāks par 685 mm vagoniem.
10. Ritekļu augstuma starpība starp sakabju gareniskajām asīm nepārsniedz 75 mm.
11. Aizliegts izmantot ritekli, ja sakabes iekārtai ir plaisa vai sakabes mehānisma detaļas lūzums.
12. Ritekļa riteņpāri atbilst riteņpāru formēšanas, apskates, remonta un uzturēšanas tehniskajām prasībām. Ritekļa ekspluatācijā tiek nodrošināts, ka riteņpārim nav:
12.1. plaisu jebkurā ass daļā, riteņa lokā, diskā vai rumbā;
12.2. bandāžas atslābuma uz riteņa diska;
12.3. riteņa rumbas atslābuma uz riteņpāra ass vai viengabalvelmējuma riteņa atslābuma uz ass;
12.4. zobrata atslābuma uz ass vai atslābuma vilces piedziņas pirksta riteņa diska urbumā;
12.5. riteņa rumbas nobīdes uz riteņpāra ass.
13. Aizliegts izmantot ritekļus, ja:
13.1. attālums starp nenoslogota riteņpāra riteņu iekšējām šķautnēm:
13.1.1. lokomotīvei un motorvagonu ritošajam sastāvam lielāks par 688 mm vai mazāks par 682 mm;
13.1.2. pasažieru vagonam, kravas vagonam, sliežu motortransportam:
13.1.2.1. riteņpārim ar riteņa bandāžas (apmales) platumu 100 mm un 115 mm – lielāks par 688 mm vai mazāks par 682 mm;
13.1.2.2. riteņpārim ar riteņa bandāžas (apmales) platumu no 90 mm līdz 100 mm – lielāks par 691 mm vai mazāks par 687 mm;
13.2. uzmalas biezums (mērot 11 mm attālumā no uzmalas virsējās šķautnes):
13.2.1. lokomotīvei un motorvagonu ritošajam sastāvam lielāks par 25 mm vai mazāks par 20 mm (tvaika lokomotīves riteņpāriem ar samazinātu uzmalas augstumu – mazāks par 9 mm);
13.2.2. pasažieru vagonam, kravas vagonam, sliežu motortransportam lielāks par 25 mm vai mazāks par 16 mm (riteņpārim ar riteņa bandāžas (apmales) platumu no 90 mm līdz 100 mm – mazāks par 20 mm);
13.3. bandāžas, viengabalvelmējuma riteņa loka biezums:
13.3.1. lokomotīvei un motorvagonu ritošajam sastāvam:
13.3.1.1. dīzeļlokomotīvēm, ja ir bandāžas, – 29 mm un mazāks, ja viengabalvelmējuma – 19 mm un mazāks;
13.3.1.2. tvaika lokomotīvēm – ja riteņa diametrs ir 600 mm – 29 mm un mazāks; ja riteņa diametrs ir 800 mm – 30 mm un mazāks;
13.3.2. pasažieru vagonam – 19 mm un mazāks;
13.3.3. kravas vagonam, sliežu motortransportam – 16 mm un mazāks;
13.4. velšanās loka nodilums lielāks par 7 mm;
13.5. vietējā vai vispārējā bandāžas vai viengabalvelmējuma riteņa loka paplašināšanās vairāk par 5 mm;
13.6. izdrupums, dobums vai iespiedums uz velšanās virsmas:
13.6.1. lokomotīvei un motorvagonu ritošajam sastāvam:
13.6.1.1. viengabalvelmējuma – dziļāks par 2 mm vai garāks par 25 mm;
13.6.1.2. bandāžas – nav pieļaujams;
13.6.2. pasažieru vagonam:
13.6.2.1. riteņpāriem ar bandāžas vai viengabalvelmējuma riteņa loka biezumu 30 mm un vairāk – dziļāks par 10 mm vai garāks par 25 mm;
13.6.2.2. riteņpāriem ar bandāžas vai viengabalvelmējuma riteņa loka biezumu līdz 30 mm – dziļāks par 5 mm vai garāks par 25 mm;
13.6.3. kravas vagonam, sliežu motortransportam:
13.6.3.1. riteņpāriem ar bandāžas vai viengabalvelmējuma riteņa loka biezumu 30 mm un vairāk – dziļāks par 10 mm vai garāks par 25 mm;
13.6.3.2. riteņpāriem ar bandāžas vai viengabalvelmējuma riteņa loka biezumu līdz 30 mm – dziļāks par 5 mm vai garāks par 25 mm;
13.7. izrāvums vai uzmetinājums velšanās loka virsmā:
13.7.1. lokomotīvei un motorvagonu ritošajam sastāvam:
13.7.1.1. ar bukšu rullīšu gultņiem – lielāks par 0,7 mm;
13.7.1.2. ar slīdgultņiem – lielāks par 1 mm;
13.7.2. pasažieru vagonam, kravas vagonam, sliežu motortransportam:
13.7.2.1. ar bukšu rullīšu gultņiem – lielāks par 1 mm;
13.7.2.2. ar slīdgultņiem – lielāks par 2 mm;
13.8. uzmalas vertikālais nogriezums augstumā lielāks par 15 mm.
5. pielikums
Ministru kabineta
2023. gada 28. novembra
noteikumiem Nr. 680
Skaņas signāli
| Nr. p. k. | Signāla nozīme | Signāls | Rīcība |
|
Vispārīgie signāli |
|||
| 1. | Stāt! |
Trīs īsi |
Signālu padod vilces līdzekļa brigāde un
citi dzelzceļa speciālisti. Tuvojoties padodamajam apstāšanās rokas signālam, vilces līdzekļa vadītājs (mašīnists) padod apstāšanās skaņas signālu un dara visu iespējamo, lai apturētu vilcienu, nepabraucot garām rokas signālam |
| 2. | Vilcienam uzsākt gaitu! | Viens garš
|
Signālu padod attiecīgais dzelzceļa
speciālists pēc stacijas dežuranta norādījuma. Atbild priekšējā vilces
līdzekļa vadītājs (mašīnists).
Ja vilcienu nosūta no ceļa, kuram ir izejas luksofors, signālu padod priekšējā vilces līdzekļa vadītājs (mašīnists) pēc tam, kad izejas luksoforā iedegas atļaujošs signāls. Braucot divjūgā, signālu atkārto otrā vilces līdzekļa vadītājs (mašīnists) |
| 3. | Vēstījuma signāls | Viens garš
|
Vēstījuma signālu – vienu garu vilces
līdzekļa svilpienu – padod: • vilcienam tuvojoties stacijai vai citam sadales punktam, pieturas punktam, pārnēsājamam un rokas signālam, kas prasa ātruma samazināšanu, signālzīmei "Svilpt! " (8. pielikuma 7. punkts), ieraktnei, ceļa līknei, pārejai, pārbrauktuvei, noceļamā ritošā sastāva vienībai; • vilcienam tuvojoties darba vietai, sākot no kilometra, kas ir pirms brīdinājumā uzrādītā kilometra, neatkarīgi no pārnēsājamo signālu esības; • uztverot rokas signālu "Nolaist strāvas noņēmēju" (7. pielikuma 2.1. apakšpunkts), ko padod signālists; • tuvojoties cilvēkiem, kuri atrodas uz ceļa; • vilcieniem satiekoties divceļu posmos. Pirmo signālu dod, tuvojoties pretimbraucošajam vilcienam, otro signālu – tuvojoties pretimbraucošā vilciena beigu daļai; • pirms vilciena gaitas uzsākšanas. Miglā, sniegputenī un citos nelabvēlīgos laikapstākļos, kas samazina redzamību, vēstījuma signālu atkārto vairākas reizes. Veicot manevrus, vēstījuma signālus padod: • šķērsojot pārbrauktuves; • ja manevru sastāvs tuvojas cilvēkiem uz perona vai pie ceļa; • ja manevru sastāvs tuvojas vietām, kur iekrauj vai izkrauj vagonus vai remontē dzelzceļa infrastruktūru vai ritošo sastāvu. Manevru vadītājs, kurš ir pārtraucis manevrus, pieņemot vilcienu, signālists un pārmijnieks pēc vēstījuma signāla saņemšanas katrs savā darba iecirknī pārbauda, vai ir nodrošināta vilciena kustības drošība |
| 3a. | Vēstījuma signāls par nepāra vilciena tuvošanos | Viens garš
|
Vēstījuma signālu par nepāra vilciena tuvošanos padod ar vienu garu skaņas signālu, par pāra vilciena tuvošanos – ar diviem gariem skaņas signāliem. Šos signālus par vilciena tuvošanos padod signālists, ceļu un inženiertehnisko būvju apgaitnieks, darbu vadītājs vai dzelzceļa speciālists, kurš pavada noceļamos dzelzceļa infrastruktūras kontroles un apkopes mehānismus |
| 3b. | Vēstījuma signāls par pāra vilciena tuvošanos | Divi gari
|
|
| 4. | Modrības signāls | Viens īss un viens garš
|
Modrības signālu ar vilces līdzekļa
svilpienu padod un periodiski atkārto: • tuvojoties garāmejas luksoforam, kurā ir sarkana uguns, kam ir nosacīti atļaujošs signāls, un braucot tālāk pa blokposmu; • braucot garām garāmejas luksoforam, pēc apstāšanās pirms luksofora, kurā ir sarkana uguns, nesaprotams signāls vai kura ugunis ir nodzisušas, un braucot tālāk pa blokposmu; • tuvojoties ieejas luksoforam ar aicinājuma signālu un citos gadījumos, pieņemot vilcienu stacijā ar ieejas luksofora aizliedzošu signālu vai nodzisušām pamatugunīm; • pieņemot vilcienu no posma nepareizā ceļa, ja uz šī ceļa nav ieejas luksofora, un braucot tālāk pa stacijas pārmijkopu |
| 5. | Prasība darbiniekiem, kas apkalpo vilcienu, – Bremzēt! | Trīs gari
|
Signālu padod priekšējā vilces līdzekļa vadītājs (mašīnists). Braucot divjūgā, signālu atkārto divjūga otrā vilces līdzekļa vadītājs (mašīnists) |
| 6. | Prasība darbiniekiem, kas apkalpo vilcienu, – Atlaist bremzes! | Divi gari
|
Signālu padod priekšējā vilces līdzekļa vadītājs (mašīnists). Braucot divjūgā, signālu atkārto divjūga otrā vilces līdzekļa vadītājs (mašīnists) |
| 7. | Vilciens pienāk stacijā nepilnā sastāvā | Trīs gari un viens īss
|
Signālu padod priekšējā vilces līdzekļa vadītājs (mašīnists) |
| 8. | Vilcienu apkalpojošā dzelzceļa speciālista izsaukums pienākt pie vilces līdzekļa | Trīs gari un divi īsi
|
Signālu padod vilciena, kas apstājies posmā, priekšējā vilces līdzekļa vadītājs (mašīnists) |
|
Manevru signāli |
|||
| 9. | Vilces līdzeklim atļauts braukt uz priekšu | Viens garš svilpes signāls
|
Signālu padod manevru vadītājs |
| 10. | Vilces līdzeklim atļauts braukt atpakaļ | Divi gari svilpes signāli
|
Signālu padod manevru vadītājs |
| 11. | Lēnāk! | Divi īsi svilpes signāli
|
Signālu padod manevru vadītājs |
| 12. | Stāt! | Trīs īsi svilpes signāli
|
Signālu padod manevru vadītājs |
|
Trauksmes signāli |
|||
| 13. | Vispārējā trauksme | Viena gara un trīs īsas skaņas
|
Signālu padod jebkurš dzelzceļa
darbinieks. Ja vilcienam, kas apstājies posmā, palīdzību sniedz no vilciena priekšpuses, tuvojoties palīdzības vai ugunsdzēsības vilcienam vai palīglokomotīvei, vilces līdzekļa vadītājs (mašīnists) padod vispārējās trauksmes signālu, bet naktī (sliktas redzamības apstākļos – arī dienā) padod signālu, mirgojot ar prožektoru līdz analoga atbildes signāla saņemšanai no pretim braucošā vilciena mašīnista |
| 14. | Ugunsgrēka trauksme | Viena gara un divas īsas skaņas
|
Signālu padod jebkurš dzelzceļa darbinieks |
| 15. | Radiācijas briesmas vai Ķīmiskā trauksme | Viena gara un viena īsa skaņa
|
Posmos signālu padod vilces līdzekļa
vadītājs ar vilces līdzekļu svilpi 2–3 minūtes ilgi. Stacijās un citos dzelzceļa objektos norādījumu par signālu "Radiācijas briesmas" vai "Ķīmiskā trauksme" dod attiecīgās stacijas vai dzelzceļa objekta vadītājs. Ja ir dzelzceļa radiotranslācijas tīkls, par radiācijas vai ķīmiskām briesmām paziņo pa šo tīklu |
6. pielikums
Ministru kabineta
2023. gada 28. novembra
noteikumiem Nr. 680
Detalizēts luksoforu signālu skaidrojums
| Nr. p. k. | Attēls | Apraksts |
| Ieejas un maršruta luksofori | ||
| 1. |
|
Viena zaļa uguns – vilciens drīkst iebraukt
stacijā pa galveno ceļu un turpināt kustību ar noteikto ātrumu. Nākamajā
luksoforā (maršruta vai izejas) deg atļaujošs signāls. Iecirknī, kas aprīkots ar automātiskās bloķēšanas sistēmu, šis signāls norāda, ka priekšā ir brīvi divi blokposmi, bet četrzīmju signalizācijas gadījumā – trīs vai vairāki blokposmi |
| 2. |
|
Viena zaļa mirgojoša uguns – vilciens drīkst iebraukt stacijā pa galveno ceļu un turpināt kustību ar noteikto ātrumu. Nākamajā luksoforā (maršruta vai izejas) deg atļaujošs signāls, kas liek braukt tam garām ar ātrumu, ne lielāku par 80 km/h |
| 3. |
|
Viena dzeltena un viena zaļa uguns –
iecirknī, kas aprīkots ar četrzīmju signalizācijas automātiskās
bloķēšanas sistēmu – vilciens drīkst iebraukt stacijā pa galveno ceļu un
turpināt kustību ar noteikto ātrumu, priekšā brīvi divi blokposmi. Šo signālu ieejas luksoforā drīkst izmantot arī gadījumā, ja attālums starp stacijas galvenā ceļa maršruta un izejas luksoforu ir mazāks par nepieciešamo bremzēšanas ceļa garumu |
| 4. |
|
Viena dzeltena uguns – vilciens drīkst
iebraukt stacijā pa galveno ceļu un turpināt kustību, gatavojoties
apstāties. Nākamajā luksoforā (maršruta vai izejas) deg aizliedzošs
signāls. Iecirknī, kas aprīkots ar automātiskās bloķēšanas sistēmu, –
priekšā brīvs viens blokposms. Luksoforam ar vienu dzeltenu (nemirgojošu) signāluguni, ja dzelzceļa infrastruktūras pārvaldītājs nav noteicis savādāk, platsliežu kravas vilciens drīkst braukt garām ar ātrumu, kas nepārsniedz 50 km/h, bet pasažieru vilciens – ar ātrumu, kas nepārsniedz 60 km/h |
| 5. |
|
Viena dzeltena mirgojoša uguns – vilciens drīkst iebraukt stacijā pa galveno ceļu un turpināt kustību ar noteikto ātrumu. Nākamajā luksoforā (maršruta vai izejas) deg atļaujošs signāls, kas liek braukt tam garām ar samazinātu ātrumu |
| 6. |
|
Viena zaļa mirgojoša, viena dzeltena uguns un viena zaļa spīdoša signālsvītra – vilciens drīkst iebraukt stacijā uz sānu ceļa un turpināt kustību ar ātrumu, ne lielāku par 80 km/h. Nākamajā luksoforā (maršruta vai izejas) deg atļaujošs signāls |
| 7. |
|
Divas dzeltenas ugunis, no kurām augšējā ir mirgojoša, un viena zaļa spīdoša signālsvītra – vilciens drīkst iebraukt stacijā un turpināt kustību uz sānu ceļa ar ātrumu, ne lielāku par 80 km/h. Nākamajā luksoforā (maršruta vai izejas) deg atļaujošs signāls, kas liek braukt tam garām ar samazinātu ātrumu |
| 8. |
|
Divas dzeltenas ugunis, no kurām augšējā mirgojoša, – vilciens drīkst iebraukt stacijā un turpināt kustību uz sānu ceļa ar samazinātu ātrumu. Nākamajā luksoforā (maršruta vai izejas) deg atļaujošs signāls |
| 9. |
|
Divas dzeltenas ugunis – vilciens drīkst iebraukt stacijā un turpināt kustību uz sānu ceļa ar samazinātu ātrumu, gatavojoties apstāties. Nākamajā luksoforā deg aizliedzošs signāls |
| 10. |
|
Trīs dzeltenas ugunis – motorvagonu vilcienam, atsevišķai lokomotīvei, nenoceļamā tipa drezīnai atļauts braukt pa brīvo ceļa daļu ar ātrumu, ne lielāku par 20 km/h, ar gatavību nekavējoties apstāties, ja radīsies šķēršļi tālākai kustībai |
| 11. |
|
Sarkana uguns – Stāt! Aizliegts braukt
garām luksoforam. Ja vilces līdzekļa vadītājs (mašīnists) saņem atļauju pabraukt garām ieejas vai maršruta luksoforam ar aizliedzošo signālu, vilces līdzekļa vadītājs līdz nākamajam luksoforam (vai līdz ceļa kontrolstabiņam, ja ritošo sastāvu pieņem uz ceļa, kur nav izejas vai maršruta luksofora; motorvagonu vilcienam līdz pieturas vietai uz pasažieru platformas) brauc ar ātrumu līdz 20 km/h un ir gatavs nekavējoties apturēt sastāvu, ja rodas šķērslis tālākai kustībai |
| 12. | Ieejas luksoforu
izvieto ne tuvāk par 50 m no pirmās pārmijas (nosakot šo attālumu no
pārmijas asmens, ja tā ir pretasmens pārmija) vai no kontrolstabiņa (ja
tā ir paasmens pārmija), bet elektrificētos iecirkņos – pirms
kontakttīkla sekcionēšanas vietas no posma puses. Divceļu iecirknī katram galvenajam ceļam atsevišķi no vienas puses ir ieejas luksofors un no otras puses ir signālzīme "Stacijas robeža", ko uzstāda vismaz 50 m attālumā aiz pēdējās izejas pārmijas. Ar divvirzienu automātiskās bloķēšanas sistēmu aprīkotā divceļu iecirknī atsevišķi katram galvenajam ceļam ir ieejas luksofori |
|
|
Brīdinājuma luksofori |
||
| 13. |
|
Viena zaļa uguns – atļauts braukt ar noteikto ātrumu. Pamatluksoforā ir atļaujošs signāls |
| 14. |
|
Viena zaļa mirgojoša uguns – atļauts braukt ar noteikto ātrumu. Ieejas luksoforā ir atļaujošs signāls, kas atļauj iebraukt stacijā uz sānu ceļa ar ātrumu, ne lielāku par 80 km/h |
| 15. |
|
Viena dzeltena uguns – atļauts braukt, gatavojoties apstāties. Pamatluksoforā ir aizliedzošs signāls |
| 16. |
|
Viena dzeltena mirgojoša uguns – atļauts braukt ar noteikto ātrumu. Ieejas luksoforā ir atļaujošs signāls, kas liek braukt tam garām ar samazinātu ātrumu. Vilcienu pieņem uz stacijas sānceļa |
| 17. |
|
Ja signālugunis brīdinājuma luksoforā ir nodzisušas vai nesaprotamas un pamatluksofora signāls nav saredzams, tam drīkst braukt garām ar gatavību apstāties, nepabraucot garām pamatluksoforam |
|
Izejas luksofori |
||
| 18. |
|
Viena zaļa uguns – atļauts vilcienam izbraukt no stacijas, priekšā ir brīvi divi vai vairāki, bet iecirknī ar četrzīmju automātisko bloķēšanu – trīs vai vairāki blokposmi |
| 19. |
|
Viena zaļa mirgojoša uguns – atļauts braukt ar noteikto ātrumu. Nākamais luksofors ir ieejas luksofors, kas atļauj iebraukt stacijā uz sānu ceļa ar ātrumu, ne lielāku par 80 km/h |
| 20. |
|
Viena dzeltena un viena zaļa uguns – iecirknī, kas aprīkots ar četrzīmju signalizācijas automātiskās bloķēšanas sistēmu, atļauts vilcienam izbraukt no stacijas, priekšā brīvi divi blokposmi |
| 21. |
|
Viena dzeltena uguns – atļauts vilcienam
izbraukt no stacijas. Iecirknī, kas aprīkots ar automātiskās bloķēšanas
sistēmu, priekšā brīvs viens blokposms. Luksoforam ar vienu dzeltenu (nemirgojošu) signāluguni, ja dzelzceļa infrastruktūras pārvaldītājs nav noteicis savādāk, platsliežu kravas vilciens drīkst braukt garām ar ātrumu, kas nepārsniedz 50 km/h, bet pasažieru vilciens – ar ātrumu, kas nepārsniedz 60 km/h |
| 22. |
|
Viena dzeltena mirgojoša uguns – atļauts braukt ar noteikto ātrumu. Nākamais luksofors ir ieejas luksofors, kas liek braukt tam garām ar samazinātu ātrumu. Vilcienu pieņem uz stacijas sānceļa |
| 23. |
|
Viena dzeltena mirgojoša un viena mēnessbalta uguns – divceļu posmā, kas aprīkots ar vienvirziena automātiskās bloķēšanas sistēmu, – vilcienu nosūta uz nepareizo ceļu, kurā vilcienu kustība organizēta, lietojot automātisko lokomotīvju signalizāciju |
| 24. |
|
Viena zaļa mirgojoša uguns, viena dzeltena uguns un viena zaļa spīdoša signālsvītra – vilciens drīkst izbraukt no stacijas ar ātrumu, ne lielāku par 80 km/h, vilciens uz pārmijas novirzās uz sānu ceļa. Nākamajā luksoforā deg atļaujošs signāls |
| 25. |
|
Divas dzeltenas ugunis, no kurām augšējā mirgojoša, – vilciens drīkst izbraukt no stacijas ar samazinātu ātrumu, vilciens brauc ar novirzi pa pārmiju. Nākamajā luksoforā deg atļaujošs signāls |
| 26. |
|
Divas dzeltenas ugunis – vilciens drīkst izbraukt no stacijas ar samazinātu ātrumu, vilciens brauc ar novirzi pa pārmiju. Nākamajā luksoforā deg aizliedzošs signāls |
| 27. |
|
Divas zaļas ugunis – atļauts braukt vienā
no noteiktajiem virzieniem vai pa nepareizo ceļu. Ar automātiskās bloķēšanas sistēmu aprīkota posma priekšā ir vismaz divi brīvi blokposmi, bet ar pusautomātiskās bloķēšanas sistēmu aprīkots posms ir brīvs līdz nākamajai stacijai. Ja vilcienu nosūta uz nepareizo ceļu posmā, kas aprīkots ar divpusēju automātiskās bloķēšanas sistēmu, baltas krāsas gaismas maršruta rādītāja vai signāla – divas zaļas ugunis – lietošana izejas luksoforā ir obligāta |
| 28. |
|
Viena balta uguns – stacijā, kur ceļam ir izejas luksofors, bet posma atzarojums nav aprīkots ar ceļa bloķēšanas sistēmu, atļauts braukt garām signālam, turpmākai kustībai nepieciešama atļauja |
| 29. |
|
Viena sarkana uguns – Stāt! Aizliegts
braukt garām luksoforam. Ja vilcienu nosūta posmā pie izejas luksofora aizliedzošā signāla, vilciena vilces līdzekļa vadītājs (mašīnists) saņem atļauju pabraukt garām luksoforam ar aizliedzošo signālu un pa stacijas izejas pārmijkopas pārmijām brauc ar ātrumu līdz 20 km/h ar gatavību nekavējoties apstāties, ja rodas šķērslis vilciena kustībai |
|
Atkārtojuma luksofori |
||
| 30. |
|
Viena zaļa uguns – izejas vai maršruta
luksoforā ir atļaujošs signāls.
Normālā stāvoklī atkārtojuma luksofora uguns nedeg un luksoforam signālnozīmes nav. Pasažieru vilciens, kas pēc saraksta apstājas stacijā, var uzsākt gaitu tikai tad, ja atkārtojuma luksoforā ir zaļā uguns. Stacijā, kur nosūtīšanas ceļa garums nav pietiekams (vilces līdzeklis atrodas aiz izejas luksofora), luksofora pretējā pusē var novietot papildu atkārtotājgalviņu, kas atkārto izejas luksofora atļaujošo signālu. Nepieciešamības gadījumā atkārtojuma luksoforus var izvietot arī strupceļos |
|
Aicinājuma signāls |
||
| 31. |
|
Viena mēnessbalta mirgojoša uguns luksofora papildgalviņā – atļauj vilces līdzekļa vadītājam (mašīnistam), īpaši uzmanoties, braukt garām luksoforam ar sarkanu signālu (vai nodzisušu signālu) un turpināt kustību līdz nākamajam luksoforam (vai līdz ceļa kontrolstabiņam, ja ritošo sastāvu pieņem uz ceļa, kur nav izejas vai maršruta luksofora; motorvagonu vilcienam līdz pieturas vietai uz pasažieru platformas) ar ātrumu, ne lielāku par 20 km/h, un būt gatavam nekavējoties apstāties, ja radīsies šķēršļi tālākai kustībai |
|
Garāmejas luksofori |
||
| 32. |
|
Viena zaļa uguns – atļauts braukt ar noteikto ātrumu, priekšā brīvi divi (bet iecirkņos ar četrzīmju signalizāciju – trīs) vai vairāk blokposmi |
| 33. |
|
Viena dzeltena un viena zaļa uguns – iecirkņos ar četrzīmju signalizāciju – atļauts braukt, priekšā brīvi divi blokposmi, nākamais luksofors prasa ātruma samazinājumu |
| 34. |
|
Viena dzeltena uguns – atļauts braukt ar
gatavību apstāties, priekšā brīvs viens blokposms, nākamajā luksoforā ir
aizliedzošs rādījums. Luksoforam ar vienu dzeltenu (nemirgojošu) signāluguni, ja dzelzceļa infrastruktūras pārvaldītājs nav noteicis savādāk, platsliežu kravas vilciens drīkst braukt garām ar ātrumu, kas nepārsniedz 50 km/h, bet pasažieru vilciens – ar ātrumu, kas nepārsniedz 60 km/h |
| 35. |
|
Viena dzeltena mirgojoša uguns – atļauts braukt, nākamais ir ieejas luksofors, kas prasa braukt ar samazinātu ātrumu, vilciens novirzās uz sānu ceļu |
| 36. |
|
Viena zaļa mirgojoša uguns – atļauts braukt, nākamais ir ieejas luksofors, kas liek braukt tam garām ar ātrumu, ne lielāku par 80 km/h |
| 37. |
|
Viena sarkana uguns – Stāt! Priekšā esošais
blokposms ir aizņemts, aizliegts braukt garām signālam! Ja vilces līdzekļa vadītājs (mašīnists) apstādina vilcienu posmā pirms garāmejas luksofora ar aizliedzošu, nesaprotamu vai nodzisušu signāluguni un nav iespējams uzzināt, vai priekšā esošais blokposms ir aizņemts ar ritošo sastāvu, pēc apstāšanās atļauts atlaist bremzes un, ja pa šo laiku luksoforā nav parādījies atļaujošs signāls, braukt līdz nākamajam luksoforam ar ātrumu līdz 20 km/h un gatavību nekavējoties apturēt vilcienu, ja rodas šķērslis tālākai kustībai. Ja nākamais garāmejas luksofors ir ar aizliedzošām, nesaprotamām vai nodzisušām signālugunīm, vilciena kustību pēc apstāšanās turpina tādā pašā kārtībā. Ja, braucot garām garāmejas luksoforam ar aizliedzošu signālu, lokomotīves luksoforā parādās zaļš vai dzeltens signāls, vilces līdzekļa vadītājam (mašīnistam) atļauts braukt līdz nākamajam luksoforam ar ātrumu, kas nepārsniedz 40 km/h |
| 38. |
|
Nosacīti atļaujošais signāls – uz garāmejas luksofora, pie kura kravas vilciena iekustināšana pēc apstāšanās ir apgrūtināta (izņemot luksoforus, kas atrodas pirms ieejas luksofora), var uzstādīt nosacītās atļaujas signālu – plāksni ar atstarojošu zīmi T burta veidā. Šāds signāls atļauj kravas vilciena vilces līdzekļa vadītājam (mašīnistam) bez apstāšanās braukt garām garāmejas luksofora sarkanajai signālugunij ar ātrumu līdz 20 km/h un brīdina vilces līdzekļa vadītāju (mašīnistu) būt gatavam nekavējoties apstāties, ja rodas šķērslis vilciena kustībai |
| 39. | Iecirknī ar automātiskās
bloķēšanas sistēmu garāmejas luksofora signāluguns pamatstāvoklis ir
atļaujošs, bet ieejas, maršrutu un izejas luksoforos – aizliedzošs.
Iecirknī, kur ieejas, maršrutu un izejas luksoforus var pārslēgt
automātiskajā darbībā vilcienu izbraukšanai caur staciju pa galvenajiem
ceļiem, signāluguns pamatstāvoklis, luksoforam darbojoties automātiski,
ir atļaujošs. Iecirknī, kurš aprīkots ar automātiskās bloķēšanas sistēmu ar pastāvīgi nedegošām atļaujošām luksoforu ugunīm, garāmejas luksofora pastāvīgi nedegošas ugunis iedegas, kad ritošais sastāvs iebrauc blokposmā, kas atrodas pirms šī luksofora, un nodziest, kad ritošais sastāvs izbrauc no garāmejas luksofora norobežojamā blokposma. Garāmejas luksoforiem ar nodzisušām signālugunīm iecirkņos, kas aprīkoti ar automātiskās bloķēšanas sistēmu un ar automātiskās lokomotīvju signalizācijas ierīcēm, brauc garām, ievērojot lokomotīves luksofora signālugunis, ja lokomotīves luksoforā ir zaļš vai dzeltens signāls |
|
|
Aizsegluksofori |
||
| 40. |
|
Viena zaļa uguns – atļauts braukt garām luksoforam ar noteikto ātrumu |
| 41. |
|
Viena sarkana uguns – Stāt! Aizliegts braukt garām luksoforam |
| 42. | Galveno ceļu nekustīgie krustojumi un pinumi vienā līmenī norobežojami ar aizsega luksoforiem, kas novietoti abās krustojuma vai pinuma pusēs vismaz 50 m attālumā no kontrolstabiņiem. Šie aizsegluksofori savstarpēji saistāmi tā, lai vienu no tiem varētu atvērt tikai tad, ja naidīgo maršrutu (maršruti, kuri kustības drošības apsvērumu dēļ nevar būt sastādīti vienlaikus) luksoforos ir aizliedzošs signāls | |
|
Aizsprostluksofori |
||
| 43. |
|
Viena sarkana uguns – Stāt! Aizliegts braukt garām luksoforam |
| 44. |
|
Aizsprostluksofora brīdinājuma luksoforā viena dzeltena uguns – atļauts braukt, gatavojoties apstāties. Aizsprostluksoforā deg aizliedzošs signāls |
| 45. |
|
Normālā stāvoklī aizsprostluksoforu un to brīdinājuma luksoforu ugunis nedeg, un šiem luksoforiem signālnozīmes nav |
| 46. |
|
Vietās, kur dzelzceļa satiksmes drošību apdraud kādi apstākļi, var lietot aizsprosta luksoforus ar pastāvīgi degošu sarkanu uguni un atļaujošu baltu uguni |
| 47. | Ja tiek nodrošināta automātiska pārbrauktuves slēgšana luksofora bojājuma gadījumā, atļauts izmantot šī pielikuma 43. punktā minētos luksoforus pastāvīgas sarkanās uguns degšanas režīmā | |
| 48. | Aizsprostluksoforu un to brīdinājuma luksoforu mastus apzīmē ar melnu svītrojumu | |
| 49. | Aizsprostluksofori var tikt apvienoti ar manevru luksoforiem, t. sk. ar pundurluksoforiem | |
| 50. | Ja vilces līdzekļa vadītājs (mašīnists) saņem atļauju pabraukt garām luksoforam ar aizliedzošo signālu, vilces līdzekļa vadītājs, līdz vilces līdzeklis šķērso pārbrauktuvi, brauc ar ātrumu līdz 20 km/h un ir gatavs nekavējoties apturēt vilcienu, ja rodas šķērslis tālākai kustībai | |
|
Manevru luksofori |
||
| 51. |
|
Viena mēnessbalta uguns – atļauts veikt
manevrus. Atļauju izdarīt manevrus var dot ar signālu izejas vai maršruta luksoforā – viena mēnessbalta uguns un nodzēsta sarkanā uguns. Atļauju braukt garām izejas un maršruta luksoforiem, kuros ir sarkana uguns, manevru rajonā var dot arī ar signālu – viena mēnessbalta uguns grupas manevru luksoforos. Ar grupas manevru luksoforu, kas atļauj izdarīt manevrus noteiktā rajonā, var signalizēt gan vienā, gan abos virzienos. Stacijās, kur uz ieejas luksofora mastā ir novietots manevru luksofors, kas signalizē stacijas ass virzienā, manevrējošajam sastāvam atļauts izbraukt aiz stacijas robežas, ja šī luksofora signāls – viena mēnessbalta uguns – atļauj manevru kustību |
| 52. |
|
Divas mēnessbaltas ugunis – stacijā, kas aprīkota ar pārmiju un signālu elektrisko centralizāciju, atļauts izdarīt manevrus; ceļš, ko norobežo šis luksofors, ir brīvs |
| 53. |
|
Viena zila uguns – aizliegts veikt manevrus un manevru sastāvam braukt garām signālam |
| 54. |
|
Viena sarkana uguns – aizliegts veikt manevrus un manevru sastāvam braukt garām signālam. Manevru luksoforā zilas uguns vietā var lietot sarkanu uguni, ja luksofors nav novietots vilcienu kustības maršrutos |
| 55. | Stacijās laikā, kad neveic
manevrus, atļauts lietot arī pastāvīgi neieslēgtus manevru signālus,
kurus ieslēdz, veicot manevrus, vai kuri iedegas automātiski, ieslēdzot
aizsprostsignalizāciju uz apsargājamas pārbrauktuves. Ja maršruts ir sagatavots, bet manevru luksofora bojājuma vai izolētās pārmiju sekcijas aizņemtības dēļ tajā ir aizliedzošs signāls, pabraukt garām manevru luksoforam atļauts ar dzelzceļa infrastruktūras pārvaldītāja atbildīgā darbinieka rīkojumu, kuru nodod manevru vilces līdzekļa vadītājam (mašīnistam) pa radiosakariem vai ar manevru vadītāja starpniecību |
|
|
Uzkalna luksofori |
||
| 56. |
|
Viena zaļa uguns – atļauts nolaist vagonus no uzkalna ar noteikto ātrumu |
| 57. |
|
Viena dzeltena un viena zaļa uguns – atļauts nolaist vagonus no uzkalna ar ātrumu intervālā starp noteikto un samazināto ātrumu |
| 58. |
|
Viena dzeltena uguns – atļauts nolaist vagonus no uzkalna ar samazinātu ātrumu |
| 59. |
|
Viena sarkana uguns – Stāt! |
| 60. |
|
Viena sarkana uguns – Stāt! Iedegts baltas krāsas burts "A" maršruta rādītājā vienlaikus ar sarkano uguni – atstumt vagonus no uzkalna atpakaļ uz pieņemšanas parka ceļiem vai uz izvilkšanas ceļa |
| 61. | Ja uzkalna luksofora signāla redzamība nav nodrošināta, lai informētu vilces līdzekļa vadītāju (mašīnistu) par tā signālu, lieto atkārtojuma luksoforus vai uzkalnu automātisko lokomotīvju signalizāciju. Atkārtojuma luksofors un lokomotīvju luksofori signalizē ar tiem pašiem signāliem, ar kuriem signalizē uzkalna pamatluksofors | |
|
Lokomotīves luksofori |
||
| 62. |
|
Zaļa uguns – atļauts braukt ar noteikto ātrumu. Ceļa luksoforā, kuram tuvojas vilciens, deg zaļa, viena dzeltena mirgojoša vai viena zaļa mirgojoša, vai viena dzeltena un viena zaļa uguns |
| 63. |
|
Dzeltena uguns – atļauts braukt. Ceļa
luksoforā, kuram tuvojas vilciens, deg viena vai divas dzeltenas ugunis
vai citas ugunis, kas norāda novirzīšanos stacijā uz sānu ceļa. Vietās, kas noteiktas dzelzceļa infrastruktūras pārvaldītāja sarakstā, lokomotīves luksoforā zaļās uguns vietā drīkst lietot dzelteno |
| 64. |
|
Sarkandzeltena uguns – atļauts braukt, gatavojoties apstāties. Ceļa luksoforā, kuram tuvojas vilciens, deg sarkana uguns |
| 65. |
|
Sarkana uguns – lokomotīve pabrauca garām ceļa luksoforam ar sarkanu signālu iecirknī, kas aprīkots ar automātisko lokomotīvju signalizāciju |
| 66. |
|
Balta uguns – vilces līdzekļa automātiskās lokomotīvju signalizācijas ierīces ir ieslēgtas, bet signāli no ceļa ierīcēm uz vilces līdzekli netiek nodoti un vilces līdzekļa vadītājs (mašīnists) ņem vērā tikai ceļa luksoforu rādījumu |
|
Rādītāji un papildu zīmes |
||
| 67. |
|
Baltas krāsas gaismas maršruta rādītājs
(stāvokļa, ciparu vai burtu), kas izvietots uz luksofora masta vai uz
atsevišķa masta, norāda vilciena pieņemšanas ceļu vai vilciena un
manevru sastāva braukšanas virzienu. Baltas krāsas gaismas maršruta rādītājs, kas papildina izejas luksoforu, norāda: • ar ceļa bloķēšanas sistēmu aprīkotu atzarojumu (posmu), uz kuru nosūta vilcienu; • ar divpusēju automātiskās bloķēšanas sistēmu aprīkotā divceļu iecirknī vai ar bloķēšanas sistēmu aprīkotā daudzceļu posmā – norāda ceļu, uz kuru nosūta vilcienu. Vilciena pieņemšanas maršrutā uzstādīts baltas krāsas maršruta rādītājs ar iedegtu "S" burtu signalizē, ka vilcienu pieņem strupceļā, bet elektrificētajos iecirkņos šāds rādītājs ar "E" burtu signalizē, ka vilciena pieņemšanas maršruts ir elektrificēts. Ja ieejas (maršruta) luksoforā nedeg maršruta rādītājs, kas signalizē, ka vilciena pieņemšanas maršruts ir elektrificēts, vai tā signāls nav saprotams un elektriskā vilces līdzekļa vadītājs (mašīnists) nav brīdināts par vilciena pieņemšanas maršrutu, viņš, nepabraucot garām rādītājam, aptur vilcienu un noskaidro sagatavoto maršrutu. Ja ir bojāts izejas luksofora virziena baltas krāsas gaismas maršruta rādītājs, vilcienu nosūta atbilstoši izejas luksofora atļaujošam signālam un nepieciešamo informāciju vilces līdzekļa vadītājam (mašīnistam) paziņo, izmantojot radiosakarus |
| 68. |
|
Zaļas krāsas maršruta rādītājs – papildina
grupas izejas vai maršruta luksoforu un norāda ceļa numuru, no kura
vilcienam atļauts aizbraukt. Zaļas krāsas maršruta rādītājus lieto arī ceļa numura norādīšanai, no kura atļauts braukt manevru sastāvam, ja izejas vai maršruta luksoforā ir mēnessbalta uguns |
| 69. | Lēzeno pārmiju rādītājs
|
Viena zaļa spīdoša signālsvītra – norāda, ka vilciens brauc ar novirzi uz pārmijām, kas ļauj braukt uz sānu ceļu ar ātrumu 80 km/h |
| 70. | Attāluma, kas mazāks par bremzēšanas ceļu, rādītājs
|
Baltas krāsas gaismas rādītājs uz luksofora divu bultu veidā, bet uz brīdinājuma luksofora – rādītājs vienas bultas veidā iecirkņos ar trīszīmju signalizācijas automātiskās bloķēšanas sistēmu (ieejas, maršruta, izejas vai garāmejas) norāda, ka attālums starp galvenā ceļa blakus esošajiem luksoforiem ir mazāks par bremzēšanas ceļa garumu |
| 71. |
|
Gaismu atstarojoša signālzīme uz garāmejas luksofora masta norāda, ka luksofors atrodas pirms ieejas luksofora |
| 72. |
|
Luksofora novietojuma zīme luksoforam norāda uz sliežu ceļu, uz kuru attiecas luksofors |
| 73. |
|
Zīme "Luksofors nedarbojas" (uguns nodzēsta, un luksofors apzīmēts ar divām krustotām plankām) norāda, ka luksoforam signālnozīmes nav |
7. pielikums
Ministru kabineta
2023. gada 28. novembra
noteikumiem Nr. 680
Rokas signāli
| Nr. p. k. | Signāls | Apraksts | Ilustrācija | Rīcība |
| 1. | Vispārīgie signāli | |||
| 1.1. | Stāt! | Apstāšanās signālu vilces līdzekļa
vadītājam (mašīnistam) no vilciena padod šādi: dienā – sarkans atritināts signālkarodziņš; naktī – sarkana uguns signāllukturī. Ja nav attiecīgu signālierīču, signālu padod ar riņķveida kustību: dienā – ar dzeltenu signālkarodziņu vai ar kādu citu priekšmetu; naktī – ar signāllukturi neatkarīgi no uguns krāsas |
|
|
| 1.2. | Atļauts braukt ar samazinātu ātrumu | Dienā – dzeltens atritināts
signālkarodziņš, naktī – dzeltena uguns rokas signāllukturī vai ar rokas signāllukturi, kurā deg dzidri balta uguns, to lēni kustinot uz augšu un uz leju. Rokas signāllukturi ar dzeltenu uguni lieto tikai stacijas robežās, posmā naktī izmanto tikai rokas signāllukturi, kurā deg dzidri balta uguns, to lēni kustinot uz augšu un uz leju |
|
Atļauts braukt stacijā ar ātrumu, kas
norādīts brīdinājumā, bet, ja tāda nav, – ar ātrumu, ne lielāku par
25 km/h. Vilcienu stacijā pieņem uz sānu ceļa vai ar apstāšanos stacijā. Atļauts posmā braukt ar ātrumu, kas norādīts brīdinājumā, bet, ja tāda nav, – ar ātrumu, ne lielāku par 25 km/h |
| 1.3. | Atļauts braukt ar noteikto ātrumu | Dienā – saritināts dzeltens signālkarodziņš, naktī – rokas signāllukturis ar dzidri baltu uguni |
|
Posmā – ceļš ir brīvs. Stacijā – vilcienu
laiž garām pa galveno ceļu bez apstāšanās. Pārmijnieks un signālists no stacijas nosūtāmo vilcienu pavada ar šo signālu |
| 1.4. | Posmā ceļa un inženiertehnisko būvju apgaitnieks un pārbrauktuvju dežurants, ja ceļš ir brīvs, vilcienu sagaida ar attiecīgu rokas signālu. Vietā, kas norobežota ar ātruma samazināšanas vai apstāšanās signāliem, apgaitnieki un pārbrauktuvju dežuranti vilcienus gan dienā, gan naktī sagaida ar signāliem, kas atbilst uz ceļa uzstādītajiem signāliem | |||
| 2. | Kontakttīkla signāli | |||
| 2.1. | Nolaist strāvas noņēmēju! | Dienā – atkārtoti horizontāli kustinot sev
priekšā labo roku un turot vertikāli paceltu kreiso roku; naktī – atkārtoti vertikāli un horizontāli kustinot rokas signāllukturi ar dzidri baltu uguni |
|
Ja radies kontakttīkla bojājums, kas
nepieļauj elektriskajam ritošajam sastāvam braukt ar paceltu strāvas
noņēmēju, dzelzceļa speciālists, kas konstatējis šādu bojājumu, iet
500 m gaidāmā vilciena virzienā un padod vilces līdzekļa vadītājam rokas
signālu. Elektriskā vilciena vilces līdzekļa vadītājs (mašīnists), ieraugot rokas signālu "Nolaist strāvas noņēmēju!", padod vēstījuma signālu, atslēdz elektroķēdē strāvu, nolaiž strāvas noņēmējus un brauc garām kontakttīkla bojājuma vietai. Pārliecinājies par kontakttīkla veselumu, vilces līdzekļa vadītājs (mašīnists) paceļ strāvas noņēmējus un turpina gaitu |
| 3. | Manevru signāli | |||
| 3.1 | Manevros vilces līdzeklim atļauts braukt uz priekšu | Dienā – rokas kustība puslokā virs galvas
ar atritinātu dzeltenu signālkarodziņu; naktī – rokas kustība puslokā virs galvas ar rokas signāllukturi, kurā deg dzidri balta uguns |
|
|
| 3.2. | Manevros vilces līdzeklim atļauts braukt atpakaļ | Dienā – nolaistas rokas kustība puslokā
ķermeņa priekšā ar atritinātu dzeltenu signālkarodziņu; naktī – nolaistas rokas kustība puslokā ķermeņa priekšā ar rokas signāllukturi, kurā deg dzidri balta uguns |
|
|
| 3.3. | Manevros – Braukt lēnāk! | Dienā – lēna rokas kustība augšup un lejup
ar atritinātu dzeltenu signālkarodziņu; naktī – lēna rokas kustība augšup un lejup ar rokas signāllukturi, kurā deg dzidri balta uguns |
|
|
| 3.4. | Manevros – Stāt! | Dienā – riņķveida kustība ar roku vai
atritinātu sarkanu vai dzeltenu signālkarodziņu; naktī – riņķveida kustība ar signāllukturi neatkarīgi no signāla krāsas |
|
|
| 4. | Bremžu pārbaudes signāli | |||
| 4.1. | Prasība vilces līdzekļa vadītājam (mašīnistam) izdarīt pārbaudes bremzēšanu (pēc mutiska saskaņojuma) | Dienā – paceļot vertikāli roku virs galvas; naktī – paceļot vertikāli virs galvas rokas signāllukturi ar dzidri baltu uguni |
|
|
| 4.2. | Prasība vilces līdzekļa vadītājam (mašīnistam) atlaist bremzes | Dienā – kustinot horizontāli sev priekšā
roku no vienas puses uz otru; naktī – kustinot horizontāli sev priekšā rokas signāllukturi ar dzidri baltu uguni |
|
|
8. pielikums
Ministru kabineta
2023. gada 28. novembra
noteikumiem Nr. 680
Signālzīmju un signālrādītāju nozīme un uzstādīšanas nosacījumi
I. Signālzīmju un signālrādītāju nozīme
| Nr. p. k. | Signāls | Attēls | Skaidrojums |
| Vispārīgās zīmes un rādītāji | |||
| 1. | Stāt! |
|
Pārnēsājamās signālierīces šī signāla
padošanai ir taisnstūra formas signālzīme, kuras abas puses nokrāsotas
sarkanā krāsā vai arī viena puse sarkanā, bet otra – baltā krāsā. Tās
izvieto uz sliežu ceļa ass. Signāla padošanai var izmantot arī: • sarkanu uguni signāllukturī uz kārts; • sarkanu signālkarodziņu uz kārts. Vilces līdzekļa vadītājs (mašīnists) padod apstāšanās skaņas signālu un aptur vilcienu, nepabraucot garām sarkanajam signālam |
| 2. | Samazināt ātrumu! |
|
Pārnēsājamās signālierīces
šo signālu padošanai ir kvadrātveida signālzīmes, kuru viena puse ir
dzeltenā krāsā un otra puse – zaļā krāsā. Zaļās krāsas signālzīme vienceļa posmos atrodas kustības virziena kreisajā pusē Ja vilciens tuvojas dzeltenajam signālam, vilces līdzekļa vadītājs (mašīnists) dod vienu garu skaņas signālu ar vilces līdzekļa svilpi un brauc tā, lai ar signālzīmi "Bīstamās vietas sākums" norobežoto vietu pārbrauktu ar brīdinājumā norādīto ātrumu |
| 3. | Var braukt ar noteikto ātrumu |
|
|
| 4. | Bīstamās vietas sākums |
|
Vilcienu kustības ātrums nedrīkst
pārsniegt brīdinājumā norādīto ātrumu. Ja brīdinājumā nav norādīts
kustības ātrums, vilciena kustības ātrums starp signālzīmēm "Bīstamās
vietas sākums" un "Bīstamās vietas beigas" nepārsniedz 25 km/h
platsliežu dzelzceļa tīklā un 15 km/h – šaursliežu dzelzceļa tīklā. Braucot pa brīdinājumā norādīto vietu norādītajā laikā, brīdinājumā norādīto ātrumu ievēro arī tad, ja šīs signālzīmes uz ceļa nav izvietotas. Vilciena vilces līdzekļa vadītājs (mašīnists) par to paziņo vilcienu dispečeram vai posmu norobežojošās stacijas dežurantam |
| 5. | Bīstamās vietas beigas |
|
Signālzīmi "Bīstamās vietas beigas" izvieto pēc signālzīmes "Bīstamās vietas sākums otrā pusē". Vienceļa posmos atrodas kustības virziena kreisajā pusē |
| 6. | Ātruma zīme |
|
Ātruma signālzīme: • papildina signālzīmi "Bīstamās vietas sākums", norādot brīdinājumā noteikto ātrumu bīstamajā vietā; • uzstādīta bez signālzīmes "Bīstamās vietas sākums", posma un stacijas galvenajā ceļā informē par noteikto vilcienu kustības ātrumu. Ja ir uzstādītas divas ātruma signālzīmes, augšējā norāda ātrumu pasažieru vilcieniem, bet apakšējā – kravas vilcieniem |
| 7. | Svilpt! |
|
Signālzīmi "Svilpt! " uzstāda pirms tiltiem, pārbrauktuvēm, pārejām, pirms vietām ar sliktu redzamību un vietām, kur nepieciešams brīdināt ar vēstījuma signālu par ritošā sastāva tuvošanos |
| 8. | Ceļa aizsprosta rādītājs;
Stāt! |
|
Ceļa aizsprosta rādītājs
signalizē par aizsprostierīces stāvokli uz ceļa abām pusēm. Strupceļos uzstāda ceļa aizsprosta signālzīmi "Stāt!" uz strupceļa atbalsta atbalstbrusas labajā galā, un tā signalizē tikai uz ceļa pusi |
| 9. | Ceļa aizsprosta rādītājs;
Drīkst braukt |
|
|
| 10. | Kontrolstabiņa apzīmējums |
|
Kontrolstabiņu uzstāda vietā, kur attālums ir 4100 mm starp kopā saejošiem platsliežu dzelzceļa sliežu ceļiem vai attālums ir 3000 mm starp kopā saejošiem šaursliežu dzelzceļa sliežu ceļiem. Ceļa līknēs norādīto attālumu palielina, ievērojot būvju tuvinājuma gabarīta paplašinājumu |
| 11. | Pārmijas virziena rādītājs |
|
Necentralizētu pārmiju aprīko ar pārmiju
virziena rādītāju. Ja tas tehniski nav iespējams, pārmijai nodrošina
apgaismojumu. Centralizētu pārmiju ar pārmiju virziena rādītāju
neaprīko. Pārmiju virzienu rādītājam ir šādi signāli: • bultveida pārmiju virziena rādītājs ir vērsts ar šķautni taisnā ceļa virzienā – pārmija pārvesta uz taisno ceļu; • bultveida rādītājs ir vērsts ar šķautni sānceļa virzienā – pārmija pārvesta uz sānceļu |
| 12. | Stacijas robeža |
|
Signālzīme "Stacijas robeža" ar
uzrakstiem uz abām zīmes pusēm iecirknī norāda stacijas robežu. Stacijas
robeža: • vienceļa iecirknī ir ieejas luksofors vai signālzīme "Stacijas robeža"; • divceļu iecirknī katram galvenajam ceļam atsevišķi no vienas puses ir ieejas luksofors un no otras puses ir signālzīme "Stacijas robeža"; • ar divvirzienu automātiskās bloķēšanas sistēmu aprīkotā divceļu iecirknī atsevišķi katram galvenajam ceļam ir ieejas luksofori. Ieejas luksoforu un signālzīmi "Stacijas robeža" uzstāda ne tuvāk par 50 m no pirmās pārmijas, nosakot šo attālumu no pārmijas asmens, ja tā ir pretasmens pārmija, vai no kontrolstabiņa, ja tā ir paasmens pārmija, bet elektrificētos iecirkņos – pirms kontakttīkla sekcionēšanas vietas no posma puses |
| 13. | Pievedceļa robeža |
|
Pievedceļa pievienojumā signālzīme "Pievedceļa robeža" norāda pievedceļa infrastruktūras robežu, kas šo dzelzceļa infrastruktūru nodala no citas dzelzceļa infrastruktūras |
| 14. | Lokomotīves apstāšanās vieta |
|
Signālzīmes "Lokomotīves
apstāšanās vieta" un "Pirmā vagona apstāšanās vieta" norāda vietu, kurā
aptur vilcienu. Šīs signālzīmes dzelzceļa infrastruktūras pārvaldītājs uzstāda vietās, kuras saskaņo ar attiecīgo pārvadātāju |
| 15. | Pirmā vagona apstāšanās vieta |
|
|
| 16. | Ritekļu tehniskā stāvokļa kontroles ierīces signālrādītājs |
|
Ritekļu tehniskā stāvokļa kontroles
ierīces gaismas signālrādītāju novieto uz kontakttīkla balsta vai uz
atsevišķa masta. Signālrādītājs ar nepārtraukti degošu vai mirgojošu
V-veida baltu svītru norāda uz to, ka ritošā sastāva kontroles ierīces
ir konstatējušas bojājumu ritošajā sastāvā. Normālā stāvoklī gaismas
signālrādītājs nedeg, un tam nav signālnozīmes. Ja bukšu pārkaršanas signālrādītājā ir baltas krāsas signālsvītra mirgojošā degšanas režīmā, vilces līdzekļa vadītājs (mašīnists), plūdeni bremzējot, aptur vilcienu ceļa posmā un, ja iecirknis aprīkots ar automātiskās bloķēšanas sistēmu, paziņo par apstāšanos iepakaļ braucošo vilcienu vilces līdzekļu vadītājiem (mašīnistiem), apskata ritošo sastāvu un paziņo stacijas dežurantam (vilcienu dispečeram) par vilciena iebraukšanas iespēju stacijā vai pieprasa vagonu apskatītāju (lokomotīves remonta brigādi). Infrastruktūras pārvaldītājs nosaka dzelzceļa speciālistu rīcību, ja konstatē bojājumus ritekļu tehniskā stāvokļa kontroles ierīcēm |
| 17. | Gāzes cauruļvads |
|
500 m attālumā pirms vietām, kur dzelzceļa līniju šķērso naftas vai gāzes cauruļvads, uz kontakttīkla balstiem vai uz speciāliem balstiem 3 m augstumā no sliedes galviņas virsmas uzstāda signālzīmes "Gāzes cauruļvads" vai "Naftas cauruļvads". Vilces līdzekļa vadītājs (mašīnists) tuvojas šādai vietai un brauc pa to īpaši uzmanīgi |
| 18. | Naftas cauruļvads |
|
|
| 19. | Drošības postenis |
|
Signālzīme norāda vietu, kurā dzelzceļa infrastruktūras pārvaldītāja darbinieks vizuāli kontrolē, vai garāmbraucošajā vilcienā nav bojājumu, kas apdraud kustības drošību |
|
Bremžu pārbaudes zīmes |
|||
| 20. | Bremzēšanas sākums |
|
Bremžu pārbaudes zīmes
norāda bremžu pārbaudes vietu posmā. Bremzēšanas beigu zīmē skaitlis
apzīmē ātrumu, kādu, veicot pārbaudes bremzēšanu, vilciens ar pietiekamu
bremžu efektivitāti nedrīkst pārsniegt šajā vietā.
Šīs signālzīmes dzelzceļa infrastruktūras pārvaldītājs uzstāda vietās, kurās pieprasa attiecīgais pārvadātājs |
| 21. | Bremzēšanas beigas pasažieru vilcieniem |
|
|
| 22. | Bremzēšanas beigas kravas vilcieniem |
|
|
|
Kontakttīkla zīmes un rādītāji |
|||
| 23. | Uzmanību! Strāvas šķirtne |
|
Signālzīme brīdina par tuvošanos signālrādītājam "Nolaist strāvas noņēmēju!"; |
| 24. | Nolaist strāvas noņēmēju! |
|
Mirgojoša balta svītra signālrādītājā
pieprasa nolaist elektriskā ritošā sastāva strāvas noņēmējus un braukt
ar nolaistiem strāvas noņēmējiem. Normālā stāvoklī gaismas signālrādītājs nedeg, un tam nav signālnozīmes |
| 25. | Pacelt strāvas noņēmēju! |
|
Signālzīme norāda, ka vilciens ir pabraucis garām vietai, kurā brauc ar nolaistiem strāvas noņēmējiem |
| 26. | Kontakttīkla gaisa atstarpes sākuma balsta apzīmējums |
|
Lai norādītu kontakttīkla
gaisa atstarpes atrašanās vietu (neitrālā ieliktņa), uz kontakttīkla
piekares balstiem ir uzstādītas signālzīmes, kas ierobežo šīs gaisa
atstarpes. Signālzīmes var būt uzkrāsotas tieši uz kontakttīkla balstiem
vai arī uz atsevišķām plāksnītēm, kas nostiprinātas uz balstiem. Gaisa atstarpi elektriskais ritošais sastāvs šķērso ar ātrumu, ne mazāku par 20 km/h. Gaisa atstarpē elektriskajam ritošajam sastāvam aizliegts stāvēt ar paceltiem strāvas noņēmējiem |
| 27. | Kontakttīkla gaisa atstarpes balsta apzīmējums |
|
|
| 28. | Gatavoties nolaist strāvas noņēmēju! |
|
Signālzīme brīdina par tuvošanos signālzīmei "Nolaist strāvas noņēmēju!" |
| 29. | Nolaist strāvas noņēmēju! |
|
Signālzīme pieprasa nolaist elektriskā ritošā sastāva strāvas noņēmējus un braukt ar nolaistiem strāvas noņēmējiem |
| 30. | Pacelt strāvas noņēmēju! |
|
Signālzīme norāda, ka vilciens ir pabraucis garām vietai, kurā brauc ar nolaistiem strāvas noņēmējiem |
| 31. | Atslēgt strāvu! |
|
Signālzīme pieprasa izslēgt elektriskā ritošā sastāva strāvu un braukt ar izslēgtu strāvu |
| 32. | Ieslēgt strāvu elektrolokomotīvē! |
|
Signālzīme norāda, ka elektriskā lokomotīve ir pabraukusi garām vietai, kurā brauc ar izslēgtu strāvu |
| 33. | Ieslēgt strāvu elektrovilcienā! |
|
Signālzīme norāda, ka elektriskais vilciens ir pabraucis garām vietai, kurā brauc ar izslēgtu strāvu |
| 34. | Kontakttīkla piekares beigas |
|
Signālzīme norāda uz vietu, kurā izbeidzas kontakttīkls. Zīmi izvieto kontakttīkla beigās. Ja kontakttīkls izbeidzas strupceļā vienlaicīgi ar sliežu ceļu, šo signālzīmi neizvieto |
|
Zīmes, kuras izmanto iecirknī, kurā strādā sniegtīri |
|||
| 35. | Gatavoties naža pacelšanai un spārnu aizvēršanai! |
|
Signālzīme brīdina par tuvošanos
signālzīmei "Pacelt nazi, aizvērt spārnus!". Signālzīmi izmanto, ja sniegtīra kustības ātrums ir virs 50 km/h |
| 36. | Pacelt nazi, aizvērt spārnus! |
|
Signālzīmi uzstāda pirms šķēršļa, kuram sniegtīris nedrīkst braukt garām darba stāvoklī |
| 37. | Pacelt nazi, aizvērt spārnus! Vairāki šķēršļi |
|
Signālzīmi uzstāda pirms vairākiem secīgi izvietotiem šķēršļiem, kuram sniegtīris nedrīkst braukt garām darba stāvoklī |
| 38. | Nolaist nazi, atvērt spārnus! |
|
Signālzīme norāda, ka sniegtīris ir pabraucis garām šķērslim un drīkst turpināt kustību darba stāvoklī |
II. Signālzīmju un signālrādītāju uzstādīšanas nosacījumi
39. Signālzīmes pie platsliežu ceļa uzstāda tuvāk par 3100 mm no malējās ceļa ass un vilcienu kustības virziena labajā pusē. Divpusējās ceļa zīmes vienceļa posmos šajā pielikumā minētajos gadījumos un divceļu posmos, braucot pa nepareizo ceļu, atrodas vilcienu kustības kreisajā pusē. Uzstādot divpusējās ceļa zīmes, nodrošina to redzamību no abām pusēm.
40. Elektrificētos iecirkņos signālzīmes var novietot uz kontakttīkla balstiem (izņemot balstus, uz kuriem uzstādītas luksoforu galviņas, kompaktās transformatoru apakšstacijas, kontakttīkla atvienotāji un citas iekārtas).
41. Gaismas rādītāji ir skaidri saredzami vismaz 100 m attālumā.
III. Pastāvīgo un pagaidu zīmju uzstādīšana
| Nr. p. k. | Signālzīmes | Uzstādīšanas nosacījumi |
| 42. | "Nolaist strāvas noņēmēju", "Pacelt strāvas noņēmēju" un "Uzmanību! Strāvas šķirtne" |
|
| 43. | "Gatavoties nolaist strāvas noņēmēju", "Nolaist strāvas noņēmēju" un "Pacelt strāvas noņēmēju" |
|
| 44. | "Atslēgt strāvu", "Ieslēgt strāvu elektrolokomotīvē" un "Ieslēgt strāvu elektrovilcienā" |
|
| 45. | "Pacelt nazi, aizvērt spārnus" un "Nolaist nazi, atvērt spārnus" |
|
| 46. | "Pacelt nazi, aizvērt spārnus", "Nolaist nazi, atvērt spārnus" un "Gatavoties naža pacelšanai un spārnu aizvēršanai" |
|
9. pielikums
Ministru kabineta
2023. gada 28. novembra
noteikumiem Nr. 680
Signālierīču izvietojuma kārtība bīstamu vietu (šķēršļu) norobežošanai
| Nr. p. k. | Apraksts | Ilustrācija |
| 1. | Signālzīmju "Bīstamās vietas sākums",
"Bīstamās vietas beigas" un ātruma samazināšanas signālzīmju
uzstādīšanas shēma vienceļa posmā norādīta "a" zīmējumā; uz viena ceļa divceļu posmā – "b" zīmējumā; uz abiem ceļiem divceļu posmā – "c" zīmējumā |
|
| 2. | Šķēršļa vai darbu vietas norobežošanas
shēma vienceļa posmā norādīta "a" zīmējumā; uz viena ceļa divceļu posmā – "b" zīmējumā; uz abiem ceļiem divceļu posmā – "c" zīmējumā |
|
| 3. | Šķēršļa norobežošanas shēma pirms ieejas luksofora |
|
| 4. | Ja šķērslis dzelzceļa satiksmei radies
pēkšņi un vajadzīgo pārnēsājamo signālzīmju tā norobežošanai nav,
šķēršļa vietā nekavējoties uzstāda apstāšanās signālu: dienā – sarkanu signālkarodziņu; naktī – signāllukturi ar sarkanu gaismu |
|
| 5. | Tādas vietas norobežošana no stacijas puses, kur nepieciešama ātruma samazināšana |
|
| 6. | Ja ceļa darbu vietu nav nepieciešams norobežot ar apstāšanās vai ātruma samazināšanas signāliem, bet nepieciešams brīdināt darba vietā strādājošo par vilciena tuvošanos, šo vietu norobežo ar pārnēsājamām signālzīmēm vēstījuma signāla "Svilpe" padošanai. Šīs signālzīmes izvieto pie ceļa, uz kura notiek darbi, un pie katra galvenā ceļa, kas atrodas blakus šim ceļam. Posmā, kurā dzelzceļa satiksmes ātrums ir lielāks par 120 km/h, pārnēsājamās signālzīmes "Svilpe" uzstāda 800–1500 m attālumā no darbu veikšanas vietas robežas |
|
| 7. | Šķērsli vai darbu vietu norobežo ar
pārmijas (pārmiju) pārvešanu tādā stāvoklī, lai riteklis nevarētu tur
nokļūt ("a" zīmējums). Ja pārmiju asmeņi vērsti uz šķērsli vai darbu vietu un šo vietu nav iespējams norobežot ar pārmijas (pārmiju) pārvešanu tādā stāvoklī, lai riteklis nevarētu tur nokļūt, tādu vietu no abām pusēm norobežo ar pārnēsājamiem sarkaniem signāliem. Signālus izvieto 50 m attālumā no šķēršļa vai darbu vietas robežas ("b" zīmējums). Ja pārmiju asmeņi atrodas tuvāk par 50 m no šķēršļa vai darbu vietas, starp katras šādas pārmijas asmeņiem novieto pārnēsājamo sarkano signālu ("c" zīmējums) |
|
| 8. | Ja šķērsli vai darbu vietu uz pārmijas
norobežo ar pārnēsājamiem sarkaniem signāliem, tos novieto no pārmijas
krusteņa puses pretī kontrolstabiņam uz abu pārmijas saejošo ceļu asīm,
bet no asmens puses – 50 m attālumā no tiem ("a" zīmējums). Ja pārmiju nav iespējams pārvest tādā stāvoklī, lai riteklis nevarētu nokļūt uz šķērsli vai darbu vietu, 50 m attālumā no šķēršļa vai darbu vietas šādas pārmijas virzienā novieto pārnēsājamo sarkano signālu ("a" zīmējums). Ja pārmijas tuvumā, kuru nepieciešams norobežot, atrodas cita pārmija, kuru var pārvest tādā stāvoklī, lai riteklis nevarētu nokļūt tur, šo pārmiju pārved un noslēdz tādā stāvoklī un no izolējošās pārmijas puses nenovieto pārnēsājamo sarkano signālu ("b" zīmējums). Ja šķērslis vai darbu vieta atrodas uz stacijas ieejas pārmijas, no posma puses to norobežo, ieejas luksoforā ieslēdzot aizliedzošu signālu, bet no stacijas puses – ar pārnēsājamiem sarkaniem signāliem, kurus novieto pretī kontrolstabiņam uz abu pārmijas saejošo ceļu asīm ("c" zīmējums). Ja šķērslis vai darbu vieta atrodas starp stacijas ieejas pārmiju un ieejas luksoforu, no posma puses to norobežo, ieejas luksoforā ieslēdzot aizliedzošu signālu, bet no stacijas puses – ar pārnēsājamo sarkano signālu, kuru novieto starp ieejas pārmijas asmeņiem ("d" zīmējums). Ja ieejas luksoforā nav iespējams ieslēgt aizliedzošu signālu vai ieejas luksofora nav ("c" un "d" zīmējums), no posma puses šķērsli vai darbu vietu norobežo, pretī ieejas luksofora ordinātai novietojot pārnēsājamu sarkanu signālu |
|
| 9. | Vietas stacijās uz galvenā ceļa, kur nepieciešama ātruma samazināšana, norobežo ar pārnēsājamiem ātruma samazināšanas signāliem un signāliem "Bīstamās vietas sākums" un "Bīstamās vietas beigas" |
|
| 10. | Ja vieta, kur nepieciešama ātruma
samazināšana, atrodas uz stacijas ceļa (izņemot galveno), to norobežo
tikai ar pārnēsājamiem ātruma samazināšanas signāliem. Signālus novieto
pretī tās pārmijas asmens sākumam, kas ved uz šo ceļu ("a" zīmējums). Ja atstarpe starp blakus esošo ceļu asīm ir mazāka par 5,45 m un pārnēsājamo ātruma samazināšanas signālu nevar uzstādīt ceļa labajā pusē, to uzstāda ceļa kreisajā pusē ("b" zīmējums) |
|
| 11. | Attālums (A) no signālzīmēm "Bīstamās vietas sākums" un "Bīstamās vietas beigas" līdz ātruma samazināšanas signāliem ir ne mazāks kā 1000 m, un attālums (B) no pārnēsājamiem sarkaniem signāliem un no vietas, kur pēkšņi radies šķērslis, līdz signālistam ar sarkanu rokas signālu ir ne mazāks kā 1200 m. Ņemot vērā sliežu ceļu kritumus un vilcienu kustības maksimālos ātrumus, dzelzceļa infrastruktūras pārvaldītājs var noteikt lielākus attālumus (A) un (B) | |