
Ministru kabineta noteikumi: Šajā laidienā 1 Pēdējās nedēļas laikā 40 Visi
Ministru kabineta noteikumi Nr.388
Rīgā 2014.gada 8.jūlijā (prot. Nr.38 17.§)
Elektrisko un elektronisko iekārtu kategorijas un marķēšanas prasības un šo iekārtu atkritumu apsaimniekošanas prasības un kārtība
Izdoti saskaņā ar Atkritumu apsaimniekošanas likuma
24.panta pirmo daļu un 29. panta 1., 2., 3. un 4. punktu
I. Vispārīgie jautājumi
1. Noteikumi nosaka:
1.1. elektrisko un elektronisko iekārtu (turpmāk – iekārtu) kategorijas (1. un 2. pielikums);
1.2. iekārtu marķēšanas prasības;
1.3. prasības, kas jāievēro, sniedzot informāciju patērētājiem un iekārtu atkritumu apstrādes, atkārtotas izmantošanas, pārstrādes un reģenerācijas iekārtu operatoriem, kā arī prasības attiecībā uz sabiedrības un Eiropas Komisijas informēšanu;
1.4. iekārtu atkritumu savākšanas un apstrādes prasības;
1.5. iekārtu atkritumu savākšanas, atkārtotas izmantošanas, pārstrādes un reģenerācijas apjomus un termiņus, kā arī kārtību, kādā sniedzams ziņojums par šo darbu izpildi.
2. Noteikumos ir lietoti šādi termini:
2.1. lielizmēra stacionārie rūpnieciskie mehānismi – mehānismu, iekārtu vai komponentu lielizmēra agregāti, kuri darbojas konkrētā nolūkā, kurus noteiktā vietā pastāvīgai lietošanai uzstāda un izjauc speciālisti un kurus rūpnieciskā ražotnē vai pētniecības un izstrādes objektā izmanto un apkalpo speciālisti;
2.2. lielizmēra stacionāra iekārta – dažādu aparātu un attiecīgos gadījumos citu ierīču lielizmēra savienojums, ko montē, uzstāda un izjauc speciālisti un kas kā ēkas vai struktūras daļa paredzēts pastāvīgai lietošanai iepriekš noteiktā un izraudzītā vietā, un ko var aizstāt tikai ar tādu pašu īpaši konstruētu iekārtu;
2.3. autoceļiem neparedzēta mobila tehnika – tehnika ar iebūvētu piedziņu, kuras ekspluatācija darba laikā paredz mobilitāti un nepārtrauktu vai daļēji nepārtrauktu kustību starp konkrētām fiksētām darba vietām;
2.4. medicīniskās ierīces – medicīniskās ierīces atbilstoši normatīvajiem aktiem par ārstniecību, kas ir uzskatāmas par iekārtām;
2.5. in vitro diagnostikas medicīniskās ierīces – in vitro diagnostikas medicīniskās ierīces atbilstoši normatīvajiem aktiem par medicīnisko ierīču reģistrācijas, atbilstības novērtēšanas, izplatīšanas, ekspluatācijas un tehniskās uzraudzības kārtību, kas ir uzskatāmas par iekārtām;
2.6. aktīvas implantējamas medicīniskās ierīces – aktīvas implantējamas medicīniskās ierīces atbilstoši normatīvajiem aktiem par medicīnisko ierīču reģistrācijas, atbilstības novērtēšanas, izplatīšanas, ekspluatācijas un tehniskās uzraudzības kārtību, kas ir uzskatāmas par iekārtām;
2.7. atdalīšana – manuāla, mehāniska, ķīmiska vai metalurģiska iekārtu atkritumu apstrāde, kuras rezultātā rodas identificējama iekārtu atkritumos esošo bīstamo vielu, maisījumu un komponentu plūsma vai arī tiek nodrošināta iespēja identificēt iekārtu atkritumos esošās bīstamās vielas, maisījumus un komponentus iekārtu atkritumu apstrādes procesā. Vielu, maisījumu vai komponentu uzskata par identificējamu, ja ir iespējams veikt tā monitoringu, lai pārliecinātos par to, vai iekārtu atkritumu apstrāde notiek videi drošā veidā.
3. Noteikumi neattiecas uz:
3.1. iekārtām, kuras tiek izmantotas valsts drošības interešu aizsardzībai un militāriem mērķiem, kā arī uz ieročiem, munīciju un citām specifiskām militārām iekārtām;
3.2. iekārtām, kuras ir īpaši paredzētas un uzstādītas kā tādu iekārtu sastāvdaļa, kuras neietilpst šo noteikumu 1. pielikumā vai 2. pielikumā minētajās kategorijās un kuras var funkcionēt vienīgi kā šādu iekārtu sastāvdaļa;
3.3. kvēlspuldzēm.
II. Iekārtu kategorijas un prasības iekārtu marķēšanai un informācijas sniegšanai
4. Iekārtu ražotājs savā mājaslapā internetā un mājsaimniecībā lietojamo iekārtu tirdzniecības vietās patērētājiem norāda iekārtu atkritumu savākšanas vai nodošanas iespējas, kā arī informāciju par citu ražotāju vai videi kaitīgo preču atkritumu apsaimniekotāju izveidotajiem iekārtu atkritumu savākšanas vai pieņemšanas punktiem.
5. Iekārtas ražotājs mājsaimniecībā lietojamo iekārtu instrukcijā patērētajiem norāda šādu informāciju:
5.1. prasības patērētājiem savākt vai nodot iekārtu atkritumus atsevišķi no citiem sadzīves atkritumiem;
5.2. patērētāju pienākumus iekārtu atkritumu atkārtotas izmantošanas, pārstrādes un citu veidu reģenerācijas veicināšanai;
5.3. iekārtās esošo bīstamo vielu iespējamo ietekmi uz vidi, cilvēku dzīvību un veselību;
5.4. iekārtu marķējuma simbola (3. pielikums) nozīmi.
6. Papildus normatīvajos aktos par atbilstības novērtēšanu noteiktajām marķēšanas prasībām, kas attiecas uz iekārtām, ražotājs marķē iekārtas saskaņā ar šo noteikumu 3. pielikumu un ievērojot standartus par iekārtu marķēšanu. Marķējumā saskaņā ar standartiem par iekārtu marķēšanu norāda, ka iekārta ir laista tirgū pēc 2005. gada 13. augusta. Marķējumu izvieto uz iekārtas redzamā vietā. Marķējumam jābūt viegli salasāmam un neizdzēšamam. Ja iekārtu tās izmēra vai funkciju dēļ nav iespējams marķēt, marķējumu izvieto uz iekārtas iepakojuma, garantijas talona un norāda lietošanas instrukcijā.
7. Gada laikā pēc katras jauna veida iekārtas piedāvāšanas tirgū tās ražotājs operatoriem, kas veic iekārtu sagatavošanu atkārtotai izmantošanai, iekārtu atkritumu apstrādi, pārstrādi vai reģenerāciju, bez maksas elektroniski vai rokasgrāmatu veidā nosūta šādu informāciju:
7.1. iekārtu sagatavošana atkārtotai izmantošanai un šo iekārtu atkritumu pārstrādes vai reģenerācijas nosacījumi atbilstoši šajos noteikumos minētajām prasībām;
7.2. iekārtas sastāvā esošie materiāli, vielas un sastāvdaļas;
7.3. bīstamo ķīmisko vielu un maisījuma izvietojums iekārtās.
III. Iekārtu atkritumu savākšanas un apstrādes prasības
8. Šo noteikumu 22. punktā minētās personas un atkritumu apsaimniekotāji nodrošina, ka iekārtu atkritumus savāc atsevišķi no citiem sadzīves un bīstamajiem atkritumiem un nodrošina visu savākto atkritumu pienācīgu apstrādi. Iekārtu atkritumus savāc un pārvadā tā, lai tiktu veicināta veselu iekārtu vai tajās esošo komponentu atkārtota izmantošana un pārstrāde, it īpaši attiecībā uz temperatūras maiņas iekārtām, kurās izmantotas ozonu noārdošas vielas un fluorētas siltumnīcefekta gāzes, dienasgaismas spuldzēm, kurās ir dzīvsudrabs, fotoelementu paneļiem un mazām iekārtām atbilstoši šo noteikumu 2. pielikuma 5. un 6. punktam.
9. Lai nodrošinātu iekārtu atkritumu sagatavošanu atkārtotai izmantošanai, iekārtu atkritumu savākšanas punkta operators nodrošina, ka:
9.1. pirms iekārtu atkritumu nosūtīšanas turpmākai apstrādei no atkritumiem tiek nodalīti tādi atkritumi, kuri ir piemēroti sagatavošanai turpmākai izmantošanai;
9.2. šo noteikumu 9.1. apakšpunktā minētie atkritumi par atlīdzību vai bez atlīdzības tiek nodoti komersantiem, kas veic iekārtu atkritumu sagatavošanu atkārtotai izmantošanai.
10. Operators iekārtu atkritumu savākšanas punktā vai iekārtu izplatītājs, kad tas piegādā jaunu iekārtu, var atteikties pieņemt iekārtu atkritumus, kuri iekārtās esošo piesārņojošo vielu dēļ rada risku iekārtu atkritumu savākšanas punkta darbiniekiem vai darbiniekiem, kuri piegādā jaunu iekārtu.
11. Šo noteikumu 10. punktā minēto iekārtu atkritumus apsaimnieko atbilstoši šo noteikumu 18. punktam.
12. Pirms jebkuras darbības, kas tiek veikta iekārtu atkritumu uzglabāšanas (arī īslaicīgas uzglabāšanas) vietās, lai šo atkritumu ķīmiskās vielas un sastāvdaļas atdalītu, izjauktu, sasmalcinātu, kā arī sagatavotu pārstrādei vai apglabāšanai (turpmāk – apstrāde), operators ierīko:
12.1. ūdeni un piesārņojošas vielas necaurlaidīgu pretinfiltrācijas segumu;
12.2. pret nokrišņiem izturīgu pārsegumu;
12.3. virszemes noteces savākšanas iekārtas un eļļas uztvērējus, ja attiecīgajā uzglabāšanas vietā ir paredzēts uzglabāt iekārtu atkritumus, no kuriem ir iespējama eļļu izdalīšanās.
13. Lai nodrošinātu visu savākto iekārtu atkritumu pienācīgu apstrādi – visu iekārtu atkritumos esošo šķidrumu izvadīšanu no iekārtu atkritumiem un to apstrādi atbilstoši šo noteikumu 14. punktā minētajām prasībām pirms to turpmākās sagatavošanas atkārtotai izmantošanai − iekārtu atkritumu apstrādes iekārtās (turpmāk – apstrādes iekārtas), operators ierīko:
13.1. svarus iekārtu atkritumu masas noteikšanai;
13.2. ūdeni un piesārņojošās vielas necaurlaidīgu pretinfiltrācijas segumu ar virszemes noteces savākšanas iekārtām un, ja nepieciešams, ar eļļu uztvērējiem, kā arī pret nokrišņiem izturīgu pārsegumu vietās, kurās tiek uzglabāti un apstrādāti iekārtu atkritumi;
13.3. piemērotas vietas atdalīto sastāvdaļu uzglabāšanai;
13.4. piemērotas tvertnes bateriju un akumulatoru, polihlorētos bifenilus un polihlorētos terfenilus saturošu kondensatoru un citu bīstamo atkritumu, kā arī radioaktīvo atkritumu uzglabāšanai;
13.5. notekūdeņu novadīšanas un attīrīšanas sistēmas.
14. Apstrādes iekārtu operators nodrošina šādu apstrādes iekārtās nogādāto atsevišķi savākto iekārtu atkritumu sastāvā esošo vielu un sastāvdaļu atdalīšanu:
14.1. polihlorētos bifenilus (PHB) saturoši kondensatori;
14.2. detaļas, kurās ir dzīvsudrabs (arī dzīvsudrabu saturoši releji, slēdži vai izgaismošanas spuldzes);
14.3. baterijas un akumulatori;
14.4. mobilo telefonu un citu iekārtu iespiesto shēmu plates, ja iespiestās shēmas plates virsma ir lielāka par 10 cm2;
14.5. šķidrā un pastveida tonera, kā arī krāsu tonera kasetnes;
14.6. plastmasa, kura satur bromētas, liesmu slāpējošas ķīmiskas vielas vai ķīmiskus produktus;
14.7. azbesta atkritumi un azbestu saturošas sastāvdaļas;
14.8. katodstaru lampas;
14.9. hlorfluorogļūdeņraži (freoni, CFC), daļēji halogenēti hlorfluorogļūdeņraži (HCFC) vai fluorogļūdeņraži (HFC), ogļūdeņraži (HC);
14.10. gāzizlādes spuldzes;
14.11. šķidro kristālu displeji (arī kopā ar apvalku), ja to virsma pārsniedz 100 cm2, un displeji, ko izgaismo ar gāzizlādes spuldzēm;
14.12. ārējie elektriskie kabeļi;
14.13. detaļas, kurās ir ugunsizturīgas keramikas šķiedras;
14.14. detaļas, kuras satur radioaktīvas vielas (izņemot detaļas, ar kurām drīkst veikt darbības bez speciālās atļaujas (licences) vai atļaujas darbībām ar jonizējošā starojuma avotiem);
14.15. elektrolītus saturoši kondensatori (augstums > 25 mm, diametrs > 25 mm vai proporcionāli līdzīgs tilpums).
15. Apstrādes iekārtu operators nodrošina šādu atsevišķi savākto iekārtu atkritumu apstrādi:
15.1. fluorescējošā slāņa atdalīšanu no katodstaru lampām;
15.2. tādu ozona slāni noārdošo gāzu vai siltumnīcas efekta gāzu izvadīšanu no iekārtām, iekārtu putām un kontūriem, kuru globālās sasilšanas potenciāls ir lielāks par 15, un ozona slāni noārdošo gāzu apstrādi atbilstoši Eiropas Parlamenta un Padomes 2009. gada 16. septembra Regulai (EK) Nr. 1005/2009 par ozona slāni noārdošām vielām;
15.3. dzīvsudraba atdalīšanu no gāzizlādes spuldzēm.
16. Apstrādes iekārtu operators nodrošina savākto iekārtu atkritumu apstrādi tā, lai tiktu nodrošināta iekārtu vai to sastāvdaļu sagatavošana atkārtotai izmantošanai vai pārstrāde videi drošā veidā.
17. Apstrādes iekārtu operators nodrošina, ka iekārtu atkritumu sastāvā esošos materiālus un sastāvdaļas, pēc kuru sasmalcināšanas var rasties bīstamie atkritumi, atdala un uzglabā atsevišķi.
18. Iekārtu atkritumus, kas ir bīstami vai radioaktīvi, nodod operatoriem, kuri ir saņēmuši atļauju bīstamo vai radioaktīvo atkritumu pārstrādei vai apglabāšanai.
19. Apstrādes iekārtu operators nodrošina, ka bīstamie atkritumi, kuri radušies iekārtu atkritumu apstrādē, tiek uzskaitīti atbilstoši bīstamo atkritumu uzskaiti regulējošajiem normatīvajiem aktiem.
20. Ja apstrādes iekārtas operators iekārtu atkritumus vai citus atkritumus, kas radušies pēc apstrādes iekārtas darbības, tajā skaitā bīstamos vai radioaktīvos atkritumus, negatavo atkārtotai izmantošanai, reģenerācijai vai apglabāšanai vai neveic notekūdeņu attīrīšanu, tas pēc vides valsts inspektora pieprasījuma uzrāda līgumus:
20.1. par atkritumu nodošanu, lai tie tiktu sagatavoti atkārtotai izmantošanai, reģenerācijai vai apglabāšanai;
20.2. par notekūdeņu attīrīšanu;
20.3. par eļļainu notekūdeņu attīrīšanu.
21. Valsts vides dienesta reģionālā vides pārvalde vismaz reizi gadā pārbauda apstrādes iekārtu darbības atbilstību vides aizsardzību regulējošo normatīvo aktu prasībām un atļaujas nosacījumiem. Valsts vides dienests katru gadu līdz 1. maijam iesniedz Vides aizsardzības un reģionālās attīstības ministrijā pārskatu par veiktajām apstrādes iekārtu pārbaudēm.
IV. Iekārtu atkritumu savākšanas, atkārtotas izmantošanas, pārstrādes un reģenerācijas apjomi un termiņi
22. Iekārtu atkritumu savākšanas, atkārtotas izmantošanas, pārstrādes un reģenerācijas apjomu izpildi šajos noteikumos noteiktajos termiņos nodrošina:
22.1. iekārtu ražotāji vai to pilnvaroti pārstāvji;
22.2. iekārtu atkritumu apsaimniekotāji, kas izveidoti atbilstoši normatīvajiem aktiem par atkritumu apsaimniekošanu.
23. Šo noteikumu 22. punktā minētās personas atbilstoši normatīvajiem aktiem par atbrīvojumu no dabas resursu nodokļa samaksas par videi kaitīgām precēm bez maksas sniedz informāciju Vides aizsardzības un reģionālās attīstības ministrijas padotībā esošai iestādei par dalīti savākto iekārtu atkritumu daudzumiem (tajā skaitā par iekārtu atkritumu daudzumiem, kas savākti iekārtu atkritumu savākšanas punktos, iekārtu atkritumu apstrādes iekārtās, nodoti atpakaļ iekārtu izplatītājiem).
24. Šo noteikumu 22. punktā minētās personas katru gadu nodrošina apstrādes iekārtās nogādāto un pienācīgi apstrādāto iekārtu atkritumu reģenerāciju, atkārtotu izmantošanu un pārstrādi atbilstoši šo noteikumu 4. pielikumā minētajiem apjomiem un termiņiem, izmantojot labākās pieejamās tehnoloģijas.
25. Reģenerēto, pārstrādāto, atkārtoti izmantoto un atkārtotai izmantošanai sagatavoto iekārtu atkritumu apjomu nosaka procentos kā attiecību starp dalīti savākto iekārtu atkritumu svaru attiecīgajā iekārtu kategorijā un to pienācīgi apstrādāto attiecīgās kategorijas iekārtu atkritumu vidējo svaru, kuras nogādātas atkritumu apstrādes iekārtās iepriekšējā gadā, neietverot iekārtu atkritumu apjomus, kuri ir šķiroti vai kuri ir uzglabāti pirms tālākās reģenerācijas.
26. Šo noteikumu 22. punktā minētās personas nodrošina, lai, sasniedzot šo noteikumu 39. punktā minētos mērķus, veselu iekārtu atkārtota izmantošana tiktu veikta prioritāri.
27. Lai varētu pierādīt iekārtu atkritumu savākšanas, pārstrādes, atkārtotas izmantošanas un reģenerācijas apjomu, šo noteikumu 22. punktā minētās personas, noslēdzot attiecīgus līgumus ar iekārtu atkritumu savākšanas vietu, apstrādes iekārtu, pārstrādes vai reģenerācijas iekārtu operatoriem, kā arī operatoriem, kas sagatavo iekārtu atkritumus atkārtotai apstrādei, nodrošina, ka iekārtu atkritumu, to sastāvdaļu, materiālu un vielu masa tiek noteikta un reģistrēta tad, kad šie atkritumi tiek izvesti no to savākšanas vietām, nogādāti apstrādes iekārtās un izvesti no apstrādes iekārtām, un tad, kad iekārtu atkritumi tiek nogādāti pārstrādes vai reģenerācijas iekārtās vai iekārtās, kur iekārtu atkritumus sagatavo atkārtotai izmantošanai, un tiek izvesti no minētajām iekārtām.
28. Iekārtu atkritumu apstrādi var veikt citā Eiropas Savienības dalībvalstī vai ārpus Eiropas Savienības, nodrošinot, ka iekārtu atkritumi tiek pārvadāti atbilstoši normatīvajiem aktiem par atkritumu sūtījumiem, Eiropas Parlamenta un Padomes 2006. gada 14. jūnija Regulai Nr. 1013/2006 par atkritumu sūtījumiem, Eiropas Komisijas 2007. gada 29. novembra Regulai Nr. 1418/2007 par Eiropas Parlamenta un Padomes Regulas Nr. 1013/2006 III vai IIIA pielikumā uzskaitītu dažu atkritumu eksportu reģenerācijai uz valstīm, uz kurām neattiecas Ekonomiskās sadarbības un attīstības organizācijas Lēmums par atkritumu pārrobežu pārvietošanas kontroli, un 1989. gada 22. marta Bāzeles konvencijai par kontroli pār kaitīgo atkritumu robežšķērsojošo transportēšanu un to aizvākšanu. Ārpus Eiropas Savienības eksportēto iekārtu atkritumu masu ieskaita savākšanas, atkārtotas izmantošanas, reģenerācijas un pārstrādes apjomā, ja eksportētājs var pierādīt, ka šo iekārtu atkritumu sagatavošana atkārtotai izmantošanai, pārstrāde vai reģenerācija importētājā valstī ir notikusi atbilstoši prasībām, kas ir līdzvērtīgas šajos noteikumos minētajām prasībām.
V. Ziņojums par iekārtu atkritumu savākšanas, atkārtotas izmantošanas, pārstrādes un reģenerācijas apjomiem
29. Iekārtu ražotājs, tā pilnvarots pārstāvis vai iekārtu atkritumu apsaimniekotājs (ja iekārtu ražotājs vai tā pilnvarots pārstāvis ar iekārtu atkritumu apsaimniekotāju ir noslēdzis attiecīgu līgumu) iesniedz elektrisko un elektronisko iekārtu ražotāju reģistrā:
29.1. līdz kārtējā gada 30. aprīlim, 30. jūlijam, 30. oktobrim un nākamā gada 30. janvārim – ziņojumu par ražotāja Latvijas tirgū laisto iekārtu daudzumu (5. pielikums);
29.2. līdz kārtējā gada 30. oktobrim un līdz nākamā gada 30. aprīlim – ziņojumu par dalīti savākto iekārtu atkritumu daudzumu, kā arī par to iekārtu atkritumu daudzumu, kuri apstrādāti Latvijā vai izvesti apstrādei ārpus Latvijas, un par atkārtoti izmantoto, pārstrādāto un reģenerēto iekārtu atkritumu daudzumu (6. pielikums).
30. Iekārtu ražotāji, kas piegādā iekārtas, izmantojot distances līgumu, vai to pilnvaroti pārstāvji līdz kārtējā gada 30. aprīlim, 30. jūlijam, 30. oktobrim un nākamā gada 30. janvārim iesniedz elektrisko un elektronisko iekārtu ražotāju reģistrā ziņojumu par Eiropas Savienības dalībvalstu tirgos piedāvāto iekārtu daudzumu (7. pielikums). Minēto informāciju iesniedz par katru Eiropas Savienības dalībvalsti atsevišķi. Informāciju par Latvijas tirgū piedāvāto iekārtu daudzumu iesniedz atbilstoši šo noteikumu 5. pielikumam.
31. Ja šo noteikumu 29. vai 30. punktā minētos ziņojumus iekārtu ražotāju reģistrā atbilstoši normatīvajiem aktiem par iekārtu ražotāju un bateriju vai akumulatoru ražotāju reģistrācijas kārtību un samaksu par datu uzturēšanu iesniedz iekārtu atkritumu apsaimniekotājs, minētos ziņojumus iesniedz atsevišķi par katru iekārtu ražotāju vai tā pilnvarotu pārstāvi, kurš ar iekārtu atkritumu apsaimniekotāju ir noslēdzis attiecīgu līgumu par iekārtu atkritumu apsaimniekošanu.
32. Vides aizsardzības un reģionālās attīstības ministrija vai tās pilnvarota institūcija katru gadu apkopo informāciju, veicot attiecīgus aprēķinus, par:
32.1. šo noteikumu 22.1. apakšpunktā minēto personu un citu personu Latvijas tirgū laisto iekārtu daudzumiem un kategorijām;
32.2. šo noteikumu 22. punktā minēto personu un citu personu Latvijā apstrādāto, atkārtotai izmantošanai sagatavoto, pārstrādāto un reģenerēto iekārtu atkritumu daudzumiem un kategorijām;
32.3. šo noteikumu 22. punktā minēto personu un citu personu dalīti savākto iekārtu atkritumu eksportu.
33. Vides aizsardzības un reģionālās attīstības ministrija vai tās pilnvarota institūcija reizi trijos gados nosūta Eiropas Komisijai ziņojumu (atbilstoši Eiropas Komisijas noteiktajam paraugam) par iekārtu atkritumu apsaimniekošanu. Ziņojumu nosūta 18 mēnešu laikā pēc tajā norādītā laikposma beigām. Ziņojumā iekļautā informācija ir brīvi pieejama sabiedrībai.
34. Vides aizsardzības un reģionālās attīstības ministrija pēc pieprasījuma informē citas Eiropas Savienības dalībvalstis par Latvijā no Eiropas Savienības dalībvalstīm ievesto iekārtu atkritumu apsaimniekošanu, apstrādi, pārstrādi un reģenerāciju, nodrošinot piekļuvi attiecīgajai informācijai un dokumentiem (tai skaitā veikto pārbaužu rezultātiem), izmantojot arī elektroniskās saziņas līdzekļus un ievērojot normatīvos aktus par personas datu aizsardzību.
VI. Noslēguma jautājumi
35. Atzīt par spēku zaudējušiem:
35.1. Ministru kabineta 2011. gada 8. novembra noteikumus Nr. 861 "Noteikumi par elektrisko un elektronisko iekārtu kategorijām un par prasībām elektrisko un elektronisko iekārtu marķēšanai un informācijas sniegšanai" (Latvijas Vēstnesis, 2011, 178. nr.);
35.2. Ministru kabineta 2011. gada 22. novembra noteikumus Nr. 897 "Elektrisko un elektronisko iekārtu atkritumu apsaimniekošanas noteikumi" (Latvijas Vēstnesis, 2011, 193. nr.).
36. Līdz 2018. gada 14. augustam iekārtas iedala atbilstoši šo noteikumu 1. pielikumā minētajām iekārtu kategorijām un veidiem. No 2018. gada 15. augusta visas iekārtas iedala atbilstoši šo noteikumu 2. pielikumam.
37. No 2018. gada 15. augusta noteikumi neattiecas uz:
37.1. šo noteikumu 3. punktā minētajām iekārtām;
37.2. iekārtām, kas paredzētas sūtīšanai kosmosā;
37.3. lielizmēra stacionāriem rūpnieciskiem mehānismiem;
37.4. lielizmēra stacionārām iekārtām, izņemot ierīces šādās iekārtās, kas nav paredzētas un uzstādītas kā šo iekārtu sastāvdaļas;
37.5. pasažieru vai kravas transportlīdzekļiem, izņemot neapstiprināta tipa elektriskos transportlīdzekļus ar diviem riteņiem;
37.6. autoceļiem neparedzētu mobilo tehniku, kas paredzēta tikai profesionālām vajadzībām;
37.7. iekārtām, kas ir īpaši paredzētas pētniecības un izstrādes vajadzībām un ir pieejamas tikai komersantiem;
37.8. medicīnas ierīcēm un medicīnas ierīcēm, ko lieto in vitro diagnostikā, ja ir paredzams, ka šīs ierīces var būt infekciozas pirms to aprites cikla beigām, un aktīvām implantējamām medicīnas ierīcēm.
38. Šo noteikumu 5. un 6. punkts attiecas uz iekārtām, kas laistas tirgū pēc 2005. gada 13. augusta.
39. Līdz 2015. gada 31. decembrim mājsaimniecības iekārtu atkritumu savākšanas apjomam gadā jābūt vismaz četriem kilogramiem atkritumu uz iedzīvotāju.
40. Šo noteikumu 22. punktā minētās personas nodrošina, ka:
40.1. no 2016. gada 1. janvāra līdz 2021. gada 14. augustam tiek savākts 40,5 % no iepriekšējos trijos gados Latvijā tirgū laisto iekārtu vidējā svara;
40.2. no 2021. gada 15. augusta tiek savākti 65 % no iepriekšējos trijos gados Latvijā tirgū laisto iekārtu vidējā svara.
41. Ministru kabineta 2011. gada 22. novembra noteikumu Nr. 897 "Elektrisko un elektronisko iekārtu atkritumu apsaimniekošanas noteikumi" 23. un 24. punktā minētos ziņojumus iesniedz elektrisko un elektronisko iekārtu ražotāju reģistrā līdz 2015. gada 30. janvārim.
Informatīva atsauce uz Eiropas Savienības direktīvām
Noteikumos iekļautas tiesību normas, kas izriet no:
1) Eiropas Parlamenta un Padomes 2003. gada 27. janvāra Direktīvas 2002/96/EK par elektrisko un elektronisko iekārtu atkritumiem (EEIA);
2) Eiropas Parlamenta un Padomes 2012. gada 4. jūlija Direktīvas 2012/19/ES par elektrisko un elektronisko iekārtu atkritumiem (EEIA).
Ministru prezidente Laimdota Straujuma
Vides aizsardzības un
reģionālās attīstības ministrs Romāns Naudiņš
1.pielikums
Ministru kabineta
2014.gada 8.jūlija
noteikumiem Nr.388
Iekārtu kategorijas līdz 2018.gada 15.augustam
|
Nr. |
Elektrisko un elektronisko iekārtu kategorija |
Elektrisko un elektronisko iekārtu kategorijā ietilpstošie elektrisko un elektronisko iekārtu veidi (indikatīvs saraksts) |
|
1. |
1. kategorija. Liela izmēra mājsaimniecības iekārtas | |
|
2. |
1.1. kategorija. Liela izmēra mājsaimniecības iekārtas (izņemot liela izmēra dzesēšanas iekārtas, saldētavas un ledusskapjus) | 1.1.1. citas liela izmēra iekārtas, ko
izmanto ēdiena, pārtikas pagatavošanai un pārtikas apstrādei; 1.1.2. veļas mazgāšanas mašīnas; 1.1.3. drēbju žāvētavas; 1.1.4. trauku mazgāšanas mašīnas; 1.1.5. kulinārās apstrādes aprīkojums; 1.1.6. elektriskās krāsnis; 1.1.7. elektriskās plītiņas, elektriskie šķīvju sildītāji; 1.1.8. mikroviļņu krāsnis; 1.1.9. elektriskās sildīšanas ierīces; 1.1.10. elektriskie radiatori; 1.1.11. citas liela izmēra iekārtas telpu, gultu un sēdēšanai paredzētu mēbeļu apsildīšanai; 1.1.12. elektriskie ventilatori; 1.1.13. gaisa kondicionēšanas iekārtas; 1.1.14. citas ventilācijas, izplūdes ventilācijas un kondicionēšanas iekārtas |
|
3. |
1.2. kategorija. Liela izmēra dzesēšanas iekārtas, saldētavas un ledusskapji | 1.2.1. liela izmēra dzesēšanas ierīces; 1.2.2. ledusskapji; 1.2.3. saldētavas; 1.2.4. citas liela izmēra iekārtas, ko izmanto pārtikas dzesēšanai, saglabāšanai un glabāšanai |
|
4. |
2. kategorija. Maza izmēra mājsaimniecības iekārtas | 2.1. putekļu sūcēji; 2.2. elektriskās sukas; 2.3. citas tīrīšanas iekārtas; 2.4. ierīces, ko izmanto šūšanai, adīšanai, aušanai un citādai tekstilmateriālu apstrādei; 2.5. gludekļi un citas iekārtas gludināšanai, rullēšanai un citādai apģērbu kopšanai; 2.6. tosteri; 2.7. cepšanas ierīces; 2.8. dzirnaviņas, kafijas automāti un ierīces trauku vai iepakojuma atvēršanai vai noslēgšanai; 2.9. elektriskie naži; 2.10. matu griešanas, žāvēšanas, zobu tīrīšanas, skūšanās, masāžas un citas ķermeņa kopšanas ierīces; 2.11. pulksteņi, rokas pulksteņi un iekārtas laika mērīšanai, rādīšanai vai reģistrēšanai; 2.12. svari |
|
5. |
3. kategorija. Informācijas tehnoloģiju un elektrosakaru iekārtas | |
|
6. |
3.1. kategorija. Informācijas tehnoloģiju un elektrosakaru iekārtas (izņemot mobilos telefonus un monitorus) | 3.1.1. iekārtas centralizētai datu
apstrādei: 3.1.1.1. centrālie procesori; 3.1.1.2. minidatori; 3.1.1.3. printeri; 3.1.2. personālā datortehnika: 3.1.2.1. personālie datori (arī centrālais procesors, pele un tastatūra); 3.1.2.2. klēpja datori (arī centrālais procesors, pele un tastatūra); 3.1.2.3. piezīmjdatori; 3.1.2.4. plaukstdatori; 3.1.2.5. printeri; 3.1.2.6. kopēšanas iekārtas; 3.1.2.7. elektriskās un elektroniskās rakstāmmašīnas; 3.1.2.8. kabatas un galda elektroniskās skaitļošanas mašīnas (kalkulatori); 3.1.2.9. citas iekārtas informācijas vākšanai, glabāšanai, apstrādei, noformēšanai vai pārraidīšanai elektroniskā veidā; 3.1.3. lietotāju termināliekārtas un sistēmas; 3.1.4. faksimili; 3.1.5. teleksi; 3.1.6. telefoni; 3.1.7. telefona automāti; 3.1.8. bezvada telefoni; 3.1.9. automātisko atbildētāju sistēmas; 3.1.10. citas iekārtas skaņas, attēlu vai citas informācijas pārraidīšanai ar elektrosakaru starpniecību |
|
7. |
3.2. kategorija. Mobilie telefoni | 3.2.1. mobilie telefoni |
|
8. |
3.3. kategorija. Monitori | 3.3.1. monitori |
|
9. |
4. kategorija. Plaša patēriņa audiovizuālās iekārtas un fotoelementu paneļi | |
|
10. |
4.1. kategorija. Plašam patēriņam paredzētas iekārtas (izņemot televizorus) | 4.1.1. radioaparāti; 4.1.2. videokameras; 4.1.3. videomagnetofoni; 4.1.4. augstas precizitātes magnetofoni; 4.1.5. audiopastiprinātāji; 4.1.6. mūzikas instrumenti; 4.1.7. citas preces vai iekārtas skaņas vai attēlu, arī signālu ierakstīšanai vai atskaņošanai vai citas skaņu un attēlu izplatīšanas tehnoloģijas, izņemot elektrosakarus |
|
11. |
4.2. kategorija. Televizori | 4.2.1. televizori |
|
12. |
4.3. kategorija. Fotoelementu paneļi | 4.3.1. fotoelementu paneļi |
|
13. |
5. kategorija. Apgaismes iekārtas | |
|
14. |
5.1. kategorija. Apgaismes iekārtas (izņemot gāzizlādes spuldzes) | 5.1.1. dienasgaismas spuldžu gaismekļi,
izņemot mājsaimniecību gaismekļus; 5.1.2. cits apgaismojums vai iekārtas apgaismošanai vai gaismas kontrolei, tai skaitā gaismu emitējošās diožu spuldzes (LED), izņemot kvēlspuldzes |
|
15. |
5.2. kategorija. Gāzizlādes spuldzes | 5.2.1. taisnās dienasgaismas spuldzes; 5.2.2. kompaktās dienasgaismas spuldzes; 5.2.3. augstas intensitātes gāzizlādes spuldzes, arī augstspiediena nātrija spuldzes un metālu halīdu spuldzes; 5.2.4. zema spiediena nātrija spuldzes |
|
16. |
6. kategorija. Elektriskie un elektronikas instrumenti (izņemot liela izmēra stacionārus ražošanas mehānismus, kas nav pārnēsājami vai ir pastāvīgi piestiprināti) | 6.1. urbji; 6.2. zāģi; 6.3. šujmašīnas; 6.4. virpošanas, frēzēšanas, noslīpēšanas, slīpēšanas, zāģēšanas, griešanas, lokšņu griešanas, urbšanas, caurumošanas, štancēšanas, ielocīšanas, liekšanas vai tamlīdzīgas koka, metāla un citu materiālu apstrādes iekārtas; 6.5. kniedēšanas, naglošanas vai skrūvēšanas instrumenti vai kniežu, naglu, skrūvju izņemšanas instrumenti un tiem līdzīgi instrumenti; 6.6. metināšanas, lodēšanas instrumenti vai tiem līdzīgi instrumenti; 6.7. šķidrumu vai gāzveida vielu izsmidzināšanas, izplatīšanas, izkliedēšanas iekārtas vai cita veida apstrādes iekārtas; 6.8. pļaušanas vai citi dārza darba rīki |
|
17. |
7. kategorija. Rotaļlietas, atpūtas un sporta piederumi | 7.1. elektriskie vilcieni vai sacīkšu
automašīnu komplekti; 7.2. rokas videospēļu pultis; 7.3. videospēles; 7.4. datori braukšanai ar velosipēdu, skriešanai, airēšanai u. c.; 7.5. sporta piederumi ar elektriskām vai elektroniskām detaļām; 7.6. naudas un žetonu elektroniskie azartspēļu automāti |
|
18. |
8. kategorija. Medicīniskās ierīces (izņemot visas implantētās un inficētās medicīniskās ierīces) | 8.1. medicīniskās terapeitiskās
rentgenstaru ierīces; 8.2. medicīniskās ierīces, ko lieto kardioloģijā; 8.3. hemodialīzes ierīces; 8.4. mākslīgās plaušu ventilācijas ierīces; 8.5. medicīniskās ierīces, ko lieto kodolmedicīnā; 8.6. laboratorijas ierīces, ko lieto in vitro diagnostikā; 8.7. medicīnas laboratoriju analizatori; 8.8. saldējamās ierīces; 8.9. testi grūtniecības noteikšanai; 8.10. citas ierīces, ko lieto slimību, traumu vai nespējas diagnostikai, profilaksei, novērošanai, ārstēšanai, atvieglošanai |
|
19. |
9. kategorija. Monitoringa un kontroles instrumenti | 9.1. dūmu detektori; 9.2. siltumregulatori; 9.3. termostati; 9.4. mērīšanas, svēršanas vai regulēšanas/koriģēšanas ierīces mājsaimniecībām vai laboratorijām; 9.5. citi monitoringa un kontroles instrumenti, ko izmanto rūpnieciskās iekārtās (piemēram, kontrolpaneļos) |
|
20. |
10. kategorija. Tirdzniecības automāti | 10.1. karsto dzērienu tirdzniecības
automāti; 10.2. karsto vai auksto dzērienu pudeļu vai kārbu tirdzniecības automāti; 10.3. cietu produktu tirdzniecības automāti; 10.4. bankas automāti; bankomāti; 10.5. visas ierīces, kas automātiski izsniedz jebkura veida preces |
Vides aizsardzības un
reģionālās attīstības ministrs Romāns Naudiņš
2.pielikums
Ministru kabineta
2014.gada 8.jūlija
noteikumiem Nr.388
Iekārtu kategorijas no 2018. gada 15. augusta
|
Nr. |
Elektrisko un elektronisko iekārtu kategorija |
Elektrisko un elektronisko iekārtu kategorijā ietilpstošie elektrisko un elektronisko iekārtu veidi (indikatīvs saraksts) |
|
1. |
1. kategorija. Temperatūras maiņas iekārtas | 1.1. ledusskapji; 1.2. saldētavas; 1.3. iekārtas, kas automātiski izsniedz aukstus produktus; 1.4. gaisa kondicionēšanas iekārtas; 1.5. mitruma aizvadīšanas iekārtas; 1.6. siltumsūkņi; 1.7. radiatori, kas satur eļļu; 1.8. citas temperatūras maiņas iekārtas, kas temperatūras maiņai izmanto citus šķidrumus, nevis ūdeni |
|
2. |
2. kategorija. Ekrāni, monitori un iekārtas ar ekrānu, kura virsmas laukums ir lielāks nekā 100 cm2 | 2.1. ekrāni; 2.2. televizori; 2.3. šķidro kristālu displeja (LCD) fotorāmji; 2.4. monitori; 2.5. klēpjdatori; 2.6. piezīmjdatori |
|
3. |
3. kategorija. Spuldzes | 3.1. taisnās dienasgaismas spuldzes; 3.2. kompaktas dienasgaismas spuldzes; 3.3. dienasgaismas spuldzes; 3.4. augstas intensitātes gāzizlādes spuldzes (tai skaitā augstspiediena nātrija spuldzes un metālu halogenīdu spuldzes); 3.5. zema spiediena nātrija spuldzes; 3.6. gaismu emitējošās diožu spuldzes (LED) |
|
4. |
4. kategorija. Liela izmēra iekārtas (visi ārējie izmēri pārsniedz 50 cm), tai skaitā mājsaimniecības preces, IT un telesakaru iekārtas, patērētāju iekārtas, gaismekļi, skaņas vai attēlus demonstrējošas iekārtas, mūzikas ierīces, elektriski un elektroniski instrumenti, rotaļlietas, izklaides un sporta aprīkojums; medicīnas ierīces, monitoringa un kontroles instrumenti, tirdzniecības automāti, ierīces elektriskās strāvas ražošanai un citas iekārtas (izņemot šā pielikuma 1., 2. un 3. kategorijā ietilpstošās iekārtas) | 4.1. veļas mazgājamās mašīnas; 4.2. veļas žāvētāji; 4.3. trauku mazgājamās mašīnas; 4.4. kulinārās apstrādes aprīkojums; 4.5. elektriskās krāsnis; 4.6. elektriskās plītiņas; 4.7. gaismekļi; 4.8. skaņas vai attēlus demonstrējošas iekārtas; 4.9. mūzikas ierīces (izņemot baznīcās uzstādītas ērģeles); 4.10. ierīces, ko izmanto adīšanai un aušanai; 4.11. lieli lieldatori/centrālie procesori; 4.12. lielas poligrāfijas mašīnas; 4.13. kopēšanas iekārtas; 4.14. lieli naudas un žetonu elektroniskie azartspēļu automāti; 4.15. lielas medicīnas ierīces; 4.16. lieli monitoringa un kontroles instrumenti; 4.17. lielas iekārtas, kas automātiski izsniedz preces un naudu; 4.18. fotoelementu paneļi |
|
5. |
5. kategorija. Maza izmēra iekārtas (neviens ārējais izmērs nepārsniedz 50 cm), tai skaitā mājsaimniecības preces, plaša patēriņa audiovizuālas iekārtas, gaismekļi, skaņas vai attēlus demonstrējošas iekārtas, mūzikas ierīces, elektriski un elektroniski instrumenti, rotaļlietas, izklaides un sporta aprīkojums; medicīnas ierīces, monitoringa un kontroles instrumenti, automātiskie sadalītāji; ierīces elektriskās strāvas ražošanai un citas iekārtas (izņemot šā pielikuma 1., 2., 3. un 6. kategorijā ietilpstošās iekārtas) | 5.1. putekļu sūcēji; 5.2. elektriskās sukas; 5.3. ierīces, ko izmanto šūšanai; 5.4. gaismekļi; 5.5. mikroviļņu krāsnis; 5.6. ventilācijas aprīkojums; 5.7. gludekļi; 5.8. grauzdēšanas ierīces; 5.9. elektriskie naži; 5.10. elektriskās tējkannas; 5.11. pulksteņi un rokas pulksteņi; 5.12. elektriskas skūšanās ierīces; 5.13. svari; 5.14. ierīces matu un ķermeņa kopšanai; 5.15. kalkulatori; 5.16. radioaparāti; 5.17. videokameras; 5.18. videomagnetofoni; 5.19. augstas precizitātes (hi-fi) iekārtas; 5.20. mūzikas instrumenti; 5.21. skaņas vai attēlus demonstrējošas iekārtas; 5.22. elektriskas un elektroniskas rotaļlietas; 5.23. sporta aprīkojums; 5.24. datori braukšanai ar velosipēdu, skriešanai, airēšanai u. c.; 5.25. dūmu detektori; 5.26. siltumregulatori; 5.27. termostati; 5.28. mazi elektriskie un elektronikas instrumenti; 5.29. mazas medicīnas ierīces; 5.30. mazi monitoringa un kontroles instrumenti; 5.31. mazas iekārtas, kas automātiski izsniedz preces; 5.32. mazas ierīces, kurās iestrādāti fotoelementu paneļi |
|
6. |
6. kategorija. Mazas informācijas tehnoloģiju un telekomunikāciju iekārtas (neviens ārējais izmērs nepārsniedz 50 cm) | 6.1. mobilie telefoni; 6.2. globālās pozīcijas noteikšanas sistēmu iekārtas; 6.3. maršrutētāji; 6.4. personālie datori; 6.5. printeri; 6.6. telefoni |
Vides aizsardzības un
reģionālās attīstības ministrs Romāns Naudiņš
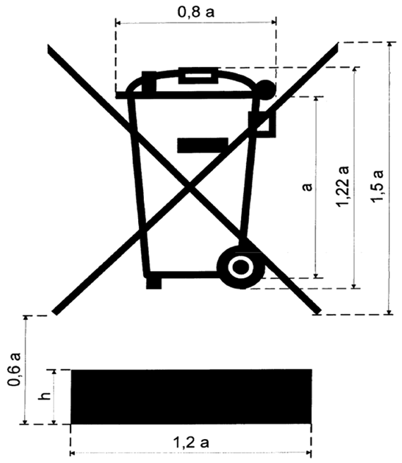
3.pielikums
Ministru kabineta
2014.gada 8.jūlija
noteikumiem Nr.388
Elektrisko un elektronisko iekārtu marķējuma simbols
Apzīmējumi:
a – augstums
h – platums
Vides aizsardzības un
reģionālās attīstības ministrs Romāns Naudiņš
4.pielikums
Ministru kabineta
2014.gada 8.jūlija
noteikumiem Nr.388
Atkārtotai izmantošanai sagatavoto, pārstrādāto un reģenerēto iekārtu atkritumu apjomi
I. Apjomi, kādos iekārtu atkritumus sagatavo atkārtotai izmantošanai, pārstrādā un reģenerē līdz 2015. gada 14. augstam
|
Nr. |
Iekārtu kategorija atbilstoši Ministru kabineta 2014. gada 8. jūlija noteikumu Nr. 388 "Elektrisko un elektronisko iekārtu kategorijas un marķēšanas prasības un šo iekārtu atkritumu apsaimniekošanas prasības un kārtība" (turpmāk – noteikumi) 1. pielikumam |
Atkārtotai izmantošanai sagatavoto un pārstrādāto iekārtu atkritumu apjoms (%) |
Reģenerēto iekārtu atkritumu apjoms (%) |
|
1. |
1. kategorija. Liela izmēra mājsaimniecības iekārtas |
75 |
80 |
|
2. |
1.1. kategorija. Liela izmēra mājsaimniecības iekārtas (izņemot liela izmēra dzesēšanas iekārtas, saldētavas un ledusskapjus) |
75 |
80 |
|
3. |
1.2. kategorija. Liela izmēra dzesēšanas iekārtas, saldētavas un ledusskapji |
75 |
80 |
|
4. |
2. kategorija. Maza izmēra mājsaimniecības iekārtas |
50 |
70 |
|
5. |
3. kategorija. Informācijas tehnoloģiju un elektrosakaru iekārtas |
70 |
75 |
|
6. |
3.1. kategorija. Informācijas tehnoloģiju un elektrosakaru iekārtas (izņemot mobilos telefonus un monitorus) |
70 |
75 |
|
7. |
3.2. kategorija. Mobilie telefoni |
70 |
75 |
|
8. |
3.3. kategorija. Monitori |
70 |
75 |
|
9. |
4. kategorija. Patērētāju iekārtas |
65 |
75 |
|
10. |
4.1. kategorija. Plašam patēriņam paredzētas iekārtas (izņemot televizorus) |
65 |
75 |
|
11. |
4.2. kategorija. Televizori |
65 |
75 |
|
12. |
5. kategorija. Apgaismes iekārtas | ||
|
13. |
5.1. kategorija. Apgaismes iekārtas (izņemot gāzizlādes spuldzes) |
50 |
70 |
|
14. |
5.2. kategorija. Gāzizlādes spuldzes |
80 |
− |
|
15. |
6. kategorija. Elektriskie un elektronikas instrumenti (izņemot liela izmēra stacionārus ražošanas mehānismus, kas nav pārnēsājami vai ir pastāvīgi piestiprināti) |
50 |
70 |
|
16. |
7. kategorija. Rotaļlietas, atpūtas un sporta piederumi |
50 |
70 |
|
17. |
8. kategorija. Medicīniskās ierīces (izņemot visas implantētās un inficētās medicīniskās ierīces) |
50 |
70 |
|
18. |
9. kategorija. Monitoringa un kontroles instrumenti |
50 |
70 |
|
19. |
10. kategorija. Tirdzniecības automāti |
75 |
80 |
II. Apjomi, kādos iekārtu atkritumus sagatavo atkārtotai izmantošanai, pārstrādā un reģenerē, no 2015. gada 15. augsta līdz 2018. gada 14. augustam
|
Nr. |
Iekārtu kategorija atbilstoši noteikumu 1. pielikumam |
Atkārtotai izmantošanai sagatavoto un pārstrādāto iekārtu atkritumu apjoms (%) |
Reģenerēto iekārtu atkritumu apjoms (%) |
|
1. |
1. kategorija. Liela izmēra mājsaimniecības iekārtas |
80 |
85 |
|
2. |
1.1. kategorija. Liela izmēra mājsaimniecības iekārtas (izņemot liela izmēra dzesēšanas iekārtas, saldētavas un ledusskapjus) |
80 |
85 |
|
3. |
1.2. kategorija. Liela izmēra dzesēšanas iekārtas, saldētavas un ledusskapji |
80 |
85 |
|
4. |
2. kategorija. Maza izmēra mājsaimniecības iekārtas |
55 |
75 |
|
5. |
3. kategorija. Informācijas tehnoloģiju un elektrosakaru iekārtas |
70 |
80 |
|
6. |
3.1. kategorija. Informācijas tehnoloģiju un elektrosakaru iekārtas (izņemot mobilos telefonus un monitorus) |
70 |
80 |
|
7. |
3.2. kategorija. Mobilie telefoni |
70 |
80 |
|
8. |
3.3. kategorija. Monitori |
70 |
80 |
|
9. |
4. kategorija. Patērētāju iekārtas |
70 |
80 |
|
10. |
4.1. kategorija. Plašam patēriņam paredzētas iekārtas (izņemot televizorus) |
70 |
80 |
|
11. |
4.2. kategorija. Televizori |
70 |
80 |
|
12. |
5. kategorija. Apgaismes iekārtas | ||
|
13. |
5.1. kategorija. Apgaismes iekārtas (izņemot gāzizlādes spuldzes) |
55 |
75 |
|
14. |
5.2. kategorija. Gāzizlādes spuldzes |
80 |
− |
|
15. |
6. kategorija. Elektriskie un elektronikas instrumenti (izņemot liela izmēra stacionārus ražošanas mehānismus, kas nav pārnēsājami vai ir pastāvīgi piestiprināti) |
55 |
75 |
|
16. |
7. kategorija. Rotaļlietas, atpūtas un sporta piederumi |
55 |
75 |
|
17. |
8. kategorija. Medicīniskās ierīces (izņemot visas implantētās un inficētās medicīniskās ierīces) |
55 |
75 |
|
18. |
9. kategorija. Monitoringa un kontroles instrumenti |
55 |
75 |
|
19. |
10. kategorija. Tirdzniecības automāti |
80 |
85 |
III. Apjomi, kādos iekārtu atkritumus sagatavo atkārtotai izmantošanai, pārstrādā un reģenerē, no 2018. gada 15. augusta
|
Nr. |
Iekārtu kategorija atbilstoši noteikumu 2. pielikumam |
Atkārtotai izmantošanai sagatavoto un pārstrādāto iekārtu atkritumu apjoms (%) |
Reģenerēto iekārtu atkritumu apjoms (%) |
|
1. |
1. kategorija. Temperatūras maiņas iekārtas |
80 |
85 |
|
2. |
2. kategorija. Ekrāni, monitori un iekārtas ar ekrānu, kura virsmas laukums ir lielāks nekā 100 cm2 |
70 |
80 |
|
3. |
3. kategorija. Spuldzes |
80 |
− |
|
4. |
4. kategorija. Liela izmēra iekārtas (visi ārējie izmēri pārsniedz 50 cm), tai skaitā mājsaimniecības preces, IT un telesakaru iekārtas, patērētāju iekārtas; gaismekļi, skaņas vai attēlus demonstrējošas iekārtas, mūzikas ierīces, elektriski un elektroniski instrumenti, rotaļlietas, izklaides un sporta aprīkojums; medicīnas ierīces; monitoringa un kontroles instrumenti, automātiskie sadalītāji, ierīces elektriskās strāvas ražošana un citas iekārtas (izņemot noteikumu 2. pielikuma 1., 2. un 3. kategorijā ietilpstošās iekārtas) |
80 |
85 |
|
5. |
5. kategorija. Maza izmēra iekārtas (neviens ārējais izmērs nepārsniedz 50 cm), tai skaitā mājsaimniecības preces, patērētāju iekārtas, gaismekļi, skaņas vai attēlus demonstrējošas iekārtas, mūzikas ierīces, elektriski un elektroniski instrumenti, rotaļlietas, izklaides un sporta aprīkojums, medicīnas ierīces, monitoringa un kontroles instrumenti, automātiskie sadalītāji, ierīces elektriskās strāvas ražošanai un citas iekārtas (izņemot noteikumu 2. pielikuma 1., 2., 3. un 6. kategorijā ietilpstošās iekārtas) |
55 |
75 |
|
6. |
6. kategorija. Mazas informācijas tehnoloģiju un telekomunikāciju iekārtas (neviens ārējais izmērs nepārsniedz 50 cm) |
55 |
75 |
Vides aizsardzības un
reģionālās attīstības ministrs Romāns Naudiņš
5.pielikums
Ministru kabineta
2014.gada 8.jūlija
noteikumiem Nr.388
Ziņojums par Latvijas tirgū laisto iekārtu daudzumu
Laikposms no __________. gada ______.______________________ līdz __________. gada ______.______________________.
1. Informācija par iekārtu ražotāju vai tā pilnvarotu pārstāvi (ja šo ziņojumu iesniedz iekārtu atkritumu apsaimniekotājs, šajā punktā minēto informāciju sniedz atsevišķi par katru iekārtu ražotāju vai tā pilnvarotu pārstāvi, ar kuru tam ir noslēgts līgums par iekārtu atkritumu apsaimniekošanu):
| 1.1. | firma |
| 1.2. | reģistrācijas numurs Uzņēmumu reģistrā |
| 1.3. | juridiskā adrese |
| 1.4. | reģistrācijas apliecinājuma numurs un datums iekārtu ražotāju reģistrā |
| 1.5. | informācija par ražotāju, kuru pārstāv pilnvarots pārstāvis: |
| 1.5.1. | firma |
| 1.5.2. | reģistrācijas numurs citas valsts komercsabiedrību reģistrā |
| 1.5.3. | juridiskā adrese |
2. Latvijas tirgū laistais iekārtu daudzums
|
Nr. |
Iekārtu kategorija atbilstoši Ministru kabineta 2014. gada 8. jūlija noteikumu Nr. 388 "Elektrisko un elektronisko iekārtu kategorijas un marķēšanas prasības un šo iekārtu atkritumu apsaimniekošanas prasības un kārtība" (turpmāk – noteikumi) 1. pielikumam |
Latvijas tirgū laisto iekārtu apjoms (kg) |
|
1. |
1. kategorija. Liela izmēra mājsaimniecības iekārtas1 | |
|
2. |
1.1. kategorija. Liela izmēra mājsaimniecības iekārtas (izņemot liela izmēra dzesēšanas iekārtas, saldētavas un ledusskapjus) | |
|
3. |
1.2. kategorija. Liela izmēra dzesēšanas iekārtas, saldētavas un ledusskapji | |
|
4. |
2. kategorija. Maza izmēra mājsaimniecības iekārtas | |
|
5. |
3. kategorija. Informācijas tehnoloģijas un elektrosakaru iekārtas2 | |
|
6. |
3.1. kategorija. Informācijas tehnoloģijas un elektrosakaru iekārtas (izņemot personālo datoru monitorus un mobilos telefonus) | |
|
7. |
3.2. kategorija. Monitori | |
|
8. |
3.3. kategorija. Mobilie telefoni | |
|
9. |
4. kategorija. Patērētāju iekārtas3 | |
|
10. |
4.1. kategorija. Patērētāju iekārtas (izņemot televizorus) | |
|
11. |
4.2. kategorija. Televizori | |
|
12. |
5.1. kategorija. Apgaismes iekārtas (izņemot gāzizlādes spuldzes) | |
|
13. |
5.2. kategorija. Apgaismes iekārtas (gāzizlādes spuldzes) | |
|
14. |
6. kategorija. Elektriskie un elektroniskie instrumenti (izņemot liela izmēra stacionāras iekārtas) | |
|
15. |
7. kategorija. Rotaļlietas, atpūtas un sporta iekārtas | |
|
16. |
8. kategorija. Medicīnas iekārtas (izņemot visas implantētās un inficētās iekārtas) | |
|
17. |
9. kategorija. Monitoringa un kontroles instrumenti | |
|
18. |
10. kategorija. Tirdzniecības automāti |
Apliecinu, ka ziņojumā norādītā informācija ir pilnīga un patiesa.
Datums4 _______________________
| Iekārtu ražotājs vai tā pārstāvis vai iekārtu atkritumu apsaimniekotājs vai tā pārstāvis:5 | |
| vārds, uzvārds | |
| personas kods | |
| amats vai pilnvaras numurs un izsniegšanas datums | |
| Paraksts4 | |
|
Z. v.4 |
Piezīmes.
1 Norāda datu summu par noteikumu 1. pielikuma 1.1. un 1.2. kategorijā
ietilpstošajām iekārtām.
2 Norāda datu summu par noteikumu 1. pielikuma 3.1., 3.2. un 3.3.
kategorijā ietilpstošajām iekārtām.
3 Norāda datu summu par noteikumu 1. pielikuma 4.1. un 4.2. kategorijā
ietilpstošajām iekārtām.
4 Dokumenta rekvizītus "datums", "paraksts" un "Z.v." neaizpilda, ja
elektroniskais dokuments ir sagatavots atbilstoši normatīvajiem aktiem par
elektronisko dokumentu noformēšanu.
5 Paraksta persona atbilstoši komercsabiedrības dibināšanas dokumentos
noteiktajām tiesībām pārstāvēt komercsabiedrību vai saskaņā ar attiecīgu
pilnvaru. Ziņojuma iesniedzējs uzrāda dokumentu, kas apliecina tā pārstāvības
tiesības vai attiecīgu pilnvarojumu.
Vides aizsardzības un
reģionālās attīstības ministrs Romāns Naudiņš
6.pielikums
Ministru kabineta
2014.gada 8.jūlija
noteikumiem Nr.388
Ziņojums par dalīti savākto iekārtu atkritumu daudzumu un par to iekārtu atkritumu daudzumu, kuri apstrādāti Latvijā vai izvesti apstrādei ārpus Latvijas, kā arī par atkārtotai izmantošanai sagatavoto, pārstrādāto un reģenerēto iekārtu atkritumu daudzumu
Laikposms no __________. gada ______.______________________ līdz __________. gada ______.______________________.
1. Informācija par iekārtu ražotāju vai tā pilnvarotu pārstāvi (ja šo ziņojumu iesniedz iekārtu atkritumu apsaimniekotājs, šajā punktā minēto informāciju sniedz atsevišķi par katru iekārtu ražotāju vai tā pilnvarotu pārstāvi, ar kuru tam ir noslēgts līgums par iekārtu atkritumu apsaimniekošanu):
| 1.1. | firma |
| 1.2. | reģistrācijas numurs Uzņēmumu reģistrā |
| 1.3. | juridiskā adrese |
| 1.4. | reģistrācijas apliecinājuma numurs un datums iekārtu ražotāju reģistrā |
| 1.5. | informācija par ražotāju, kuru pārstāv pilnvarots pārstāvis: |
| 1.5.1. | firma |
| 1.5.2. | reģistrācijas numurs citas valsts komercsabiedrību reģistrā |
| 1.5.3. | juridiskā adrese |
2. Ziņojums par dalīti savākto iekārtu atkritumu daudzumu un par to iekārtu atkritumu daudzumu, kuri apstrādāti Latvijā vai izvesti apstrādei ārpus Latvijas
|
Nr. |
Iekārtu kategorija atbilstoši Ministru kabineta 2014. gada 8. jūlija noteikumu Nr. 388 "Elektrisko un elektronisko iekārtu kategorijas un marķēšanas prasības un šo iekārtu atkritumu apsaimniekošanas prasības un kārtība" (turpmāk – noteikumi) 1. pielikumam |
Latvijas teritorijā dalīti savākto iekārtu atkritumu apjoms (kg) |
Apstrādāto iekārtu atkritumu apjoms (kg) |
|||||
|
Mājsaimniecības |
Citu (izņemot mājsaimniecības) |
Kopā4 |
Latvijā |
Citā Eiropas Savienības dalībvalstī |
Ārpus Eiropas Savienības |
Kopā5 |
||
|
1 |
2 |
3 |
4 |
5 |
6 |
7 |
8 |
9 |
|
1. |
1. kategorija. Liela izmēra mājsaimniecības iekārtas1 | |||||||
|
2. |
1.1. kategorija. Liela izmēra mājsaimniecības iekārtas (izņemot liela izmēra dzesēšanas iekārtas, saldētavas un ledusskapjus) | |||||||
|
3. |
1.2. kategorija. Liela izmēra dzesēšanas iekārtas, saldētavas un ledusskapji | |||||||
|
4. |
2. kategorija. Maza izmēra mājsaimniecības iekārtas | |||||||
|
5. |
3. kategorija. Informācijas tehnoloģijas un elektrosakaru iekārtas2 | |||||||
|
6. |
3.1. kategorija. Informācijas tehnoloģijas un elektrosakaru iekārtas (izņemot personālo datoru monitorus un mobilos telefonus) | |||||||
|
7. |
3.2. kategorija. Monitori | |||||||
|
8. |
3.3. kategorija. Mobilie telefoni | |||||||
|
9. |
4. kategorija. Patērētāju iekārtas3 | |||||||
|
10. |
4.1. kategorija. Patērētāju iekārtas (izņemot televizorus) | |||||||
|
11. |
4.2. kategorija. Televizori | |||||||
|
12. |
5.1. kategorija. Apgaismes iekārtas (izņemot gāzizlādes spuldzes) | |||||||
|
13. |
5.2. kategorija. Apgaismes iekārtas (gāzizlādes spuldzes) | |||||||
|
14. |
6. kategorija. Elektriskie un elektroniskie instrumenti (izņemot liela izmēra stacionāras iekārtas) | |||||||
|
15. |
7. kategorija. Rotaļlietas, atpūtas un sporta iekārtas | |||||||
|
16. |
8. kategorija. Medicīnas iekārtas (izņemot visas implantētās un inficētās iekārtas) | |||||||
|
17. |
9. kategorija. Monitoringa un kontroles instrumenti | |||||||
|
18. |
10. kategorija. Tirdzniecības automāti | |||||||
3. Ziņojums par atkārtotai izmantošanai sagatavoto, pārstrādāto un reģenerēto iekārtu atkritumu daudzumu
|
Nr. |
Elektrisko un elektronisko iekārtu veids |
Pārstrādāto un atkārtoti izmantoto iekārtu atkritumu apjoms (kg) |
Reģenerēto iekārtu atkritumu apjoms (kg) |
|||||||
|
Latvijā |
Citā Eiropas Savienības dalībvalstī |
Ārpus Eiropas Savienības |
Nedalītu ierīču veidā atkārtoti izmantotie atkritumi9 |
Kopā10 |
Latvijā |
Citā Eiropas Savienības dalībvalstī |
Ārpus Eiropas Savienības |
Kopā11 |
||
|
1 |
2 |
3 |
4 |
5 |
6 |
7 |
8 |
9 |
10 |
11 |
|
1. |
1. kategorija. Liela izmēra mājsaimniecības iekārtas6 | |||||||||
|
2. |
1.1. kategorija. Liela izmēra mājsaimniecības iekārtas (izņemot liela izmēra dzesēšanas iekārtas, saldētavas un ledusskapjus) | |||||||||
|
3. |
1.2. kategorija. Liela izmēra dzesēšanas iekārtas, saldētavas un ledusskapji | |||||||||
|
4. |
2. kategorija. Maza izmēra mājsaimniecības iekārtas | |||||||||
|
5. |
3. kategorija. Informācijas tehnoloģiju un elektrosakaru iekārtas7 | |||||||||
|
6. |
3.1. kategorija. Informācijas tehnoloģijas un elektrosakaru iekārtas (izņemot personālo datoru monitorus un mobilos telefonus) | |||||||||
|
7. |
3.2. kategorija. Personālo datoru monitori | |||||||||
|
8. |
3.3. kategorija. Mobilie telefoni | |||||||||
|
9. |
4. kategorija. Patērētāju iekārtas8 | |||||||||
|
10. |
4.1. kategorija. Patērētāju iekārtas (izņemot televizorus) | |||||||||
|
11. |
4.2. kategorija. Televizori | |||||||||
|
12. |
5.1. kategorija. Apgaismes iekārtas (izņemot gāzizlādes spuldzes) | |||||||||
|
13. |
5.2. kategorija. Apgaismes iekārtas (gāzizlādes spuldzes) | |||||||||
|
14. |
6. kategorija. Elektriskie un elektroniskie instrumenti (izņemot liela izmēra stacionāras iekārtas) | |||||||||
|
15. |
7. kategorija. Rotaļlietas, atpūtas un sporta iekārtas | |||||||||
|
16. |
8. kategorija. Medicīnas iekārtas (izņemot visas implantētās un inficētās iekārtas)9 | |||||||||
|
17. |
9. kategorija. Monitoringa un kontroles instrumenti | |||||||||
|
18. |
10. kategorija. Tirdzniecības automāti | |||||||||
Apliecinu, ka ziņojumā norādītā informācija ir pilnīga un patiesa.
Datums12 _______________________
| Iekārtu ražotājs vai tā pārstāvis vai iekārtu atkritumu apsaimniekotājs vai tā pārstāvis:13 | |
| vārds, uzvārds | |
| personas kods | |
| amats vai pilnvaras numurs un izsniegšanas datums | |
| Paraksts12 | |
|
Z. v.12 |
Piezīmes.
1 Norāda datu summu par noteikumu 1. pielikuma 1.1. un 1.2. kategorijā
ietilpstošajām iekārtām un to atkritumiem.
2 Norāda datu summu par noteikumu 1. pielikuma 3.1., 3.2. un 3.3.
kategorijā ietilpstošajām iekārtām un to atkritumiem.
3 Norāda datu summu par noteikumu 1. pielikuma 4.1. un 4.2. kategorijā
ietilpstošajām iekārtām un to atkritumiem.
4 3. un 4. ailē norādīto datu summa attiecīgajai iekārtu un to
atkritumu kategorijai atbilstoši noteikumu 1. pielikumam.
5 6., 7. un 8. ailē norādīto datu summa attiecīgajai iekārtu un to
atkritumu kategorijai atbilstoši noteikumu 1. pielikumam.
6 Norāda datu summu par noteikumu 1. pielikuma 1.1. un 1.2. kategorijā
ietilpstošajām iekārtām un to atkritumiem.
7 Norāda datu summu par noteikumu 1. pielikuma 3.1., 3.2. un 3.3.
kategorijā ietilpstošajām iekārtām un to atkritumiem.
8 Norāda datu summu par noteikumu 1. pielikuma 4.1. un 4.2. kategorijā
ietilpstošajām iekārtām un to atkritumiem.
9 Minēto informāciju iesniedz, ja tāda ir pieejama.
10 3., 4. un 5. ailē norādīto datu summa attiecīgajai iekārtu un to
atkritumu kategorijai atbilstoši noteikumu 1. pielikumam.
11 8., 9. un 10. ailē norādīto datu summa attiecīgajai iekārtu un to
atkritumu kategorijai atbilstoši noteikumu 1. pielikumam.
12 Dokumenta rekvizītus "datums", "paraksts" un "Z. v." neaizpilda, ja
elektroniskais dokuments ir sagatavots atbilstoši normatīvajiem aktiem par
elektronisko dokumentu noformēšanu.
13 Paraksta persona atbilstoši komercsabiedrības dibināšanas dokumentos
noteiktajām tiesībām pārstāvēt komercsabiedrību vai saskaņā ar attiecīgu
pilnvaru. Ziņojuma iesniedzējs uzrāda dokumentu, kas apliecina tā pārstāvības
tiesības vai attiecīgu pilnvarojumu.
Vides aizsardzības un
reģionālās attīstības ministrs Romāns Naudiņš
7.pielikums
Ministru kabineta
2014.gada 8.jūlija
noteikumiem Nr.388
Ziņojums par Eiropas Savienības dalībvalstu tirgos laisto iekārtu daudzumu
Laikposms no __________. gada ______.______________________ līdz __________. gada ______.______________________.
1. Informācija par iekārtu ražotāju un tā pilnvarotu pārstāvi (ja šo ziņojumu iesniedz iekārtu atkritumu apsaimniekotājs, šajā punktā minēto informāciju sniedz atsevišķi par katru iekārtu ražotāju vai tā pilnvarotu pārstāvi, ar kuru tam ir noslēgts līgums par iekārtu atkritumu apsaimniekošanu):
| 1.1. | firma |
| 1.2. | reģistrācijas numurs Uzņēmumu reģistrā |
| 1.3. | juridiskā adrese |
| 1.4. | reģistrācijas apliecinājuma numurs un datums iekārtu ražotāju reģistrā |
| 1.5. | informācija par pilnvaroto pārstāvi, kas pārstāv ražotāju citā Eiropas Savienības dalībvalstī: |
| 1.5.1. | firma |
| 1.5.2. | reģistrācijas numurs citas valsts komercsabiedrību reģistrā |
| 1.5.3. | juridiskā adrese |
| 2. Informācija par laisto iekārtu daudzumu | tirgū: | |
|
(Eiropas Savienības dalībvalsts nosaukums) |
|
Nr. |
Elektrisko un elektronisko iekārtu veids |
Kopējais svars (kilogrami) |
|
1. |
1. kategorija. Liela izmēra mājsaimniecības iekārtas1 | |
|
2. |
1.1. kategorija. Liela izmēra mājsaimniecības iekārtas (izņemot liela izmēra dzesēšanas iekārtas, saldētavas un ledusskapjus) | |
|
3. |
1.2. kategorija. Liela izmēra dzesēšanas iekārtas, saldētavas un ledusskapji | |
|
4. |
2. kategorija. Maza izmēra mājsaimniecības iekārtas | |
|
5. |
3. kategorija. Informācijas tehnoloģiju un elektrosakaru iekārtas2 | |
|
6. |
3.1. kategorija. Informācijas tehnoloģiju un elektrosakaru iekārtas (izņemot personālo datoru monitorus un mobilos telefonus) | |
|
7. |
3.2. kategorija. Personālo datoru monitori | |
|
8. |
3.3. kategorija. Mobilie telefoni | |
|
9. |
4. kategorija. Patērētāju iekārtas3 | |
|
10. |
4.1. kategorija. Patērētāju iekārtas (izņemot televizorus) | |
|
11. |
4.2. kategorija. Televizori | |
|
12. |
5.1. kategorija. Apgaismes iekārtas (izņemot gāzizlādes spuldzes) | |
|
13. |
5.2. kategorija. Apgaismes iekārtas (gāzizlādes spuldzes) | |
|
14. |
6. kategorija. Elektriskie un elektroniskie instrumenti (izņemot liela izmēra stacionāras iekārtas) | |
|
15. |
7. kategorija. Rotaļlietas, atpūtas un sporta iekārtas | |
|
16. |
8. kategorija. Medicīnas iekārtas (izņemot visas implantētās un inficētās iekārtas)4 | |
|
17. |
9. kategorija. Monitoringa un kontroles instrumenti | |
|
18. |
10. kategorija. Tirdzniecības automāti |
Apliecinu, ka ziņojumā norādītā informācija ir pilnīga un patiesa.
Datums5 _______________________
| Iekārtu ražotājs vai tā pārstāvis vai iekārtu atkritumu apsaimniekotājs vai tā pārstāvis:6 | |
| vārds, uzvārds | |
| personas kods | |
| amats vai pilnvaras numurs un izsniegšanas datums | |
| Paraksts5 | |
|
Z. v.5 |
Piezīmes.
1 Norāda datu summu par Ministru kabineta 2014. gada 8. jūlija
noteikumu Nr. 388 "Elektrisko un elektronisko iekārtu kategorijas un marķēšanas
prasības un šo iekārtu atkritumu apsaimniekošanas prasības un kārtība" (turpmāk
– noteikumi) 1. pielikuma 1.1. un 1.2. kategorijā ietilpstošajām iekārtām.
2 Norāda datu summu par noteikumu 1. pielikuma 3.1., 3.2. un 3.3. kategorijā ietilpstošajām iekārtām.
3 Norāda datu summu par noteikumu 1. pielikuma 4.1. un 4.2. kategorijā ietilpstošajām iekārtām.
4 Minēto informāciju norāda, ja tā ir pieejama.
5 Dokumenta rekvizītus "datums", "paraksts" un "Z. v." neaizpilda, ja
elektroniskais dokuments ir sagatavots atbilstoši normatīvajiem aktiem par elektronisko dokumentu noformēšanu.
6 Paraksta persona atbilstoši komercsabiedrības dibināšanas dokumentos
noteiktajām tiesībām pārstāvēt komercsabiedrību vai saskaņā ar attiecīgu
pilnvaru. Ziņojuma iesniedzējs uzrāda dokumentu, kas apliecina tā pārstāvības tiesības vai attiecīgu pilnvarojumu.
Vides aizsardzības un
reģionālās attīstības ministrs Romāns Naudiņš